Уроки 26-27. Алгоритмическая конструкция «ветвление». Полная форма ветвления. Неполная форма ветвления
Планируемые образовательные результаты:
предметные – представление об алгоритмической конструкции «ветвление»;
умение исполнять алгоритм с ветвлением для формального исполнителя с заданной
системой команд; умение составлять простые (короткие) алгоритмы с ветвлением
для формального исполнителя с заданной системой команд;
метапредметные – умение выделять алгоритмы с ветвлением в
различных процессах; понимание ограниченности возможностей
линейных алгоритмов;
личностные – алгоритмическое мышление, необходимое для
профессиональной деятельности в современном обществе.
Решаемые учебные задачи:
74
1) обобщить представления об алгоритмической конструкции «ветвление»;
2) получить навыки записи составных условий;
3) получить навыки выполнения алгоритмов с ветвлениями для различных формальных исполнителей;
4) получить навыки разработки алгоритмов с ветвлениями для различных формальных исполнителей с заданной системой команд.
Основные понятия, рассматриваемые на уроке:
![]()
алгоритм;
ветвление;
![]()
разветвляющийся алгоритм;
блок-схема;
![]()
операции сравнения;
простые условия;
![]()
составные условия.
Используемые на уроке средства ИКТ:
персональный компьютер (ПК) учителя, мультимедийный
проектор, экран;
ПК учащихся.
Электронные образовательные ресурсы
презентация «Основные
алгоритмические конструкции. Ветвление» из электронного приложения к учебнику;
программа "Конструктор алгоритмов"(sc.edu.ru);
![]()
модуль для коллективной работы «Алгоритмы с ветвящейся структурой» (sc.edu.ru).
Особенности изложения содержания темы урока
По ходу изложения нового материала решается множество задач в
рабочей тетради или из учебника.
модуль для
коллективной работы «Линейные алгоритмы» (sc.edu.ru).
Особенности изложения содержания темы урока
По ходу изложения нового материала решается множество задач в
рабочей тетради или из учебника.
Практическая работа по составлению блок-схем алгоритмов на компьютере может быть организована на основе программы «Конструктор алгоритмов».
Ответы и решения к заданиям в РТ
№ 134. а)
|
|
А |
В |
Условие А div В = В |
75
|
Шаг 1 |
|
25 |
4 |
|
|
Шаг 2 |
|
|
|
нет |
|
Шаг 3 |
|
1 |
|
|
|
Шаг 4 |
|
1 |
|
|
|
Шаг 1 |
|
25 |
5 |
|
|
Шаг 2 |
|
|
|
да |
|
Шаг 3 |
|
5 |
|
|
|
Шаг 4 |
|
5 |
|
|
|
б) |
|
|
|
|
|
|
|
А |
В |
Условие А div В = В |
|
Шаг 1 |
|
7 |
3 |
|
|
Шаг 2 |
|
|
|
нет |
|
Шаг 3 |
|
21 |
|
|
|
Шаг 4 |
|
21 |
|
|
|
Шаг 1 |
|
12 |
4 |
|
|
Шаг 2 |
|
|
|
да |
|
Шаг 3 |
|
3 |
|
|
|
Шаг 4 |
|
3 |
|
|
|
№ 135. а) |
|
|
|
|

б)

в)
76

№ 136.
y := a
если b > y
то y := b
все
если c > y
то y := c
все
если d > y
то y := d
все
№ 137.

Начало
х
|
Да |
x mod 2 = 0 |
Нет |
|
|
|
|
|
|
|
|
|
|
|
|
x = x *x |
|
x = x*x*x |
|
|
|
|
|
|

Конец
77
№ 138. Воспользуемся условием существования треугольника: треугольник существует, если сумма длин любых двух его сторон больше длины третьей стороны.

|
|
|
|
|
Начало |
|
|
|
|
|
|
|
a, b, c |
|
|
|
|
|
|
Да |
a+b>c |
Нет |
|
|
|
|
|
|
|
||
|
|
|
|
|
|
|
|
|
|
|
Да |
a+c>b |
Нет |
|
|
|
|
|
|
|
|
||
|
|
|
|
|
|
|
|
|
|
Да |
b+c>a |
Нет |
|
|
|
|
|
|
|
|
|
||
|
|
|
|
|
|
|
|
|
Да |
|
|
|
|
Нет |
|
Конец
№ 139. Проверим, является ли треугольник равнобедренным.

|
|
Начало |
|
|
|
|
|
|
a, b, c |
|
|
|
|
|
Да |
a=b |
Нет |
|
|
|
|
|
|
|
|
|
|
|
|
Да |
a=c |
Нет |
|
|
|
|
|
|
|
|
|
|
|
|
Да |
b=c |
Нет |
|
|
|
|
|
|
|
|
|
Да |
|
|
|
Нет |
|
Конец
Алгоритм проверки, является ли треугольник равносторонним представлен ниже:
78
Начало
a, b, c
|
|
|
Да |
|
|
|
|
a=b |
|
|
Да |
a=c |
Нет |
|
|
|
|
||
|
|
|
|
Да
Конец
№ 140.

k:=0
Да
a mod 2 = 0
k:=k+1
Да
b mod 2 = 0
k:=k+1
Да
c mod 2 = 0
k:=k+1
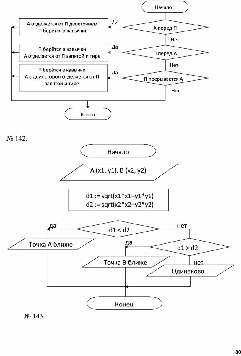
№ 141. Пусть А – слова автора, П – прямая речь.
Нет
Нет
Нет
Нет
Нет
79
|
|
Начало |
|
|
А отделяется от П двоеточием |
Да |
|
|
А перед П |
|
|
|
П берётся в кавычки |
|
|
|
|
|
|
|
|
Нет |
|
|
П берётся в кавычки |
Да |
|
|
П перед А |
|
|
|
А отделяется от П запятой и тире |
|
|
|
|
|
|
|
П берётся в кавычки |
Нет |
|
|
Да |
|
|
|
А с двух сторон отделяется от П |
|
|
|
П прерывается А |
|
|
|
запятой и тире |
|
|
|
|
|
|
|
|
Нет |
|
|
Конец |
|
|
|
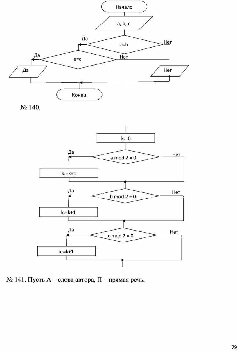
№ 142. |
|
|

![]()
Начало
![]()
А (x1, y1), В (x2, y2)
|
|
|
d1 := sqrt(x1*x1+y1*y1) |
|
|
|
|
|
d2 := sqrt(x2*x2+y2*y2) |
|
|
|
|
|
|
|
|
|
да |
d1 < d2 |
нет |
|
|
|
|
|
|
|
|
|
Точка А ближе |
да |
d1 > d2 |
|
|
|
|
|
|||
|
|
|
|
|
|
|
|
|
Точка В ближе |
нет |
|
|
|
|
|
Одинаково |
|

Конец
№ 143.
80
Начало
![]()
х
![]() |
A = x mod 10
B = (x – A) mod 10
C = x div 100

|
да |
A = B или B = C или A = C |
|
|
|
|
нет
Есть Нет
Конец
Ответы и решения к заданиям в учебнике.
№ 18.

|
|
|
|
Начало |
|
|
|
|
|
|
a, b, x |
|
|
|
|
|
Да |
x>=a |
Нет |
|
|
|
|
|
|
||
|
|
|
|
|
|
|
|
|
Да |
x<=b |
Нет |
|
|
|
|
|
|
|
||
|
|
|
|
|
|
|
|
Да |
|
|
|
Нет |
|
Конец
№19. Опечатка. Имеется в виду алгоритм правописания приставок, заканчивающихся на букву «з»: приставки без-, воз- (вз-), из-, низ-, раз-, чрез-(через-) пишутся с буквой «з» перед гласными и звонкими согласными (б, в, г, д, ж, з, л, м, н, р) и с буквой «с» перед глухими согласными (к, п, с, т, ф, х, ц, ч, ш, щ).
81
|
|
Начало |
|
|
|
Да |
После приставки идёт |
Нет |
|
|
|
|
|
|
|
|
глухая согласная |
|
|
|
С |
|
З |
|

Конец
№ 20.
chislo:= chislo mod 7
если chislo=3 то y:=’понедельник’
если chislo=4 то y:=’вторник’
если chislo=5 то y:=’среда’
если chislo=6 то y:=’четверг’
если chislo=0 то y:=’пятница’
если chislo=1 то y:=’суббота’
если chislo=2 то y:=’воскресенье’
Домашнее задание. §3.4.2; вопросы и задания 10–22 к параграфу. Дополнительное задание: работа с модулем «Алгоритмы с ветвящейся структурой».
Материалы на данной страницы взяты из открытых источников либо размещены пользователем в соответствии с договором-офертой сайта. Вы можете сообщить о нарушении.