Урок 30. Алгоритмическая конструкция
«повторение». Цикл с заданным числом повторений
Планируемые образовательные результаты:
предметные – представления
об алгоритмической конструкции «цикл», о цикле с заданным числом повторений;
умение исполнять циклический алгоритм для формального исполнителя с заданной
системой команд; умение составлять простые (короткие) циклические алгоритмы для
формального исполнителя с заданной системой команд;
метапредметные – умение выделять циклические алгоритмы в
различных процессах;
личностные – алгоритмическое мышление, необходимое для
профессиональной деятельности в современном обществе.
Решаемые учебные задачи:
1) расширить представления об алгоритмической конструкции «цикл»;
2) получить навыки записи циклов с заданным с заданным числом повторений;
3) получить навыки выполнения циклов с заданным числом повторений для различных формальных исполнителей;
4) получить навыки разработки циклов с заданным числом повторений для различных формальных исполнителей с заданной системой команд.
Основные понятия, рассматриваемые на уроке:
![]()
алгоритм;
![]()
повторение;
циклический алгоритм (цикл);
![]()
тело цикла.
Используемые на уроке средства ИКТ:
персональный компьютер (ПК) учителя, мультимедийный
проектор, экран;
ПК учащихся.
Электронные образовательные ресурсы
презентация «Основные алгоритмические конструкции. Повторение» из
электронного приложения к учебнику; программа "Конструктор
алгоритмов"(sc.edu.ru);
![]()
модуль для коллективной работы «Циклические алгоритмы с параметром» (sc.edu.ru).
Особенности изложения содержания темы урока
По ходу изложения нового материала решается множество задач в
рабочей тетради или из учебника.
Практическая работа по составлению блок-схем алгоритмов на компьютере может быть организована на основе программы «Конструктор алгоритмов».
Ответы и решения к заданиям в РТ
№155.
96
Начало
Взять ведро и кружку
Цикл по i от 1
до 5 с шагом 1
Наполнить кружку
Вылить воду из кружки в
|
Конец |
|
|
|
|
|
|
|
|
|
|
|
№ 156. |
|
|
|
|
|
|
|
|
|
|
|
алг суммирование |
№ |
i |
s |
Вывод |
|
|
||||
|
нач |
1 |
|
- |
|
0 |
|
|
|
|
|
|
s :=0 |
2 |
|
1 |
|
1 |
|
|
|
|
|
|
нц для i от 1 до 5 |
|
|
|
|
|
|
|
|
|
|
|
3 |
|
2 |
|
3 |
|
|
|
|
||
|
s := s + i |
|
|
|
|
|
|
|
|
|
|
|
4 |
|
3 |
|
6 |
|
|
|
|
||
|
кц |
|
|
|
|
|
|
|
|
|
|
|
5 |
|
4 |
|
10 |
|
|
|
|
||
|
вывод s |
|
|
|
|
|
|
|
|
|
|
|
6 |
|
5 |
|
15 |
|
|
|
|
||
|
кон |
|
|
|
|
|
|
|
|
|
|
|
7 |
|
|
|
|
|
15 |
|
|
||
|
№ 157. |
|
|
|
|
|
|
|
|
|
|
|
алг факториал |
№ |
i |
f |
Вывод |
|
|
||||
|
нач |
1 |
|
- |
|
1 |
|
|
|
|
|
|
f := 1 |
2 |
|
1 |
|
1 |
|
|
|
|
|
|
нц для i от 1 до 6 |
|
|
|
|
|
|
|
|
|
|
|
3 |
|
2 |
|
2 |
|
|
|
|
||
|
f := f * i |
|
|
|
|
|
|
|
|
|
|
|
4 |
|
3 |
|
6 |
|
|
|
|
||
|
кц |
|
|
|
|
|
|
|
|
|
|
|
5 |
|
4 |
|
24 |
|
|
|
|
||
|
вывод f |
|
|
|
|
|
|
|
|
|
|
|
6 |
|
5 |
|
120 |
|
|
|
|
||
|
кон |
|
|
|
|
|
|
|
|
|
|
|
7 |
|
6 |
|
720 |
|
|
|
|
||
|
|
|
8 |
|
|
|
|
|
720 |
|
|
|
№ 158. |
|
|
|
|
|
|
|
|
|
|
|
алг деление бактерии |
|
№ |
|
i |
|
f |
|
Вывод |
|
|
|
нач |
|
1 |
|
- |
|
1 |
|
|
|
|
|
f := 1 |
|
2 |
|
1 |
|
2 |
|
|
|
|
|
нц для i от 1 до 10 |
|
|
|
|
|
|
|
|
|
|
|
|
3 |
|
2 |
|
4 |
|
|
|
|
|
|
f := f * 2 |
|
|
|
|
|
|
|
|
|
|
|
|
|
|
|
|
|
|
97 |
|
||
|
|
|
|
|
|
|
|
|
|
||
|
кц |
4 |
3 |
8 |
|
вывод f |
5 |
4 |
16 |
|
кон |
6 |
5 |
32 |
|
|
7 |
6 |
64 |
|
|
8 |
7 |
128 |
|
|
9 |
8 |
256 |
|
|
10 |
9 |
512 |
|
|
11 |
10 |
1024 |
![]()
![]()
![]()
![]()
![]()
![]()
![]()
1024

Начало
|
|
|
|
Список данных |
|
|
|
|
|
|
|
|
|
|
|
f, i - цел |
|
|
|
|
|
|
|
|
|
|
|
|
|
|
|
|
|
|
|
|
|
|
|
|
|
|
|
|
|
|
|
|
|
|
|
f := 1 |
|
|
|
|
|
|
|
|
|
|
|
|
|
|
|
|
|
|
|
|
|
|
|
|
|
|
|
|
|
|
|
|
|
|
|
i := 1,10 |
|
|
|
|
|
||
|
|
|
|
|
|
|
|
|
|||
|
|
|
|
|
|
|
|
|
|
|
|
|
|
|
|
f := f*2 |
|
|
|
|
|
|
|
|
|
|
|
|
|
|
|
|
|
|
|
|
|
|
|
f |
|
|
|
|
|||
|
|
|
|
|
|
|
|
||||
|
|
|
|
Конец |
|
|
|
|
|||
|
№ 159. Желательно выполнять в среде КуМир. |
|
|
|
|
||||||
|
1) алг |
2) алг |
3) |
алг |
|
||||||
|
нач |
|
нач |
|
|
нач |
|
||||
|
нц 3 раза |
|
нц 3 раза |
|
|
нц 3 раза |
|
||||
|
вправо; закрасить |
|
вниз; закрасить |
|
|
вниз; закрасить |
|
||||
|
вниз; закрасить |
|
вправо; закрасить |
|
|
влево; закрасить |
|
||||
|
вниз; закрасить |
|
вниз; закрасить |
|
|
вниз; закрасить |
|
||||
|
кц |
|
влево; закрасить |
|
|
кц |
|
||||
|
кон |
|
кц |
|
|
кон |
|
||||
|
|
|
|
кон |
|
|
|
|
|||
|
|
|
|
|
|
|
|
|
|
98 |
|
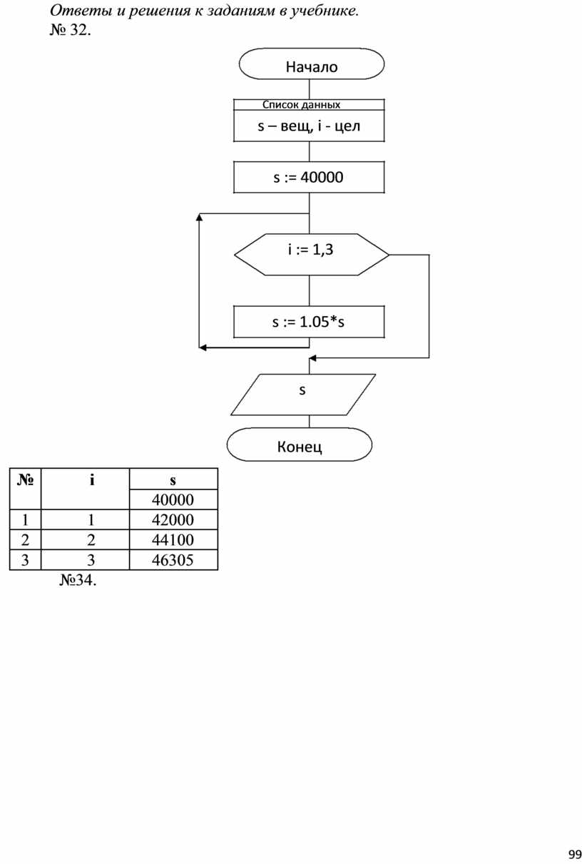
Ответы и решения к заданиям в учебнике.
№ 32.

Начало
Список данных
s – вещ, i - цел
s := 40000
i := 1,3
s := 1.05*s
s
Конец
|
№ |
i |
s |
|
|
|
40000 |
|
1 |
1 |
42000 |
|
2 |
2 |
44100 |
|
3 |
3 |
46305 |
|
|
№34. |
|
99
Начало
Список данных
n, k, i – цел; r[i] - вещ
r[i], i=1,n
k:=0
i := 1,10
Нет
r[i] > 170
Да
k := k+1
k
Конец
Домашнее задание. §3.4.3(3); задания 32–34 к параграфу. Дополнительное задание: работа с модулем «Циклические алгоритмы с параметром».
Материалы на данной страницы взяты из открытых источников либо размещены пользователем в соответствии с договором-офертой сайта. Вы можете сообщить о нарушении.