Урок 22.Чтение сборочных чертежей
Практическая работа № 18
Содержание урока
Практическая работа
Задания на чтение чертежей можно взять на рис. 244— 248 учебника (или в «Рабочей тетради»). Можно предложить задания из «Карточек-заданий» [8], оставив чертежи в учебнике для самостоятельного изучения или выделив для этого дополнительное время (например, еще один урок за счет резервного времени).
На рисунках 244—248 приведены сборочные чертежи пяти различных изделий, а на рисунке 249 — наглядные изображения шести изделий. Некоторые из них даны на рисунках 244—248, но не все. Определите, на каких наглядных изображениях, обозначенных буквами, представлены именно те изделия, которые содержатся и на сборочных чертежах. Запишите в рабочей тетради, на каком из наглядных изображений какое изделие представлено. Форма записи: «На наглядном изображении А вычерчено...» (название изделия взять со сборочного чертежа).
Не забудьте, что не ко всем сборочным чертежам даны наглядные изображения.
Прочитайте сборочные чертежи, указанные учителем на рисунках 244—248, придерживаясь последовательности, данной в 35. На вопросы (в том числе дополнительные) ответьте письменно.
Дополнительные вопросы к сборочным чертежам

Рис. 244. Чертеж для чтения
К рисунку 244
Почему не заштрихована деталь 37
Почему деталь 2 заштрихована крест-накрест?

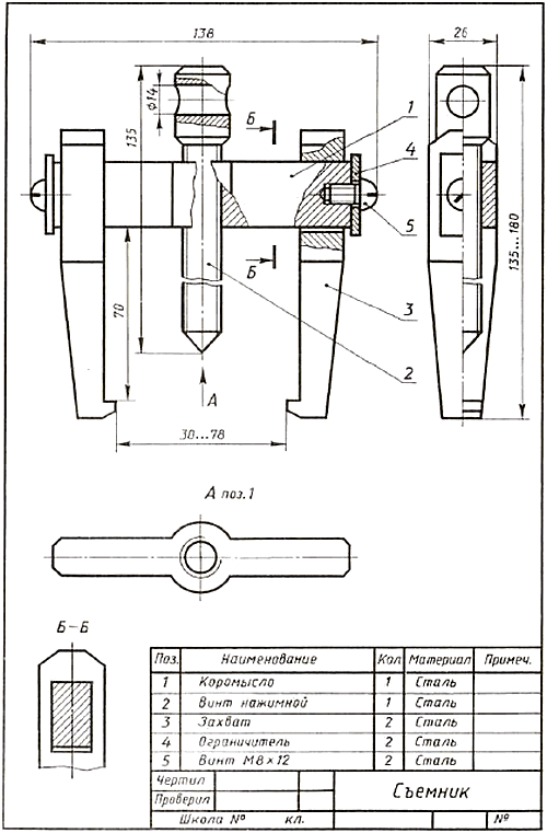
Рис. 245. Чертеж для чтения
К рисунку 245
Изображение Б— Б является разрезом или сечением?
Для чего оно дано?

Рис. 246. Чертеж для чтения
К рисунку 246
Зачем выполнен разрез А — А?
Какова форма детали 5?

Рис. 247. Чертеж для чтения
К рисунку 247
Почему деталь 3 заштрихована крест-накрест?
Почему штриховка деталей 1 и 2 имеет разное направление?

Рис. 248. Чертеж для чтения
К рисунку 248
Какой линией изображена обрабатываемая деталь?
Почему специальный винт (дет. 3) на разрезе А —А не заштрихован, а на разрезе Б — Б заштрихован?
Выполните технические рисунки одной-двух деталей, предложенных учителем. Выполнить работу вам поможет соответствующее наглядное изображение.

Рис. 249 Задание для упражнений
Назначение и устройство сборочных единиц, входящих в практическую работу № 19.
К дверному полотну ручку (рис. 244) крепят с помощью шурупов, для которых на основании (дет. 1) предусмотрены отверстия. Состоит ручка из основания и рукоятки, соединенных с помощью винта (дет. 3).
Съемник (рис. 245) — приспособление для съемки шкивов, подшипников и других деталей с валов.
Основные детали съемника: коромысло (дет. 1), на которое надеты захваты (дет. 3) и нажимной винт (дет. 2). Предотвращает соскальзывание захвата с коромысла ограничитель (дет. 4), закрепленный винтами (дет. 5).
Задание на дом
Завершение графической работы, если ученики не успели ее доделать.
Материалы на данной страницы взяты из открытых источников либо размещены пользователем в соответствии с договором-офертой сайта. Вы можете сообщить о нарушении.