Конспект урока
на тему: Устройство КШМ
Если есть что-то, что прочно ассоциируется с любым автомобилем, это кривошипно-шатунный механизм двигателя. Как ни странно, принцип его действия мало изменился с тех пор, как 120 лет назад Карл Бенц запатентовал свой первый автомобиль. Система усложнялась, обрастала сложной электроникой, совершенствовалась, но кривошипно-шатунный механизм (КШМ) остался самым узнаваемым “портретом” любого мотора.
Двигатель в процессе работы должен давать какое-то постоянное движение, и удобней всего, чтобы это было равномерное вращение. Однако силовая часть (цилиндро-поршневая группа, ЦПГ) вырабатывает поступательное движение. Значит, нужно сделать так, чтобы один тип движения преобразовался в другой, причем с наименьшими потерями. Вот для этого и был создан кривошипно-шатунный механизм.
По сути, КШМ – это устройство для получения и преобразования энергии и передачи ее дальше, другим узлам, которые уже эту энергию используют.
Кривошипно-шатунный механизм воспринимает давление расширяющихся газов при такте "сгорание — расширение" и преобразовывает прямолинейное, возвратно-поступательное движение поршня во вращательное движение коленчатого вала.
2. Устройство КШМ
Кривошипно-шатунный механизм состоит из:
• блока цилиндров с картером;
• головки цилиндров;
• гильзы цилиндров;
• поршней с кольцами;
• поршневых пальцев;
• шатунов;
• коленчатого вала;
• маховика;
• поддона картера.
Блок цилиндров

отливают заодно с картером. И он является базисной деталью двигателя, к которой крепятся кривошипно-шатунный, газораспределительный механизмы и все навесные приборы и агрегаты двигателя.
Изготовляют его из серого чугуна, реже из алюминиевого сплава силумина. В отливке блок-картера выполнены полости для смывания охлаждающей жидкостью стенок гильз цилиндров. Сами же гильзы могут быть вставными, изготовленными из жаростойкой стали или же отлитыми заодно с чугунным блок-картером. Блоки из алюминиевых сплавов изготовляются только со вставными гильзами. Внутренняя поверхность гильз служит направляющей для перемещения поршня, она тщательно шлифуется и называется зеркалом. Уплотнение гильз осуществляется с помощью колец из специальной резины или меди. Вверху уплотнение гильз достигается за счет прокладки головки цилиндров. Увеличение срока службы гильз цилиндров достигается в результате запрессовки в верхнюю их часть, как работающую в наиболее тяжелых условиях (высокая температура и агрессивная газовая среда), коротких тонкостенных вставок из кислотоупорного чугуна. Этим достигается снижение износа верхней части гильзы в четыре раза.
Снизу картер двигателя закрыт поддоном, отштампованным из листовой стали, уплотненным прокладкой из картона или пробковой крошки. Поддон используется в качестве резервуара для моторного масла и служит защитой картера от попадания грязи и пыли.
Головка цилиндров


закрывает цилиндры сверху. На ней размещены детали газораспределительного механизма, камеры сгорания, выполнены отверстия под свечи или форсунки, запрессованы направляющие втулки и седла клапанов. Для охлаждения камер сгорания в головке вокруг них выполнена специальная полость.
Для создания герметичности плоскость разъема между головками и блоком цилиндров уплотнена стальными или сталеасбестовыми прокладками, а крепление осуществляется шпильками с гайками.
Головки отлиты из алюминиевого сплава (АЛ-4) или чугуна. Сверху они накрыты клапанной крышкой из штампованной стали или алюминиевого сплава, уплотненной пробковой или маслобензостойкой резиновой прокладкой.
Гильзы цилиндров.

Детали КШМ, выступающие в качестве полости для осуществления рабочего цикла. Играют роль направляющих для перемещения поршня. Относятся к категории мокрых деталей. Выпускаются из особых марок чугуна, имеют толстые стенки и перлитную структуру. Внутренняя часть (зеркало цилиндра) проходит закаливание высокочастотным током и шлифуется с показателем микрошероховатости от 0.2 до 0.5 мкм.
Внешняя поверхность гильзы отличается наличием двух поясов, позволяющих зафиксировать деталь в расточках блока цилиндров. На нижнем поясе расположены канавки с сечением в виде прямоугольника. Внутри размещаются уплотнительные кольца из эластомеров. Это исключает просачивание антифриза из охладительной рубашки внутрь блок-картера ДВС.
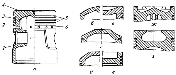
Поршень

Рис. Конструкции
поршней с различной формой днища (а—з) и их элементов:
1 — бобышка; 2 — стенка поршня; 3 — ребро; 4 —
днище поршня; 5 — канавки для компрессионных колец; 6 — дренажное отверстие для
отвода масла
воспринимает давление расширяющихся газов при рабочем такте и передает его через поршневой палец и шатун на коленчатый вал двигателя. Представляет собой перевернутый днищем вверх цилиндрический стакан, отлитый из высококремнистого алюминиевого сплава. Поршень имеет днище, уплотняющую и направляющую (юбку) части. Днище и уплотняющая часть составляют головку поршня, в которой проточены канавки для поршневых колец. Днище поршня с головкой цилиндров формируют камеру сгорания и работают в крайне тяжелых температурных условиях из-за недостаточного охлаждения.
Ниже головки выполнена юбка, направляющая движение поршня. В юбке поршня имеются бобышки с отверстиями под поршневой палец.
Конструкция поршня должна исключать его заклинивание при тепловом расширении работающего двигателя. С этой целью головку поршня выполняют меньшего диаметра, чем юбку.
Поршневые кольца устанавливаются двух типов: компрессионные и маслосъемные. Компрессионные кольца

служат для уплотнения поршня в гильзе цилиндра и предотвращения прорыва газов из камеры сгорания в картер двигателя.
Маслосъемные кольца

служат для снятия излишков масла с зеркала цилиндра и не допускают его попадания в камеру сгорания.
Отличаются прямоугольной формой. Внутри размещены пазы, через которые протекает масло, удаляемое с вертикальных поверхностей цилиндров.
Поршневые кольца изготовляются из белого чугуна, а маслосъемные могут быть выполнены из стали. Для повышения износостойкости верхнее компрессионное кольцо подвергается пористому хромированию, а остальные для ускорения приработки покрыты слоем олова или молибдена.
Кольца имеют разрез (замок) для установки на поршень. Количество компрессионных колец, устанавливаемых на поршнях, может быть неодинаково для различных моделей двигателей, обычно два или три кольца. Маслосъемные кольца устанавливаются по одному на поршень.
Поршневой палец

плавающего типа обеспечивает шарнирное соединение поршня с шатуном и удерживается от осевого смещения в бобышках поршня стопорными кольцами. Палец имеет форму пустотелого цилиндра, изготовлен из хромоникелевой стали. Поверхность его упрочнена цементацией и закалена токами высокой частоты.
Шатун

Рис. Детали шатунной группы:
1 — верхняя головка шатуна; 2 — стержень; 3 —
нижняя головка шатуна; 4 — крышка нижней головки; 5 — вкладыши; 6 — втулка; 7 —
шатун дизеля; S — основной шатун сочлененного шатунного узла
служит для соединения поршня с коленчатым валом двигателя и для передачи при рабочем ходе давления расширяющихся газов от поршня к коленчатому валу. Во время вспомогательных тактов от коленчатого вала через шатун приводится в действие поршень.
Шатун состоит из верхней неразъемной головки с запрессованной втулкой из оловянистой бронзы и разъемной нижней головки, в которую вставлены тонкостенные стальные вкладыши, залитые слоем антифрикционного сплава. Головки шатуна соединяются стержнем двутаврового сечения. Нижняя разъемная головка шатуна с помощью крышки закрепляется на шатунной шейке коленчатого вала. Шатун и его крышки изготовлены из легированной или углеродистой стали.
Нижняя головка шатуна и крышка соединяются болтами и шпильками со специальными стопорными шайбами.
Вкладыши нижней головки шатуна выполнены из стальной или сталеалюминиевой ленты, покрытой антифрикционным слоем.
Коленчатый вал

Рис. Коленчатый вал:
1 — носок; 2 — шатунная шейка; 3 — коренная
шейка; 4 — щека; 5 — противовес; 6 — хвостовик с фланцем
воспринимает усилия, передаваемые шатунами от поршней, и преобразует их в крутящий момент, который через маховик передается агрегатам трансмиссии автомобиля.
Коленчатый вал состоит из шатунных и коренных шеек, соединенных щеками с противовесами, фланец необходим для крепления маховика. На переднем конце коленчатого вала (носок) имеются шпоночные пазы для закрепления распределительной шестерни и шкива привода вентилятора, а также отверстие для установки храповика пусковой рукоятки. Шатунная шейка со щеками образует кривошип (или колено) вала. Расположение кривошипов обеспечивает равномерное чередование рабочих ходов поршня в различных цилиндрах.
Коленчатые валы штампуют из стали или отливают из высокопрочного магниевого чугуна.
Продольное перемещение коленчатого вала при его тепловом расширении ограничивается упорными сталебаббитовыми шайбами, которые устанавливаются по обе стороны первого коренного подшипника или четырьмя сталеалюминиевыми полукольцами, установленными в вытачке задней коренной опоры вала.
Для предотвращения утечки масла на концах коленчатого вала устанавливаются маслоотражатели и сальники. Предусматриваются также маслосгонные спиральные канавки и маслоотражательный буртик.
Вкладыши коренных подшипников имеют такую же конструкцию, как и вкладыши шатунных подшипников.
Маховик

служит для уменьшения неравномерности работы двигателя, вывода поршней из мертвых точек, облегчения пуска двигателя и способствует плавному троганию автомобиля с места.
Маховик представляет собой массивный диск, отлитый из чугуна, на обод которого напрессован стальной зубчатый венец, предназначенный для вращения коленчатого вала стартером при пуске двигателя. Для исключения нарушения установочной балансировки маховик крепится болтами к фланцу коленчатого вала на несимметрично расположенных штифтах.
Поддон картера
является резервуаром для моторного масла и предохраняет картер двигателя от попадания пыли и грязи.
Поддон штампуют из листовой стали или отливают из алюминиевых сплавов. Для герметизации плоскости разъема между картером и поддоном устанавливают пробковые или маслобензостойкие прокладки. Поддон крепится болтами или шпильками.
3. Принцип работы КШМ
Работа механизма двигателя основана на энергии расширения при сгорании топливно-воздушной смеси. Именно эти “микровзрывы” являются движущей силой, которую кривошипно-шатунный механизм переводит в удобную форму.
1. В цилиндрах двигателя сгорает распыленное и смешанное с воздухом топливо. Такая дисперсия предполагает не медленное горение, а мгновенное, благодаря чему воздух в цилиндре резко расширяется.
2. Поршень, который в момент начала горения топлива находится в верхней точке, резко опускается вниз. Это прямолинейное движение поршня в цилиндре.
3. Шатун соединен с поршнем и колен. валом так, что может двигаться (отклоняться) в одной плоскости. Поршень толкает шатун, который надет на шейку колен. вала. Благодаря подвижному соединению, импульс от поршня через шатун передается на колен. вал по касательной, то есть вал делает поворот.
4. Поскольку все поршни по очереди толкают колен. вал по тому же принципу, их возвратно-поступательное движение переходит во вращение колен. вала.
5. Маховик добавляет импульс вращения, когда поршень находится в «мертвых» точках.
6. Интересно, что для старта двигателя нужно сначала раскрутить маховик. Для этой цели нужен стартер, который сцепляется с зубчатым венцом маховика и раскручивает его, пока мотор не заведется. Закон сохранения энергии в действии.
Остальные элементы двигателя: клапаны, распред. валы, толкатели, система охлаждения, система смазки, ГРМ и прочие – необходимые детали и узлы для обеспечения работы КШМ.
Материалы на данной страницы взяты из открытых источников либо размещены пользователем в соответствии с договором-офертой сайта. Вы можете сообщить о нарушении.