Бюджетное профессиональное образовательное учреждение Омской области
«Седельниковский агропромышленный техникум»
Лабораторная работа
«Коробки передач легковых автомобилей»
МДК 01.02 Устройство, техническое обслуживание и ремонт автомобилей
по профессии СПО 23.01.03 Автомеханик
Составил: Баранов Владимир Ильич мастер производственного обучения
Седельниково, Омской области, 2019-2020 учебный год
Министерство образования Омской области БПОУ «Седельниковский агропромышленный техникум»
Рекомендации разработаны в соответствии с Письмом Минобразования РФ от 05 апреля 1999 N 16-52-58 ин/16-13 "О рекомендациях по планированию, организации и проведению лабораторных работ и практических занятий в образовательных учреждениях среднего профессионального образования", требованиями ФГОС СПО, порядком организации и осуществления образовательной деятельности по образовательным программам среднего профессионального образования, утвержденным Министерством образования и науки Российской Федерации приказ № 464 от 14 июня 2013 года.
МДК 01.02 Устройство, техническое обслуживание и ремонт автомобилей
Тема: Трансмиссия.
Тема занятия: лабораторная работа «Коробки передач легковых автомобилей».
Время: 4 часа.
Цели работы: изучить устройство и работу коробок передач, синхронизаторов и механизмов управления; приобрести навыки в разборке и сборке коробок передач.
Задачи занятия:
Обучающие:
Формирование и усвоение приемов проведения разборочно-сборочных работ с изучением устройства и работы коробок передач, синхронизаторов и механизмов управления.
Формирование у студентов профессиональных навыков при выполнении разборочно-сборочных работ коробок передач, синхронизаторов и механизмов управления.
Развивающие:
Формирование у студентов умения оценивать свой уровень знаний и стремление его повышать, осуществлять поиск информации, необходимой для эффективного выполнения профессиональных задач;
Развитие навыков самостоятельной работы, внимания, координации движений, умения осуществлять текущий и итоговый контроль, оценку и коррекцию собственной деятельности, нести ответственность за результаты своей работы.
Воспитательные:
Воспитание у студентов аккуратности, трудолюбия, бережного отношения к оборудованию и инструментам, работать в коллективе и команде.
Понимание сущности и социальной значимости своей будущей профессии, пробуждение эмоционального интереса к выполнению работ.
Дидактические задачи:
Закрепить полученные знания, приемы, умения и навыки по выполнению разборочно-сборочных работ с изучением устройства и работы коробок передач, синхронизаторов и механизмов управления.
Требования к результатам усвоения учебного материала.
Студент в ходе освоения темы занятия и выполнения лабораторной работы должен:
иметь практический опыт:
- снятия и установки агрегатов и узлов автомобиля.
уметь:
- снимать и устанавливать агрегаты и узлы автомобиля.
знать:
- устройство и конструктивные особенности обслуживаемых автомобилей;
- назначение и взаимодействие основных узлов ремонтируемых автомобилей.
В ходе занятия у студентов формируются
Профессиональные компетенции:
ПК 1.3. Разбирать, собирать узлы и агрегаты автомобиля и устранять неисправности.
Общие компетенции:
ОК 1. Понимать
сущность и социальную значимость будущей профессии, проявлять к ней устойчивый
интерес.
ОК 3. Анализировать рабочую ситуацию, осуществлять текущий и итоговый контроль,
оценку и коррекцию собственной деятельности, нести ответственность за
результаты своей работы.
ОК 4. Осуществлять поиск информации, необходимой для эффективного выполнения профессиональных задач.
ОК 5. Использовать информационно-коммуникационные технологии в профессиональной деятельности.
ОК 6. Работать в команде, эффективно общаться с коллегами, руководством, клиентами.
Литература:
Ламака Ф.И. Лабораторно-практические работы по устройству грузовых автомобилей : учеб. пособие для нач. проф. образования /Ф.И.Ламака. — 8-е изд., стер. — М. : Издательский центр «Академия», 2013. — 224 с.
Кузнецов А.С. Техническое обслуживание и ремонт автомобилей: в 2 ч. – учебник для нач. проф. образования / А.С. Кузнецов. - М.: Издательский центр «Академия», 2012.
Кузнецов А.С. Слесарь по ремонту автомобилей (моторист): учеб.пособие для нач. проф. образования / А.С. Кузнецов. – 8-е изд., стер. – М.: Издательский центр «Академия», 2013.
Автомеханик / сост. А.А. Ханников. – 2-е изд. – Минск: Современная школа, 2010.
Виноградов В.М. Техническое обслуживание и ремонт автомобилей: Основные и вспомогательные технологические процессы: Лабораторный практикум: учеб.пособие для студ. учреждений сред. проф. образования / В.М. Виноградов, О.В. Храмцова. – 3-е изд., стер. – М.: Издательский центр «Академия», 2012.
Петросов В.В. Ремонт автомобилей и двигателей: Учебник для студ. Учреждений сред. Проф. Образования / В.В. Петросов. – М.: Издательский центр «Академия», 2005.
Карагодин В.И. Ремонт автомобилей и двигателей: Учебник для студ. Учреждений сред. Проф. Образования / В.И. Карагодин, Н.Н. Митрохин. – 3-е изд., стер. – М.: Издательский центр «Академия», 2005.
Коробейчик А.В. к-68 Ремонт автомобилей / Серия «Библиотека автомобилиста». Ростов н/Д: «Феникс», 2004.
Коробейчик А.В. К-66 Ремонт автомобилей. Практический курс / Серия «Библиотека автомобилиста». – Ростов н/Д: «Феникс», 2004.
Чумаченко Ю.Т., Рассанов Б.Б. Автомобильный практикум: Учебное пособие к выполнению лабораторно-практических работ. Изд. 2-е, доп. – Ростов н/Д: Феникс, 2003.
Жолобов Л.А., Конаков А.М. Ж-79 Устройство и техническое обслуживание автомобилей категорий «В» и «С» на примере ВАЗ-2110, ЗИЛ-5301 «Бычок». Серия «Библиотека автомобилиста». – Ростов-на-Дону: «Феникс», 2002.
Оборудование: коробки передач легковых автомобилей; стенды и приспособления для разборки и сборки коробок передач; съемники и выколотки, тиски; наборы рожковых, накидных и торцевых ключей.
Содержание работы: по плакатам и учебнику изучить устройство коробок передач легковых автомобилей, разобрать и собрать коробку передач, запомнить названия основных деталей.
Описание устройства. На автомобилях с передними ведущими мостами устанавливают двухвальные четырех- или пятиступенчатые коробки передач, объединенные в одном корпусе с главной передачей и дифференциалом.
Такие коробки устанавливаются на автомобилях Lada Kalina, Renault Logan, Ford Focus, Kia Rio, Lada Priora, Hhyundai Accent, семейства ВАЗ и др.
На автомобилях ВАЗ-2119,-2111,-2112, -2113,-2114,-2115, Lada Kalina, Ford Focus, Renault Logan, Kia Rio, Lada Priora, Hyundai Accent и некоторых других картер главной передачи объединен с картером коробки передач.
Четырехступенчатую двухвальную коробку передач устанавливают на автомобилях ВАЗ (рис. 1). Она состоит из картера 19, в котором на двух подшипниках установлен ведущий вал 18. Ведомый вал 17 установлен передним концом на роликоцилиндрическом, а задним — на шариковом подшипнике. На обоих валах имеются зубчатые колеса первой и четвертой передач. Все зубчатые колеса на ведомом валу установлены на игольчатых подшипниках и свободно на них вращаются. Для включения первой и второй передач имеется синхронизатор 13, а для включения третьей и четвертой передач — синхронизатор 15. Для включения заднего хода на муфте синхронизатора 13 имеется наружный зубчатый венец. На ведущем валу имеется зубчатое колесо заднего хода. Чтобы обеспечить движение автомобиля задним ходом, на отдельном валике установлено подвижное промежуточное зубчатое колесо, которое при зацеплении с зубчатым венцом синхронизатора 13 и зубчатым колесом заднего хода ведущего вала обеспечивает обратное вращение ведомого вала, и автомобиль начинает двигаться задним ходом.
|
10 Рис. 1. Коробка передач автомобиля ВАЗ: |
1 — подшипник выключения сцепления; 2 — направляющая втулка муфты подшипника выключения сцепления; 3 — маслосборник; 4 — ведущее зубчатое колесо привода спидометра; 5 — опорная шайба зубчатого колеса полуоси; 6 — зубчатое колесо полуоси; 7 — сателлит; 8 — ось сателлитов; 9 — коробка дифференциала; 10 — ведомое зубчатое колесо главной передачи; 11 — регулировочное кольцо; 12 — подшипник дифференциала; 13 — синхронизатор первой и второй передач; 14— упорное кольцо; 15 — синхронизатор третьей и четвертой передач; 16 —игольчатый подшипник зубчатого колеса ведомого вала; 17 — ведомый вал; 18 — ведущий вал; 19 — картер коробки передач; 20 — вилка выключения сцепления.
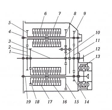
Коробки передач имеют специальный механизм переключения передач. Например, у автомобилей семейства ЗИЛ он находится в крышке картера коробки 1 (рис. 2).
В специальных гнездах установлен ползун 2 включения 1 передачи и заднего хода, ползун 9 включения передач IV и V и ползун 10 включения передач II и III. На ползунах закреплены болтами вилки, которые входят в зацепление с зубчатыми колесами вторичного вала и синхронизаторами. Вилки 13 и 14 включения передач II и III, а также передач IV и V венчаются головками с пазами.
|
Рис. 2. Механизм управления коробкой передач: |
1- крышка картера коробки передач; 2 — ползун включения I передачи и заднего хода; 3 — головка ползуна; 4 — пружина предохранителя включения заднего хода; 5 — промежуточный рычаг включения I передачи и заднего хода; 6 — рычаг переключения передач; 7 — корпус рычага переключения; 8— шарик фиксатора; 9 — ползун включения IV и V передач; 10 — ползун включения II и III передач; 11 — сапун для сообщения картера коробки передач с атмосферой; 12 — вилка включения I передачи и заднего хода; 13 — вилка включения II и III передач; 14 —вилка включения IV и V передач; 75 — штифт замка ползунов; 76 — шарик замка ползунов.
На ползуне передачи I и заднего хода, кроме вилки 12, закрепленной на заднем конце ползуна, установлена еще головка 3. В паз этой головки входит промежуточный рычаг 5 включения передач I и заднего хода. В пазы головок вилок и промежуточного рычага включения передач I и заднего хода входит нижний конец рычага 6 переключения передач, установленный в гнезде корпуса рычага 7 переключения передач. Шаровая опора рычага поддерживается конической пружиной. Передвигая рычаг из стороны в сторону, можно вводить его нижний конец в пазы головок и включать различные передачи.
При движении автомобиля особенно по плохим дорогам шестерни могут самопроизвольно выходить из зацепления с нужными шестернями. Чтобы этого не случилось, на ползунах делаются проточки, соответствующие полному зацеплению зубчатых колес, и в эти проточки с помощью пружин вдавливаются фиксирующие шарики 8. Они не допускают произвольного переключения передач и обеспечивают зацепление шестерен на всю длину зубьев.
Если водитель неправильно повернет рычаг переключения передач и его нижний конец войдет в пазы вилок сразу двух передач, может произойти включение двух передач, что приведет к поломке шестерен.
Решить проблему одновременного включения двух передач помогает установка замка, состоящего из штифта 15, вставленного в отверстие среднего ползуна, и двух пар шариков 16 замка. На ползунах сделаны углубления: на крайних — по одному со стороны среднего ползуна, а на среднем — с обеих сторон. Диаметры шариков и длина штифта подобраны так, что при перемещении одного ползуна они входят в углубления двух других и не позволяют им передвигаться и ввести в зацепление другие шестерни.
Для предотвращения случайного включения заднего хода при движении автомобиля вперед служит предохранитель от случайного включения заднего хода. Он состоит из промежуточного рычага 5 и упора с пружиной 4. Работа предохранителя основана на сопротивлении пружины. Передвигая рычаг, водитель чувствует сопротивление пружины, определяя включение передачи заднего хода или I передачи.
Механизм переключения передач на многих моделях легковых автомобилей незначительно отличается от описанного выше. Основное отличие в расположении штоков и головок вилок, а также в расположении фиксаторов. Замок вместо шариков может иметь стопорные плунжеры.
Дистанционный привод переключения передач имеют автомобили с передними ведущими колесами.
Рычаг переключения передач 16 (рис. 3) установлен на шаровой опоре 19. К рычагу с помощью пальца присоединена тяга привода переключения передач 15. К тяге с помощью шарнира присоединен шток 6 выбора передач. Он соединен, в свою очередь, с рычагом 5 штока выбора передач, установленным внутри картера сцепления 4. Рычаг 5 соединяется с рычагом 3 механизма выбора передач. Положение этого рычага фиксируется фиксатором 2.
Двигатель с помощью реактивной тяги 18 соединяется с втулкой 17 опоры рычага. Во втулке реактивная тяга перемещается свободно. Шаровая опора рычага 19 крепится к реактивной тяге 18, благодаря чему осевое перемещение двигателя не передается на механизм выбора передач.
Механизм выбора передач состоит из корпуса 7 (рис. 4), установленной на нем оси 1, на которой закреплен двуплечий рычаг 3 выбора передач, и фиксатора 2. Двуплечий рычаг с обеих сторон имеет пружины, которые устанавливают рычаг в положение передач IV и III. В корпусе 7 на оси 6 установлена вилка включения заднего хода 5. В гнездо вилки 5 входит поводок головки штока заднего хода.
У автомобилей Renault Logan, Lada Priora, BA3-2113,-2114,-2115, Lada Kalina, Nissan Pathinder и некоторых других усилие рычага на механизм выбора передач передается с помощью тяги, а у автомобилей Ford Focus, Hyundai Accent, Opel, Kia Rio — с помощью тросов, которые имеют специальную расцветку для удобства монтажа.
Для включения первой передачи муфту синхронизатора 13 вводят в зацепление с боковым зубчатым венцом зубчатого колеса первой передачи ведомого вала 17. Вращение передается с ведущего вала через зубчатые колеса постоянного зацепления на муфту синхронизатора 13 и через ступицу на ведомый вал.
При включении второй передачи муфту синхронизатора 13 включения первой и второй передач вводят в зацепление с боковым зубчатым венцом зубчатого колеса второй передачи ведомого вала. Вращение передается с ведущего вала через зубчатые коле са постоянного зацепления второй передачи и муфту синхронизатора 13 на ступицу синхронизатора, а затем на ведомый вал 17.
Третья передача включается муфтой синхронизатора 15, которая входит в зацепление с зубчатым колесом третьей передачи ведомого вала. Вращение зубчатого колеса третьей передачи ведущего вала 18 передается на зубчатое колесо третьей передачи ведомого вала, находящееся в постоянном зацеплении с ним, а затем на муфту синхронизатора 15 и через ступицу на ведомый вал.
|
Рис. 3. Дистанционный привод переключения передач: |
1
- картер коробки передач; 2
— фиксатор; 3 — рычаг
механизма выбора передач; 4 — картер сцепления; 5 — рычаг штока выбора
передач; 6 — шток выбора передач; 7 — втулка
штока; 8 — сальник штока; 9 — защитный
чехол; 10 — корпус шарнира; 11
— втулка шарнира; 12 — наконечник
шарнира; 13 — хомут; 14 —
защитный чехол тяги; 15 — тяга привода
переключения передач; 16 — рычаг
переключения передач; 17 — втулка
реактивной тяги; 18 — реактивная тяга; 19
— шаровая опора рычага переключения передач.
|
2
|
Рис. 4. Механизм выбора передач:
7 — ось рычага выбора передач; 2 — фиксатор рычага выбора передач; 3 — рычаг выбора передач; 4 —пластина рычага выбора передач; 5 — вилка включения заднего хода; 6 —ось вилки включения заднего хода; 7 — корпус механизма выбора передач
Четвертая передача повышающая. Имеет передаточное отношение 0,90. Включается четвертая передача муфтой синхронизатора 15. Зубчатые колеса четвертой передачи ведущего и ведомого валов находятся в постоянном зацеплении. На зубчатых колесах четвертой передачи ведомого вала имеется боковой зубчатый венец для зацепления с муфтой синхронизатора. Вращение с ведущего вала 18 через зубчатые колеса постоянного зацепления четвертой передачи передается на муфту синхронизатора, а затем через ступицу на ведомый вал.
Передача заднего хода включается промежуточным зубчатым колесом заднего хода, находящимся на отдельном валике. Для включения заднего хода его вводят в зацепление одновременно с наружным зубчатым венцом муфты синхронизатора 13 ведомого вала и зубчатым колесом заднего хода ведущего вала. Вращение с ведущего вала через зубчатое колесо заднего хода передается на промежуточное зубчатое колесо заднего хода, а с него на наружный зубчатый венец муфты синхронизатора 13 и через ступицу на ведомый вал.
На всех передачах вращение по ведомому валу передается на ведущее зубчатое колесо главной передачи ведомого вала, а затем на ведомое зубчатое колесо 10 главной передачи и через дифференциал на приводные валы колес.
Синхронизаторы коробок передач служат для выравнивания окружных скоростей валов, благодаря чему происходит бесшумное и безударное включение передач. Синхронизаторы могут иметь различные схемы, но принцип работы один.
Большинство синхронизаторов коробок передач состоит из ступицы 8 (рис. 5), которая установлена с помощью шлицов на ведомом вале. В ступице имеется три продольных паза 9, в которые устанавливаются стальные штампованные сухари 7. Под сухарями установлены плоские пружины 5. Усики пружин должны вставляться под один и тот же сухарь. На ступице 8 имеется наружный зубчатый венец, по которому скользит муфта 3, имеющая внутренний зубчатый венец. В средней части зубчатый венец имеет кольцевую проточку, в которую посредством плоских пружин 5 вдавливаются выступы сухарей 7. На муфте снаружи имеется кольцевая проточка для вилки механизма переключения передач. Сухари 7 в продольных пазах установлены с небольшим зазором и могут передвигаться вдоль ступицы 8. По обе стороны ступицы установлены бронзовые конусные блокирующие кольца 2, имеющие наружный зубчатый венец, который соответствует зубчатым венцам муфты синхронизатора и включаемым зубчатым колесам. Коническая внутренняя поверхность блокирующих колец имеет мелкую нарезку для быстрого удаления смазочного материала при работе синхронизатора. Блокирующие кольца имеют три выреза, в которые входят торцы сухарей. Ширина вырезов на блокирующих кольцах больше ширины сухарей примерно на ширину половины зуба. Торцы зубьев блокирующих колец и муфты скругленные.
Синхронизаторы коробок передач многих моделей легковых автомобилей имеют одинаковое устройство. Отличаются они только тем, что вместо сухарей с плоскими пружинами на них установлены шариковые фиксаторы, состоящие из сухаря и шарика с пружиной. Пружина прижимает шарики в кольцевую проточку внутри муфты. Принцип работы синхронизаторов одинаковый.

Рис. 5. Синхронизатор коробки передач:
а — продольный разрез; б — детали; 1 — зубчатое колесо ведущего вала; 2 — конусное блокирующее кольцо; 3 — муфта; 4 — вилка; 5 — пружина; 6— зубчатое колесо третьей передачи; 7 — сухарь; 8 — ступица; 9 —продольные пазы в ступице.
Порядок разборки коробки передач:
1) установить коробку передач на стенд, снять кронштейн для подвески силового агрегата;
2) отвернуть гайки, снять заднюю крышку картера коробки передач и уплотнительную прокладку;
3) снять установочные кольца с подшипников ведущего и ведомого валов;
4) вывернуть пробки и вынуть из гнезд пружины и шарики фиксаторов;
5) отвернуть гайки крепления картера коробки передач к картеру сцепления, снять картер со шпилек;
6) отвернув болты крепления вилок на штоках переключения передач, снять штоки и вилки;
7) вынуть ось и снять промежуточное зубчатое колесо заднего хода;
8) отвернуть болты крепления механизма выбора передач и снять его;
9) вынуть ведущий и ведомый валы из роликовых подшипников картера сцепления, затем снять дифференциал;
10) вывернуть рычаг выбора передач из штока и вынуть шток из картера сцепления;
11) для разборки ведомого вала зажать его в тисках с накладками из мягкого материала, расчеканить, а затем отвернуть гайку и универсальным съемником спрессовать шариковый подшипник с вала. Затем снять с ведомого вала ведомые зубчатые колеса четвертой, третьей, второй и первой передач и детали синхронизаторов.
Сборку коробки передач производят в обратном порядке, предварительно очистив и протерев все детали. Все детали также необходимо промыть и продуть сжатым воздухом.
Следует убедиться в исправности всех деталей, на них не должно быть трещин, сколов, а на поверхности расточек для подшипников — износов или повреждений.
Очистить сапун, указатель уровня масла, магнит от частиц металла.
Сильно изношенные детали подложат замене.
Гидромеханические передачи. При работе автомобиля, имеющего в трансмиссии сцепление и механическую коробку передач, приходится часто переключать передачи, особенно при работе в условиях интенсивного городского движения, что приводит к утомлению водителя.
Для устранения этих недостатков на автомобилях применяются гидромеханические передачи, благодаря которым движение автомобиля управляется педалью акселератора и, при необходимости, педалью тормоза.
Наличие гидротрансформатора упрощает управление автомобилем, обеспечивает его плавное трогание с места и плавный ход, повышает проходимость, уменьшает опасность буксования колес на скользких дорогах. Все это способствует снижению износа двигателя и механизмов трансмиссии.
Автоматические трансмиссии устанавливаются на многих легковых автомобилях, собираемых на автозаводах России по лицензиям зарубежных фирм, а именно Hyundai Santa Fe, Skoda Oktavia, Kia Rio, Nissan, Opel, Hyundai Accent и многих других. Из отечественных автомобилей с автоматическими трансмиссиями частично собираются автомобили ВАЗ-2110, -2112, Lada Granta. Предполагается серийное производство с автоматическими трансмиссиями автомобилей Lada Kalina и некоторых других. Выпускаются с автоматическими коробками передач отдельные серии автобусов.
Устройство и работа гидротрансформатора. Гидротрансформатор имеет три рабочих колеса с лопатками (рис. 6): вращающееся насосное 1 и турбинное 2, а также неподвижное колесо реактора 3. Лопатки на колесах выполнены криволинейными по специальной форме. Изнутри лопатки колес закрыты круглыми стенками, образующими внутри колес малую кольцевую полость круглого сечения небольшого диаметра (тор). Рядом расположенные колеса с лопатками образуют кольцевую замкнутую по окружности полость, в которой циркулирует залитая в гидротрансформатор рабочая жидкость — специальное масло.
Насосное колесо 1 соединено с корпусом (ротором) и через него с коленчатым валом двигателя. Турбинное колесо 2 связано через ведомый вал 4 с трансмиссией автомобиля. Колесо реактора (статора) 3 закреплено неподвижно на муфте свободного хода 6, соединенной с картером. Ротор гидротрансформатора с расположенными в нем рабочими колесами установлен на подшипниках внутри закрытого корпуса 8.
При работе двигателя насосное колесо 1, вращаясь вместе с коленчатым валом, своими лопатками отбрасывает рабочую жидкость от центра гидротрансформатора к краям. Затем жидкость попадает на турбинное колесо 2 и, проходя вдоль его лопаток, изменяет направление своего движения, создавая крутящий момент на турбинном колесе. Насосное и турбинное колеса при этом вращаются по часовой стрелке. После турбинного колеса жидкость поступает на лопатки реактора 3. Момент, возникающий на колесе реактора, противоположный крутящему моменту, приложенному к турбинному колесу, заклинивает муфту свободного хода б, благодаря чему реактор остается неподвижным.

Рис. 6. Гидротрансформатор:
7 — насосное колесо: 2 — турбинное колесо; 3 — колесо реактора (статора); 4 — реактивный вал; 5 — передний фрикцион; 6 — муфта свободного хода; 7 — маховик двигателя; 8 — корпус
При трогании автомобиля с места турбинное колесо неподвижно. На него действует небольшое давление жидкости, в результате чего происходит наибольшее увеличение крутящего момента. С увеличением скорости автомобиля возрастает частота вращения турбинного колеса и увеличивается центробежная сила, действующая на жидкость, вращаемую его лопатками. Вследствие этого повышается сопротивление поступающей жидкости от насосного колеса к турбинному и уменьшается количество жидкости, циркулирующей в единицу времени. По достижению определенного соотношения между частотой вращения насосного и турбинного колес направление движения потока жидкости изменяется настолько, что она, поступая на лопатки реактора, стремится повернуть его в обратном направлении. Муфта свободного хода расклинивается и установленные на ней колеса редуктора начинают вращаться.
После того как колеса редуктора начинают вращаться, прекращается изменение величины крутящего момента, передаваемого гидротрансформатором, и он переходит в режим работы гидромуфты.
При установившемся движении и стабильной величине передаваемого крутящего момента КПД гидротрансформатора достигает максимального значения, равного 0,86.
Однако изменения крутящего момента недостаточно для обеспечения автомобилю достаточных тяговых качеств, поэтому гидротрансформатор дополняется коробкой передач с автоматическим управлением.
На автомобилях могут устанавливаться двух-, трех-, четырех- и более ступенчатые коробки передач с автоматическим управлением. На рис. 7. показана схема механической трехступенчатой коробки передач, картер которой передним фланцем соединен с катером гидротрансформатора. В полости картера расположен ведущий вал с шестернями 1, 2 и 10, ведомый вал 12 с шестерней
11, первый 19 и второй 4 промежуточные валы. На первом промежуточном валу на шлицах установлены фрикцион первой 16 и второй 17 передач, ведущая шестерня 14 и ротор 13 замедлителя. По обе стороны фрикциона расположены шестерни 15 и 18 первой и второй передач. На втором промежуточном валу установлены двойной фрикцион 6 третьей передачи и фрикцион 7 передачи заднего хода, а также ведущая шестерня 9. По обе стороны фрикциона расположены шестерня 5 третьей передачи и шестерня 8 передачи заднего хода.
В промежуточных валах имеются отверстия для подвода масла к двойным фрикционам, которые обеспечивают переключение передач и передачу крутящего момента через соответствующие шестерни к ведущему валу 3.
Масляный поддон с литыми ребрами для охлаждения закрывает снизу картер механической коробки передач и служит резервуаром для масла.
Система управления обеспечивает автоматическое переключение передач переднего хода в зависимости от скорости движения автомобиля и положения педали подачи топлива.
На многих автомобилях имеется устройство для принудительного включения понижающей передачи при определенных условиях движения, например при спусках с горы. Отдельно включается также передача заднего хода.

Рис. 7. Механическая трехступенчатая коробка передач:
1.2 и 10— шестерни ведущего вала; 3 — ведущий вал; 4 — второй промежуточный вал; 5 — шестерня третьей передачи; 6 — двойной фрикцион третьей передачи; 7 — фрикцион передачи заднего хода; 8 — шестерня передачи заднего хода; 9 — ведущая шестерня заднего хода; 11 — шестерня ведомого вала; 12 — ведомый вал; 13 — ротор замедлителя; 14 — ведущая шестерня замедлителя; 15 — шестерня первой передачи; 16 — фрикцион первой передачи; 17 — фрикцион второй передачи; 18 — шестерня второй передачи; 19— первый промежуточный вал
Работа гидромеханической передачи. Гидромеханическая передача включается в работу рычагом или кнопочным контроллером. Передачи переключаются автоматически в зависимости от изменения частоты вращения коленчатого вала двигателя и подачи топлива.
Первая передача включается фрикционом 16 (рис. 7). На первом промежуточном валу 19 жестко закреплена шестерня 15. Крутящий момент от двигателя передается через насосное 1 и турбинное 2 колеса, ведущий вал 3, шестерни 10 и 15, фрикцион 16, первый промежуточный вал 19, шестерни 14 и 11 к ведомому валу 12.
При увеличении скорости движения центробежный регулятор начинает передвигать главный золотник, который соединяет главную масляную магистраль с каналом включателя первой передачи. Фрикционом 17 включается электромагнит второй передачи. Крутящий момент передается через насосное 1 и турбинное 2 колеса, ведущий вал 3, шестерни 1 и 18, через фрикцион 17 на первый промежуточный вал 19 и, через шестерни 14 и 11, на ведомый вал 12.
Дальнейшее увеличение оборотов коленчатого вала приводит к включению третьей передачи фрикционом 6 через жестко закрепленную на втором промежуточном валу 4 шестерню 5. Крутящий момент от двигателя через насосное и турбинное колеса гидротрансформатора передается на ведущий вал 3 и шестерни 2 и а затем через фрикцион 6, второй промежуточный вал и шестерни 9 и 11 к ведомому валу.
При включении передачи заднего хода в работу включается фрикцион 7, с которого крутящий момент через шестерню 8 передается на второй промежуточный вал 4. Передача крутящего момента производится следующим образом: от двигателя крутящий момент через насосное 1 и турбинное 2 колеса гидротрансформатора передается на ведущий вал 3, а затем через шестерни 10 и 8 на фрикцион 7, а с него — на второй промежуточный вал 4 и через шестерни 9 и 11 на ведомый вал 12 и далее через трансмиссию на ведущие колеса автомобиля.
КОНТРОЛЬНЫЕ ВОПРОСЫ
1. Опишите устройство двухвальной коробки передач.
2. Опишите устройство и работу синхронизатора.
3. Опишите назначение, устройство и работу механизма управления коробкой передач.
4. Как передается вращение при включении различных передач?
Скачано с www.znanio.ru
Материалы на данной страницы взяты из открытых источников либо размещены пользователем в соответствии с договором-офертой сайта. Вы можете сообщить о нарушении.