федеральное государственное бюджетное образовательное учреждение
высшего образования
«Мичуринский государственный аграрный университет»
Центр-колледж прикладных квалификаций
Методическая разработка
План – конспект открытого занятия по дисциплине:
«Процессы формообразования и инструменты»
На тему: «Температура резания. Влияние различных факторов на температуру резания при точении.»
Курс 2 Специальность: 15.02.01
«Монтаж и техническая эксплуатация промышленного оборудования»
Подготовил (а) преподаватель
общепрофессиональных дисциплин
Попов А.А.
МИЧУРИНСК-НАУКОГРАД- 2021
Методическая разработкаоткрытого занятия по дисциплине:«Процессы формообразования и инструменты» на тему: «Температура резания. Влияние различных факторов на температуру резания при точении.»предназначена для организации аудиторной работы обучающихся. Содержит как теоретические сведения, так и практический материал для изучения и закрепления полученных знаний, умений, навыков.
Открытый урок
по дисциплине: «Процессы формообразования и инструменты»
Тема урока: Температура резания. Влияние различных факторов на температуру резания при точении.
Тип урока: Обобщение и систематизация знаний.
Цель урока:
Познавательный аспект цели:
1. Научить выбирать температуру резания в зависимости от факторов, возникающих при точении материалов.
2. Развивать стремление к познанию, творческое отношение к изучаемому материалу; интерес к профессиональной деятельности.
3. Активизировать деятельность обучающихся по переводу своих знаний от усвоения отдельных фактов, понятий к их обобщению в целостную систему знаний.
4. Содействовать развитию творческого подхода к учению и выведению обучающихся на уровень самоорганизации.
Воспитательный аспект цели:
1. Продолжать формирование умения работать в коллективе.
2. Формирование положительного отношения к предмету и к выбранной профессии.
3. Воспитывать уверенность в своих способностях; ответственность за себя.
Развивающий аспект цели:
1. Развивать мышление, формировать умение сравнивать, выделять главное, анализировать.
2. Развивать устную и письменную речь (обогащение и усложнение словарного запаса, усиление выразительности речи).
3. Развивать пространственное воображение при описании материалов и инструментов изготовленных из них.
Методы:объяснительно-иллюстративный.
Оборудование:опорный конспект преподавателя; конспекты предыдущих уроков учащихся.
Ход урока
1. Организация начала занятия.
Подготовка обучающихся к работе на уроке (определение отсутствующих, проверка готовности к уроку, организация внимания).
2. Тема занятия:«Температура резания. Влияние различных факторов на температуру резания при точении.»
3. Цель занятия: научитьсявыбирать температуру резания в зависимости от факторов, возникающих при точении материалов.
– Здравствуйте! Сегодня на уроке нам придется плодотворно работать, поэтому я предлагаю начать занятие.(5 мин)
1. Проверка знаний
На прошлых занятиях мы изучили процесс фрезерования,ответим на несколько вопросов по этой теме: (Показываю слайд 2-6)
1. Что такое фрезерование? (Фрезерование –метод обработки поверхностей заготовок многолезвийным режущим инструментом - фрезой.)
2. Какие группы фрезерных станков выпускают? (Универсальные, специализированные, специальные)
3. Какие конструкции фрезерных станков Вы знаете? (Консольные, непрерывные, копировальные, бесконсольные, широкоуниверсальные, продольные)
4. Из каких основных частей состоит фрезерный станок? (Основание, станина, привод, коробка скоростей, шпиндель, оправка с фрезой, станочные тески, стол, консоль)
5. Какие типы фрез Вы знаете? (Концевая, угловая, шпоночная, фасонная, с остроконечным зубом, с затылованным зубом.)
Правильный ответ оценивается (до 10 мин)
Подготовка к основному этапу занятия.
Запишите тему занятия: «Температура резания. Влияние различных факторов на температуру резания при точении.» На эту тему отведено 2 часа. (Показываю слайд 7) (2 мин)
4. Усвоение новых знаний и способов действий.
Начнем с температуры резания. (Показываю слайд8) Напишем в тетради.
Под температурой резания понимают среднюю температуру на конкретных площадках режущего инструмента.(3 мин)
Российский ученый Я.Г. Усачев своими исследованиями показал, что вся работа А, которая затрачивается на процесс резания, преобразуется в тепло Q (Дж):
А = РZ * Vрез= Q
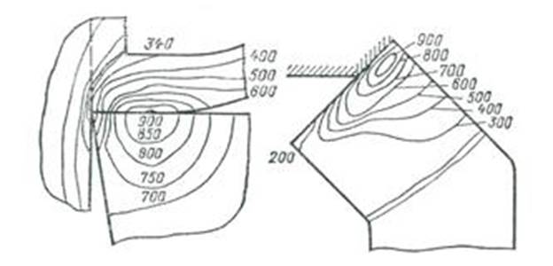
Показываю слайд 9.

Рисунок 1 – Распределение температуры в зоне резания. (2 мин)
Температура при этом в зоне резания достигает 200—900°С. Выделяющаяся теплота резания распределяется между изделием, стружкой и инструментом неравномерно. Изучение температурных явлений и теплового баланса при резании составляет важную проблему физики резания металлов.
(Показываю слайд 10) Напишем в тетради.
Чтобы правильно выбрать режим резания и инструмент, надо знать законы теплообразования и распределения тепла. (3 мин)
Во-первых, определить количество тепла, образующегося в процессе резания; во-вторых, где образуется тепло и куда оно распространяется; в-третьих, как распределяется тепло между деталью, стружкой и инструментом; в-четвертых, измерить температуры в зоне резания.
(Показываю слайд 11) Запишем в тетради.
Основными источниками возникновения тепла в зоне резания являются:
1. Внутреннее трение между частицами срезаемого слоя в результате его пластической деформации при образовании стружки (Q1);
2. Трение стружки о переднюю поверхность инструмента (Q2);
3. Трение обработанной поверхности по задним поверхностям инструмента (Q3). (10 мин)
Наиболее интенсивное выделение тепла происходит в области стружкообразования, прилегающей к плоскости скалывания. В этой области теплота выделяется в результате пластической деформации сдвига элементов образующейся стружки по плоскости скалывания.
(Показываю слайд 12) Запишем в тетради.
Общее количество выделяющегося при резании тепла равно сумме тепла, выделяющегося во всех зонах:
Qобщ. = Q1+ Q2+ Q3(2 мин)
(Показываю слайд 13) Запишем в тетради.
Тепло, образующееся в процессе резания, не аккумулируется в местах его образования, а распределяется следующим образом:
- уносится стружкой – q1;
- передаётся в заготовку - q2;
- передаётся в инструмент - q3;
- распространяется в окружающую среду - q4. (5 мин)
(Показываю слайд 14) Запишем в тетради.
Тепловой баланс процесса резания выражается уравнением:
Q1+ Q2+ Q3 = q1+q2+q3+q4(2 мин)
Таким образом (Показываю слайд 15)

Первые 45 мин прошли.
А теперь рассмотрим влияние различных факторов на температуру резания при точении материалов.(Показываю слайд 16)
Соотношение количества тепла, отводимого со стружкой в деталь, в инструмент и окружающую среду, зависит от:
- физико-механических свойств обрабатываемого материала;
- режима резания;
- геометрии режущего инструмента;
- внешних условий.Запишем в тетради. (3 мин)
Рассмотрим влияние каждого фактора подробней.(Показываю слайд 17)
Влияние физико-механических свойств обрабатываемого материала
Чем выше твердость и прочность обрабатываемого материала, тем больше сила резания, работа резания, больше выделяется тепла, тем выше температура резания. С увеличением теплопроводности как обрабатываемого, так и инструментального материалов улучшаются условия теплоотвода, что приводит к снижению температуры.Запишем в тетради.
(5 мин)
Влияние режимов резания
Увеличение глубины резания t меньше оказывает влияние на температуру резания, чем увеличение подача S потому, что при одинаковой площади сечения срезаемого слоя F = а b, (и соответственно одинаковом тепловыделении в обоих случаях) с увеличением глубины резания t возрастает ширина контакта режущего инструмента с деталью b, что улучшает условия теплоотвода.Показываю слайд 18.
С увеличением скорости резания, подачи и глубины резания температура возрастает. Наибольшее влияние на температуру оказывает скорость резания, затем подача и наименьшее — глубина резания.Запишем в тетради. (4 мин)
Влияние геометрических параметров режущего инструмента
Так, при увеличении переднего γ, заднего α и главного в плане φ углов уменьшаются силы резания и количество выделяющегося тепла, что способствует снижению температуры. Однако при этом ухудшаются условия теплоотвода за счет уменьшения массы инструмента, т.е. уменьшается объем теплопоглотителя, а в случае с углом φ в плане еще прибавляется фактор, связанный с уменьшением площадки контакта инструмента с деталью. Все это направлено на увеличение температуры. В результате такого противодействия результат зависит от интенсивности влияния каждого из этих факторов. Так на практике при обработке конструкционных сталей увеличении угла резания δ до 75º влияние данных факторов уравновешивается, а при дальнейшем увеличении угла резания δ фактор связанный с увеличением количества выделяющегося в зоне резания тепла Q становится превалирующим и температура увеличивается.
При увеличении радиуса при вершине резца τ увеличивается деформация срезаемого слоя, а следовательно сила резания, соответственно увеличивается работа, а значит, увеличивается количество теплоты Q, что способствует повышению температуры в зоне резания. Однако, увеличение τ приводит к увеличению длины площадки контакта инструмента с деталью, т.е. выделяющееся тепло распространяется на большую площадь, следовательно плотность теплового потока уменьшается, что направлено на уменьшение температуры в зоне резания. Второй фактор в данном случае оказывается более действенным, поэтому обычно с увеличением радиуса при вершине резца τ температура резани уменьшается.Показываю слайд 19.
При изучении влияния геометрических параметров инструмента на температуру резания необходимо учитывать, что, как правило, при изменении углов резца одновременно действуют два противоположно направленных фактора.Запишем в тетради. (10 мин)
Влияние условий резания
Смазывающие свойства СОЖ основаны на создании на трущихся поверхностях стружки, детали и инструмента тонких пленок, препятствующих непосредственному контакту этих поверхностей. Данные пленки состоят из жидкости и поверхностно-активных веществ (ПАВ).
Охлаждающие свойства СОЖ увеличивают теплоотвод путем поглощения тепла из зоны резания, что способствует уменьшению общей температуры. При этом следует отметить, что max температура в зоне резания уменьшается в основном за счет смазывающих свойств СОЖ, а охлаждающие свойства оказывают большее влияние на снижение средней температуры детали.
Смывающее действие СОЖ сводится к механическому удалению стружки из зоны резания, что особо важно при сверлении, фрезеровании концевым инструментом, на операциях чистовой и отделочной обработки.
На эффективность действия СОЖ существенно влияет метод ее подачи – свободно падающей струей, высоконапорный, в распыленном состоянии и др. Выбор рациональной СОЖ и метода ее подачи зависит от конкретных условий резания. Применение смазочно-охлаждающих жидкостей с высокими смазывающими и охлаждающими свойствами позволяет уменьшить температуру на 100—200°С.Показываю слайд 20.
Для улучшения отвода тепла от инструмента, уменьшения сил трения, улучшения качества обработанной поверхности применяются смазочно-охлаждающие жидкости (СОЖ). Роль СОЖ обусловлена тремя действиями: смазывающим, охлаждающим и смывающим.Запишем в тетради. (10 мин)
5. Обобщение и систематизация знаний.
Показываю слайд 21.
1. Что такое температура резания?
Под температурой резания понимают среднюю температуру на конкретных площадках режущего инструмента.
2. Какая температура может быть в зоне резания?
200—900°С.
3. Как распределяется тепло в процессе резания?
1. Внутреннее трение между частицами срезаемого слоя в результате его пластической деформации при образовании стружки (Q1);
2. Трение стружки о переднюю поверхность инструмента (Q2);
3. Трение обработанной поверхности по задним поверхностям
инструмента (Q3).
4. Какие основные
источники тепла возникают в зоне резания?
- уносится стружкой – q1;
- передаётся в заготовку - q2;
- передаётся в инструмент - q3;
- распространяется в окружающую среду - q4.
5. От чего зависит соотношение тепла при резании?
- физико-механических свойств обрабатываемого материала;
- режима резания;
- геометрии режущего инструмента;
- внешних условий.
6. Как влияют физико-механические свойства
обрабатываемого материала на температуру резания?
Чем выше твердость и прочность обрабатываемого материала, тем
больше сила резания, работа резания, больше выделяется тепла, тем выше
температура резания. С увеличением теплопроводности как обрабатываемого, так и
инструментального материалов улучшаются условия теплоотвода, что приводит к
снижению температуры.
7. Как влияют режимы резания на температуру
резания?
С увеличением скорости резания, подачи и глубины резания
температура возрастает. Наибольшее влияние на температуру оказывает скорость
резания, затем подача и наименьшее — глубина резания.
8. Как влияют геометрические
параметры режущего инструмента на температуру резания?
При изучении влияния геометрических параметров инструмента на
температуру резания необходимо учитывать, что, как правило, при изменении углов
резца одновременно действуют два противоположно направленных фактора.
9. Как влияют условия резания на температуру резания?
Применение смазочно-охлаждающих жидкостей с высокими смазывающими и охлаждающими свойствами позволяет уменьшить температуру на 100—200°С.(10 мин)
6. Рефлексия
-Что нового узнали на уроке?
-Где может пригодиться новое знание?
-Как вы оцениваете свою работу на занятии?
Показываю слайд 22.
7. Домашнее задание.
Составьте тепловой баланс при черновом обтачивании заготовки из чугуна на токарном станке 16К20. Рассчитайте сколько тепла уходит в каждую зону в %. Запишем в тетради. (2 мин)
Показываю слайд 23 и 24.
Материалы на данной страницы взяты из открытых источников либо размещены пользователем в соответствии с договором-офертой сайта. Вы можете сообщить о нарушении.