Закони конвективної дифузії.

  • doc
  • 20.11.2021
Публикация на сайте для учителей

Публикация педагогических разработок

Бесплатное участие. Свидетельство автора сразу.
Мгновенные 10 документов в портфолио.

Иконка файла материала 4.7. Закони конв.дифуз.doc

4.7. Закони конвективної дифузії.

      4.7.1. Масовіддача. Закон Щукарєва.

 

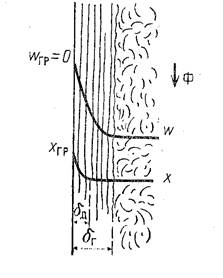
Рис. 4.4. Профілі зміни швид-кості потоку рідкої фази (W) і концентрації розчиненої ріди-ни (x) в турбулентному потоці.

      Під конвективним переносом розуміють процес переносу речовини при русі рідини або газу. У цьому випадку на інтенсивність масообмінних процесів істотно впливає гідродинамічна обстановка в апараті (режим течії). В умовах турбулентного потоку біля границі розділу фаз утворюється гідродинамічний пограничний шар товщиною δг (рис.4.4), у якому відбувається різка зміна концентрацій компонента, що розподіляється, - від концентрації на границі розділу фаз до концентрації в ядрі потоку фази. У цій області потоку швидкість процесу визначається молекулярною дифузією, а роль конвективної дифузії мала. Це пояснюється тим, що на границі розділу фаз підсилюється гальмуюча дія сил тертя між фазами і сил поверхневого натягу на границі рідкої фази. Утворення гідродинамічного пограничного шару поблизу поверхні розділу фаз веде до виникнення в ньому дифузійного пограничного шару товщиною δд, що звичайно не збігається з δг.. У ядрі потоку масоперенос здійснюється в основному турбулентними пульсаціями (турбулентною дифузією), тому концентрація речовини, що розподіляється, у ядрі потоку практично постійна. Очевидно, що пограничний шар створює основний опір процесові переносу.

      В міру наближення до ламінарного режиму пограничний шар сильно розростається, поступово заповнюючи практично весь перетин потоку. У цих умовах конвективний перенос йде в напрямку, паралельному рухові потоку, а перенос маси від границі розділу фаз (або в зворотному напрямку) визначається в основному молекулярною дифузією. Очевидно, що швидкість конвективного переносу істотно вище швидкості молекулярної дифузії. Тому розвиток турбулентності потоку сприяє прискоренню конвективного переносу маси.

      Перенос маси речовини по розглянутій вище схемі називають масовіддачею. Масовіддачу, як і конвективний теплообмін, підрозділяють на вільну і вимушену. При вільній масовіддачі рух рідини відбувається внаслідок різниці густини у різних точках рідкого середовища, а при вимушеній – унаслідок витрати енергії на рух потоку ззовні (насоси, компресори, мішалки і т.п.). Очевидно, що вільна масовіддача – процес повільний і в техніці зустрічається рідко, але вона часто є супутнім процесом вимушеної масовіддачі.

      У зв'язку з тим, що теоретичне визначення товщини пограничного дифузійного шару украй важке (тому що закон розподілу концентрацій у пограничному шарі ∂с/∂n невідомий), за аналогією з рівнянням тепловіддачі основне кінетичне рівняння масовіддачи (закон Щукарєва) представляють у вигляді:

                                      ,                                (4.26)

де  - рушійна сила процесу, Сгр і С – концентрація речовини біля границі розділу фаз і в ядрі потоку відповідно; β – коефіцієнт масовіддачі.

      У випадку переходу речовини з фази Фу у фазу Фх при сталому процесі для всієї поверхні масовіддачі F  при τ = 1с рівняння (4.26) запишеться у виді:

                                         ,                                 (4.27)

де угр, у, хгр, х - концентрації розподільної речовини біля границі розділу фаз та в ядрі потоку у фазах Фу і Фх відповідно; βу  і βх - коефіцієнти масовіддачі у відповідних фазах.

       З рівняння (4.26) знайдемо розмірність коефіцієнтів масовіддачі за умови вираження концентрації в кг/м3:

                                     .

      Коефіцієнт масовіддачі показує, яка кількість речовини переходить від одиниці поверхні розділу фаз у ядро потоку (або навпаки) в одиницю часу при рушійній силі процесу, рівній одиниці.

     Коефіцієнт масовіддачі, на відміну від коефіцієнта масопередачі, характеризує швидкість переносу речовини усередині фази конвективною і молекулярною дифузією одночасно. Коефіцієнт масовіддачі залежить від багатьох факторів (фізичних властивостей фази, швидкості потоку,  визначальних геометричних розмірів і т.п.) і визначається як правило на основі експериментальних даних.

      4.7.2. Диференціальне рівняння конвективної дифузії.

      Аналогічно виводу диференціального рівняння конвективного теплообміну диференціальне рівняння конвективної дифузії одержують на основі закону збереження маси, відповідно до якого приріст маси елементарного об’єму dV=dxdydz середовища приводить до збільшення концентрації компонента, що розподіляється, у цьому об’ємі:

                або  ,         (4.28)

де   - повна (субстанціональна) похідна концентрації; = - оператор Лапласа; wx, wy, wz – складові вектора швидкості потоку по відповідних осях координат.

      Рівняння (4.28) виражає в загальному виді розподіл концентрації компонента в рухомому потоці при несталому процесі масопереносу. При сталому процесі ∂с/∂τ=0. А при описі процесу в нерухомому середовищі wx=wy=wz=0  і рівняння (4.28) перетворюється в диференціальне рівняння молекулярної дифузії (4.25).

      Слід зазначити, що рівняння конвективної дифузії, оскільки процес переносу маси протікає в потоці, повинне бути доповнено рівняннями руху Нав’є-Стокса і рівнянням нерозривності потоку. Крім того, перенос речовини приводить до зміни складу фаз і, отже, до зміни їхніх фізичних властивостей. Тому систему диференціальних рівнянь, що описують конвективний масоперенос, необхідно доповнити також рівняннями, що відображають залежність фізичних властивостей фази від її складу. Розрахунок такої системи рівнянь викликає великі труднощі, і аналітичне рішення цієї системи рівнянь виявляється практично доцільним тільки в тих випадках, коли можливі її істотні  спрощення. Тому в більшості випадків для рішення цієї задачі використовують методи теорії подібності.