Министерство просвещения ПМР
ГОУ СПО «Каменский политехнический техникум им. И.С. Солтыса»
ФОНД ОЦЕНОЧНЫХ СРЕДСТВ
по учебной дисциплине
ОП.03 «Техническое оснащение организаций питания»
для специальности СПО:
43.02.15 «Поварское и кондитерское дело»
Каменка, 20___г
|
ОДОБРЕН Цикловой методической комиссией профессионального цикла Протокол № ____ от «__» _________ 20___ г. |
Разработан в соответствии с рабочей программой учебной дисциплины ОП.03 «Техническое оснащение организаций питания»
|
|
Председатель цикловой методической комиссии _____________/ Н.П. Касап |
Методист ГОУ СПО «КПТ» им. И.С. Солтыса ____________ Вылко Е.В. «__» _________ 20___ г. |
Составитель: Евстратий Д.А., преподаватель профессионального цикла, ГОУ СПО «Каменский политехнический техникум им. И.С. Солтыса»
ПАСПОРТ
ФОНДА ОЦЕНОЧНЫХ СРЕДСТВ
по учебной дисциплине ОП.03 «Техническое оснащение организаций питания»
Специальность: 43.02.15 «Поварское и кондитерское дело»
|
Результаты обучения (освоенные умения, усвоенные знания) |
ПК, ОК |
Наименование темы
|
Уровень освоения темы |
Наименование контрольно-оценочного средства |
|
|
Текущий контроль
|
Промежуточная Аттестация (согласно рабочему учебному плану) |
||||
|
1 |
2 |
3 |
4 |
5 |
6 |
|
В результате освоения учебной дисциплины обучающийся должен уметь: - определять вид, обеспечивать рациональный подбор в соответствии с потребностью производства технологического оборудования, инвентаря, инструментов; - организовывать рабочее место для обработки сырья, приготовления полуфабрикатов, готовой продукции, ее отпуска в соответствии с правилами техники безопасности, санитарии и пожарной безопасности; -подготавливать к работе, использовать технологическое оборудование по его назначению с учётом правил техники безопасности, санитарии и пожарной безопасности, правильно ориентироваться в экстренной ситуации выявлять риски в области безопасности работ на производстве и разрабатывать предложения по их минимизации и устранению; -оценивать эффективность использования оборудования; планировать мероприятия по обеспечению безопасных и благоприятных условий труда на производстве, предупреждению травматизма; - контролировать соблюдение графиков технического обслуживания оборудования и исправность приборов безопасности и измерительных приборов. оперативно взаимодействовать с работником, ответственным за безопасные и благоприятные условия работы на производстве; -рассчитывать производственные мощности и эффективность работы технологического оборудования проводить инструктаж по безопасной эксплуатации технологического оборудования. В результате освоения учебной дисциплины обучающийся должен знать: -классификацию, основные технические характеристики, назначение, принципы действия, особенности устройства, правила безопасной эксплуатации различных групп технологического оборудования; -принципы организации обработки сырья, приготовления полуфабрикатов, готовой кулинарной и кондитерской продукции, подготовки ее к реализации; -прогрессивные способы организации процессов приготовления пищи с использованием современных видов технологического оборудования; правила выбора технологического оборудования, инвентаря, инструментов, посуды для различных процессов приготовления и отпуска кулинарной и кондитерской продукции; -методики расчета производительности технологического оборудования; -способы организации рабочих мест повара, кондитера, пекаря в соответствии с видами изготавливаемой кулинарной, хлебобулочной и кондитерской продукции; -правила электробезопасности, пожарной безопасности; правила охраны труда в организациях питания
|
ПК 1.1-1.4 ПК 2.1-2.8 ПК 3.1-3.7 ПК 4.1-4.6 ПК 5.1-5.6 ПК 6.1-6.4 ОК 01 ОК 02 ОК 03 ОК 04 ОК 05 ОК 06 ОК 07 ОК 09 ОК 10 |
Раздел 1. Механическое оборудование |
|
|
Дифференцированный зачет |
|
Тема 1.1. Классификация механического оборудования |
|
КОС1 |
|||
|
Тема 1.2. Универсальные приводы. Универсальные кухонные машины |
2,3 |
КОС2 |
|||
|
Тема 1.3. Оборудование для обработки овощей, плодов |
2,3 |
КОС3 |
|||
|
Тема 1.4. Оборудование для обработки мяса, рыбы |
2,3 |
КОС 4 |
|||
|
Тема 1.5. Оборудование для нарезки хлеба, гастрономических товаров |
|
КОС5 |
|||
|
Тема 1.6. Оборудование для процессов вакуумирования и упаковки. Оборудование для тонкого измельчения продуктов в замороженном виде. |
|
КОС 6 |
|||
|
Тема 1.7. Оборудование для подготовки кондитерского сырья |
2,3 |
КОС 7 |
|||
|
Раздел 2. Тепловое оборудование |
|
|
|||
|
Тема 2.1. Классификация теплового оборудования |
2,3 |
КОС8 |
|||
|
Тема 2.2. Варочное оборудование |
|
КОС 9 |
|||
|
Тема 2.3. Жарочное оборудование |
|
КОС 10 |
|||
|
Тема 2.4. Многофункциональное оборудование СВЧ-аппараты |
|
КОС11 |
|||
|
Тема 2.5. Универсальное и водогрейное оборудование |
|
КОС12 |
|||
|
Тема 2.7. Оборудование для раздачи пищи |
|
КОС13 |
|||
|
Раздел 3 Холодильное оборудование |
|
|
|||
|
Тема 3.1 Классификация холодильного оборудования |
|
КОС14 |
|||
|
Тема 3.2 Холодильные шкафы, холодильные камеры, холодильные прилавки и витрины |
|
КОС15 |
|||
|
|
|
Тема 3.3 Шкафы интенсивного охлаждения (шоковой заморозки) Льдогенераторы |
|
КОС16 |
|
|
|
|
Раздел 4.Техническое оснащение процессов кулинарного и кондитерского производства |
|
|
|
|
|
|
Тема 4.1. Организация и техническое оснащение процессов кулинарного и кондитерского производства и реализации готовой продукции в организациях питания |
|
КОС17 |
|
|
|
|
|
|
|
|
Контрольно-оценочные средства текущего контроля
Раздел 1. Механическое оборудование
КОС 1
Введение
Устный опрос
1. Классификация механического
оборудования.
2. Что такое машина?
3. Назовите основные части машины.
4. Перечислите требования к материалам для изготовления машин.
5. Что такое деталь?
6. Аппараты включения, защиты, контроля, управления.
7. Техническая документация машин.
КОС2
Тема 1.1.Классификация механического оборудования
Устный опрос
КОС 3
Тема 1.2.Универсальные приводы. Универсальные кухонные машины .
Устный опрос
1. Дайте определение универсальному приводу. 2. Перечислите достоинства применения универсальных приводов
2. Техника безопасности при работе с универсальным приводом.
3. Поясните, что обозначает цифра в маркировке привода?
4. Назовите виды приводов для предприятия ОП
КОС 4
Тема 1.3.Оборудование для обработки овощей, плодов.
Устный опрос
1. Какие машины применяют на предприятиях общественного питания для обработки овощей.
2. Как классифицируются картофелеочистительные машины по принципу действия?
3. Каково принципиальное устройство картофелеочистительной машины?
4. Какие параметры влияют на качество очистки овощей в картофелеочистительных машинах периодического действия?
5. Что является рабочем органом у картофелеочистительных машинах?
6. Какова норма загрузки картофеля в машину МОК-250?
7. Почему овощи перед очисткой должны быть откалиброваны?
Практическое занятие №1
Тема: Изучение правил безопасной эксплуатации оборудования для обработки овощей, плодов
Цель: Изучить организацию работы в овощном цехе, научиться осуществлять подбор технологического оборудования и инвентаря, организовывать рабочее место.
Материальное оснащение: индивидуальные задания, компьютер, средства аудиовизуализации, учебная литература.
Теоретические сведения
Обратите внимание на размещение оборудования. Оно ставится по ходу технологического процесса. При установке оборудования необходимо учесть нормы оснащения в зависимости от типа и мощности предприятия, а также допустимые расстояния при его размещении:
- между двумя технологическими линиями немеханического оборудования – 1,5м;
- между стеной и механическим оборудованием – 0,2 м;
- между стеной и технологической линией – 0,1 м;
- между стеной и тепловым оборудованием – 0,4 м;
- между тепловым и немеханическим оборудованием – 1,5 м
Технологический процесс обработки овощей состоит из сортировки, мытья, очистки, доочистки и вторичного промывания. Назначение овощного цеха и схема процесса обработки овощей. В овощном цехе осуществляются первичная обработка овощей и изготовление овощных полуфабрикатов для собственного производства и предприятий-доготовочных.
В современных специализированных овощных цехах, размещенных обычно при овощных базах или овощехранилищах и рассчитанных на снабжение как предприятий общественного питания, так и розничной сети, может быть организован выпуск расширенного ассортимента продукции: здей. организуются поточные линии по расфасовке картофеля и овощей в пакеты, линия производства очищенного сульфитированного картофеля, линия приготовления картофельных и овощных котлет, жареного хрустящего и гарнирного картофеля, линия приготовления салатов и винегретов.
Технологический процесс обработки картофеля и корнеплодов включает сортировку (по качеству и размерам), мойку, очистку, дочистку, сульфитацию (картофеля), промывание и нарезку.
Обработка овощей других видов отличается от обработки картофеля и корнеплодов. Так, лук, капусту в овощных цехах очищают, промывают, нарезают. Помидоры, огурцы, редис, салат подвергаются переборке, очистке, промыванию и нарезке.
Особенности обработки овощей различных видов вызывают необходимость применения специального оборудования, которое подбирают в зависимости от мощности предприятия. Так, сортировка картофеля производится на крупных заготовочных предприятиях в сортировочных машинах. На мелких предприятиях, где нет возможности для установки калибровочных машин, ручная сортировка картофеля и корнеплодов по размеру не производится.
Мытье картофеля и корнеплодов осуществляется в специальных моечных или моечно-очистительных машинах (на крупных предприятиях) или картофелечистках с гладким диском (на небольших предприятиях), а также в ваннах. Машины загружают при помощи транспортера, который подает картофель из бункера овощной кладовой. Вымытые овощи при помощи другого транспортера поступают в очистительные машины, где картофель очищается, а затем производится его дочистка ручным способом.
На крупных заготовочных предприятиях, где организуются отдельные поточные линии обработки картофеля, корнеплодов и других овощей, для очистки картофеля применяют очистительные машины непрерывного действия, а на средних и мелких предприятиях — машины периодического действия.
Механическая очистка картофеля получила наибольшее распространение, но, кроме того, для очистки его могут использоваться термический и химический способы. При термическом способе для очистки картофеля применяют специальные печи с высокой температурой или аппараты, где осуществляется обработка картофеля паром. При химическом способе картофель обрабатывают в специальном аппарате раствором каустической соды.
При обработке картофеля термическим и химическим способами количество отходов значительно сокращается, при термическом, кроме того, картофель не так быстро темнеет, качество обработки выше, но применение этих способов возможно только в условиях крупного производства при обязательном осуществлении технико-химического контроля.
После механической очистки картофель поступает на конвейер для ручной дочистки к рабочим местам чистильщиков овошей. В крышке специальных столов для дочистки овощей — два отверстия (на каждом рабочем месте); одно — для отходов, другое — для очищенного картофеля. Под эти два отверстия ставят тару для сбора отходов и для обработанного картофеля. Рядом со столом устроен желоб с водой, где находится картофель, предназначенный для ручной дочистки.
На крупных заготовочных предприятиях для дочистки картофеля устанавливают конвейер из расчета 70—80 см на рабочее место. Рабочие места чистильщиков овощей расположены с обеих сторон конвейерной ленте.
Инструменты для очистки картофеля — специальный нож с коротким лезвием (длиной 6—7 см и шириной 2—2,5 см), имеющий скошенный конец; желобковый нож (длиной 18 см с ручкой), короткий широкий нож-сребок (длиной 17 см).
Дочищенный картофель хранят в воде или подвергают сульфитации. Для сульфитации картофеля используется машина МСК-1 или ванна с двумя отделениями, где картофель вначале обрабатывается бисульфитом натрия, а затем промывается. Корнеплоды после дочистки покрывают влажной тканью для предохранения от потемнения.
Следующая стадия обработки картофеля и корнеплодов — нарезка. Для этой цели используют овощерезки, нарезающие картофель соломкой, брусочками, ломтиками. Фигурная нарезка картофеля осуществляется ручным способом на разделочных досках из дерева твердых пород при помощи карбовочных ножей, выемок, малого и среднего ножей поварской тройки.
В цехе необходимы подтоварники для овощей и стеллажи. На линии установлены моечная ванна и картофелечистка. Так как после машинной очистки производят ручную доочистку, необходима установка специального стола для доочистки. Обратите внимание на наличие в крышке стола углубление, в которое помещают очищенные овощи, два отверстия для отходов и два – для дочищенного картофеля, а также желоб с водой для хранения картофеля в течение 2-3 часов.
Капусту, огурцы, кабачки обрабатывают ручным способом. Для шинкования овощей используются шинковальные доски. Лук, чеснок и хрен обрабатывают на специальном рабочем месте, оборудованном вытяжным шкафом. Необходим специальный стол с вытяжным устройством.
На линии обработки капусты, зелени установлены производственные столы и моечные ванны. На столе устанавливают овощерезательную машину.
Рабочие места овощного цеха оснащаются инструментами, инвентарём для выполнения определённых операций. Приготовленные овощные полуфабрикаты в деревянных ушатах, окоренках, а также корзинках доставляют в горячий цех. При организации работы овощного цеха необходимо строгое соблюдение правил охраны труда и техники безопасности. Основные из них сводятся к следующим. К работе на машине могут допускаться лишь работники, знающие их устройство и прошедшие специальный инструктаж. Возле машин необходимо вывешивать правила работы и плакаты по технике безопасности. Работникам запрещается опускать руки в рабочие камеры картофелечисток и овощерезок. Пусковые устройства машины должны быть закрыты, а машины — иметь исправное заземление и зануление. Тара для загрузки овощей в машину допускается емкостью не более 8—10 кг. Переноска грузов для машин разрешается массой не более 20 кг.
В цехе должна поддерживаться температура не менее 15° С. Для обеспечения требований санитарного режима необходимо своевременно удалять отходы из цеха.
Ход работы.
Используя учебную литературу:
1. Ознакомьтесь с линией обработки картофеля и корнеплодов.
2.Ознакомьтесь с организацией рабочего места очистки репчатого лука, чеснока.
3.Рассмотрите производственный инвентарь и тару овощного цеха и определите его назначение.
4. Начертите схему расположения оборудования в овощном цехе, обозначьте его.
6. Перечислите виды инвентаря, используемого при работе в овощном цехе.
7. Ответить на контрольные вопросы.
Оборудование и инвентарь, применяемый в овощном цехе, его характеристика

Марка МОК-150М
Пр-ть 150кг/ Кухонный процессор RobotCoupe R 201 Ultra E
Напр-е, B 380
Мощ-ть, кВт 0,75 Процессоры кухонные R от RobotCoupe - универсальные
Габ. размеры, мм 650х450х930
МОК-150М: Картофелечистка предназначена кухонные машины с двумя насадкамидля снятия кожуры с картофеля и другихкорнеплодов путем воздействия абразиво содержащих очищающих органов.


Производственный
инвентарь и тара овощного цеха:
1 - ножи: а - коренчатый, б - карбовочный, в - для чистки овощей; г, д - для
удаления глазков; 2 - терки для овощей; 3 - приспособления для протирания
овощей; 4 - устройство УНЗ для нарезки зеленого лука, укропа, сельдерея; 5 -
контейнеры для хранения очищенных овощей; 6 - бачки для сбора отходов с
тележкой для их перевозки; 7 - пневматическое приспособление для дочистки
картофеля

Размещение
оборудования в овощном цехе:
1 - картофелечистка; 2 - подтоварник; 3 - ванна моечная; 4 - стол для дочистки
картофеля и корнеплодов; 5 - стеллаж передвижной; 6 - овощерезательная машина
МУ-1000; 7 - стол производственный; 8 - стол для очистки репчатого лука
Задание 1. Изучить схему картофелеочистительной машины
На предприятиях общественного питания при механическом способе очистки применяются дисковые картофелеочистительныемашины МОК-125, МОК-250, МОК-400. Эти машины предназначены для очистки картофеля и корнеплодов. Принцип работы этих картофелечисток одинаков; отличаются они друг от друга производительностью, габаритами, объемом рабочей камеры.

Задание 2.Описать принцип работы картофелеочистительной машины МОК250
Задание 3. Ознакомиться с устройством овощерезательной машины, записать основные части.

Рис. 1Универсальная овощерезательная машина МР050-200.
1 - шкив, 2 - приводной вал, 3 - стакан, 4 - корпус, 5 - прижимной болт, 6 - толкатели цилиндрические, 7 - корпус загрузочного приспособления, 8 - сменный рабочий инструмент, 9 - сбрасыватель, 10 - электродвигатель, 11 - шкив.
Задание 4.Описать принцип работы овощерезки МРО 50-200
Задание 5. Ознакомиться с видами ножей. Подобрать нож для нарезки овощей в зависимости от формы нарезки. Данные свести в таблицу1.
|
Сменные рабочие органы для нарезки овощей |
|
Диск шинковочный МПР - 350М.13.00.00 (нарезка соломкой 4х3 мм) |
|
Диск тонкого измельчения МПР - 350М.12.00.00 (для драников) |
|
Нож комбинированный МПР - 350М.09.00.00 (нарезка брусочками 10х10 мм) |
|
Диск терочный МПР - 350М.11.00.00 |
|
Нож дисковый МПР - 350М.10.00.00 (нарезка ломтиками толщиной 2 мм) |
|
Сменные рабочие органы для протирки продуктов |
|
Диск протирочный МПР - 350М.17.00.00 с отверстиями диаметром 5 мм |
|
Диск протирочный МПР - 350М.00.00.05 с отверстиями диаметром 1,5 мм |
Таблица 1. Сменные рабочие органы для нарезки овощей
|
№ |
Наименование рабочего инструмента |
Вид нарезки овощей |
|
|
|
Картофель, нарезанный брусочками для «картофеля фри» |
|
|
|
Морковь тертая |
|
|
|
Свекла, нарезанная соломкой, для приготовления борща украинского |
|
|
|
Помидоры, огурцы, нарезанные ломтиками, для приготовления салата «Летний» |
|
|
|
Морковь, нарезанная соломкой для приготовления Щей |
|
|
|
Картофель, измельченный для приготовления драниковбелорусских |
Задание 6. Сформулировать правила безопасного использования машин для обработки овощей
Сделать вывод о проделанной работе
Контрольные вопросы.
1. Какие требования предъявляются к расположению заготовочных цехов?
2. Какие требования должны соблюдаться при размещении оборудования?
3. Какие основные типы оборудования применяются в овощном цехе средней мощности?
4. Какие виды инвентаря применяются в овощном цехе?
5. Что означает обозначение «ОС», «ОВ», «З» на инвентаре?
КОС№4
Тема 1.4.Оборудование для обработки мяса, рыбы.
1. Какие машины применяют на предприятиях общественного питания для обработки мяса и рыбы?
2. Какие детали являются рабочими органами мясорубки?
3. Поясните, для чего предназначены фаршемешалки, что являет рабочим органом ?
4. Принцип работы машины для рыхления мяса?
5. Сформулируйте правила безопасного использования оборудования перед началом работы, во время работы и после окончания работы с ним.
Практическое занятие №2
Тема: Изучение правил безопасной эксплуатации оборудования для обработки мяса, рыбы
Цель: Изучить организацию работы в мясо-рыбном цехе, научиться осуществлять подбор технологического оборудования и инвентаря, организовывать рабочее место.
Материальное оснащение: индивидуальные задания, компьютер, средства аудиовизуализации, учебная литература.
Ход работы.
Используя учебную литературу:
1.Ознакомьтесь с организацией рабочего места повара с учётом характера выполняемых операций при переработке мяса и приготовления полуфабрикатов.
2. Ознакомьтесь с организацией рабочего места повара при переработке рыбы и приготовлении полуфабрикатов из неё.
3. Начертите схему размещения инвентаря и оборудования на рабочем месте повара в мясорыбном цехе.
4. Перечислите виды инвентаря, используемого при работе в мясорыбном цехе.
5. Ответить на контрольные вопросы.
Назначение мясного и рыбного цехов и схема процесса обработки мяса и рыбы.
Технологический процесс обработки мяса складывается из следующих операций: дефростация мороженного мяса, зачистка от плён и сухожилий, срезание ветеринарного клейма, обмывание, обсушивание, разруб и обвалка.
Назначение мясного цеха — производство полуфабрикатов различных видов из говядины, свинины, баранины, птицы и дичи. На предприятиях с большим объемом производства, снабжающих мясными полуфабрикатами другие предприятия общественного питания, для мясного цеха выделяют отдельное помещение.
На предприятиях небольшой мощности с законченным циклом производства обработка мяса и рыбы может осуществляться в одном помещении, при обязательном соблюдении требований санитарного режима.
На предприятия общественного питания мясо нередко поступает замороженным. Поэтому первая операция технологического процесса обработки мяса — дефростация, т. е. оттаивание. Для этого используют охлаждаемые камеры и дефростеры, где туши хранят в подвешенном состоянии при плюсовой температуре.
Оттаявшие туши перемещают в цех по подвесным путям. В цехе туши обмывают теплой водой; на крупных предприятиях — щеткой-душем в специальном помещении, на мелких — в ваннах травяными щетками. Обсушивают туши, используя вентилятор или хлопчатобумажную ткань.
Следующая операция — разруб туши на части — осуществляется при помощи ленточной или циркулярной пилы. На мелких предприятиях туши делят на части на разрубочном стуле (круглой колоде из твердых пород дерева) мясницким топором и ножом-рубаком. Большой нож-рубак используют для рубки костей баранины, птицы, дичи, малым — нарубают мелкие кости и мясо для рагу.
Затем производится обвалка, зачистка и нарезка мяса на порции. Эти операции осуществляются на производственных столах с крышками из нержавеющей стали, дюралюминия или мрамора.
Обвалка мяса — подрезка мякоти и снятие его с кости — производится при помощи большого и малого обвалочных ножей. Зачистка мяса и нарезка его на порции — при помощи большого, среднего и малого ножей (поварской тройки). При этом большим ножом нарезают крупные куски, средним — мелкие и снимают филе, малым зачищают отдельные части туши и выполняют некоторые другие операции. Нарезанные куски мяса разрыхляют рыхлителями МС19-1400, или МРМ-15, или тяпкой.
Для приготовления фарша на крупных предприятиях применяют мясорубки, куттеры, фаршемешалки с индивидуальным приводом; на мелких — универсальные приводы со сменными механизмами или используют настольные мясорубки. Для изготовления котлет на крупных предприятиях применяют котлетный автомат производительностью 4000 котлет в 1 ч или котлетоформовочную машину производительностью 1800 котлет в 1 ч.
Для обработки птицы, дичи и голья на крупных предприятиях выделяют специальное помещение с опалочным горном, на небольших отводятся специальные рабочие места.
В рыбном цехе осуществляются первичная обработка рыбы и изготовление рыбных полуфабрикатов. Технологический процесс обработки рыбы включает следующие операции: оттаивание мороженой рыбы, вымачивание соленой, очистку от чешуи, потрошение и промывание, разделку, приготовление полуфабрикатов и их хранение.
Оттаивают рыбу в дюралюминиевых ваннах или ваннах из углеродистой стали (луженых) с двумя отделениями в проточной или периодически сменяемой воде. Выгружают рыбу из ванн проволочными черпаками. Камбалу, линя, осетровые рыбы для облегчения дальнейшей обработки ошпаривают. Для этой цели к ваннам подводят горячую воду и используют решетку с ручками. Крупную рыбу осетровых пород размораживают на металлических стеллажах с поддоном снизу при комнатной температуре. Для очистки рыбы от чешуи используют механическийрыбоочиститель или ручные скребки.
Потрошат рыбу малыми поварскими ножами на специальных столах с желобком, спинкой и бортами. Здесь же отрубают головы, хвосты и плавники. Хвосты и головы отрубают средним поварским ножом на разделочных досках, плавники срезают ножницами. После потрошения рыбу промывают в ванне с двумя отделениями и укладывают на противни.
Приготовление рыбных полуфабрикатов осуществляется на отдельном столе, где должны находиться разделочные доски, комплект ножей поварской тройки, специи, весы.
На мелких педприятиях для приготовления рыбного фарша используют мясорубки, на крупных — универсальный привод с комплектом механизмов. Рыбные полуфабрикаты хранят при температуре 4—6° С не более 24 ч, рыбную массу — 12 ч.
Как отмечалось выше, на мелких и средних предприятиях обработка мяса и рыбы может осуществляться в одном помещении — мясо-рыбном цехе. Основное требование при организации работы такого цеха — обеспечение раздельной обработки мясных и рыбных продуктов и раздельного хранения полуфабрикатов из мяса и рыбы. Оборудование, инвентарь, тара, инструменты должны быть отдельными и иметь соответствующую маркировку.
Важное значение при выполнении технологических операций при обработке мяса и рыбы имеет соблюдение правил охраны труда и техники безопасности. Важнейшие из них сводятся к следующим. При работе на мясорубке мясо в машину проталкивают только деревянным пестиком (а не рукой). Запрещается работать без предохранительного кольца. Сменные механизмы к универсальному приводу присоединяют или снимают только после выключения. Перед началом работы тележку универсального привода необходимо застопорить винтами. При обвалке мяса работникам следует использовать предохранительныекольчужки. Ручки всех ножей должны быть тщательно закреплены, углы производственных столов и ванн — закругленными. Ни полу рядом с производственными столами необходимо устанавливать подножные решетки.

Примерная
расстановка оборудования в мясном цехе:
1, 3, 5, 7, 10 - рабочие столы; 2 - ванна; 4 - разрубочный стул; 6 -
универсальный привод типа ПМ-1,1,8 - трап; 9 - опалочный шкаф; 11 - ванна; 12 -
раковина; 13 - холодильный шкаф
Обратите внимание на размещение оборудования:
- на производственном столе мясо зачищают от загрязнений и срезают клеймо;
- ванна для обмывания туши оборудована щёткой-душем;
- разруб туши мяса происходит на разрубочном стуле (внимательно рассмотрите разрубочный стул и определите, что обеспечивает его прочность?);
- производственный стол для обвалки мяса располагается в центре цеха и имеют выдвижные ящики для инструментов (ножей, мусатов);
- производственные столы для нарезки полуфабрикатов располагаются вдоль стен;
- настольные весы;
-мясорубка;
-фаршемешалка;
-размолочный механизм;
-котлетоформовочная машина;
-холодильный шкаф.
Обратите внимание на инвентарь, размещённый на столе: разделочную доску, лотки для мяса и полуфабрикатов, поварские ножи, ёмкость для замачивания хлеба.
На рабочем месте повара по изготовлению полуфабрикатов из фарша должны находиться следующие виды оборудования и инвентаря: холодильный шкаф, производственный стол, мясорубка, универсальный привод со сменным механизмом для измельчения сухарей, весы, ножи, лопатка, разделочная доска, лоток с панировкой, лоток для укладки котлет, емкость с фаршем.

Размещение
оборудования в мясо-рыбном цехе:
А - участок обработки мяса; Б - участок обработки птицы; В - участок обработки
рыбы; 1 - ванна с бортиками; 2 - разрубочный стул; 3 - стол производственный; 4
- стеллаж передвижной; 5 - универсальный привод ПМ-1,1; 6 - мясорубка; 7 -
опалочный шкаф; 8 - ванна моечная; 9 - холодильный шкаф.
Внимательно ознакомьтесь с теоретической частью практической работы.
Мясорыхлительная машина МРМ-15 предназначена для рыхления поверхности порционных кусков мяса (ромштексов, шницелей и т.д.) перед их обжаркой.
Мясо после такой обработки становится более мягким, лучше прожаривается и не деформируется при жарке.
Эта машина состоит из основания и корпуса, закрываемого крышкой, в котором размещены электродвигатель, редуктор и каретка.Рабочими органами мясорыхлителя служат дисковые ножи-фрезеры , расположенные на валиках и вращающиеся при работе один навстречу другому. Эти рабочие органы находятся в рабочей камере. Рабочей камерой служит коробка, наверху которой расположены загрузочная воронка. В нижней части установлена каретка и состоит она из двух половин, соединенных петлями и за шнур с вилкой; щелками. В каретке так
Же установлены две гребенки, между фрезами, которые предохраняют от наматывания мяса на фрезы. Приводной механизм машины состоит из электродвигателя, клиноременной передачи, редуктора и шестерен.

Рис. Мясорыхлительная машина МРМ-15. а- разрез: 1- основание; 2- ножи-фрезы; 9- гребенка; 4-крышка; 5- редуктор; 8- клиноременная передача; 7- червячный редуктор; 8- электродвигатель; 6- общий вид
Принцип действия. После включения машины, куски мяса, нарезанные на порции, опускаются в загрузочную воронку и захватываются вращающимися навстречу друг другу валиками с фрезами. Проходя между
фрезами, кусок мяса надрезается с двух сторон их зубьями, при этом
происходит разрушение волокон и увеличение поверхности.
Механизм МС 19-1400 приводится в действие универсальным приводом ПМ-1,1 или ПУ-0,6. По конструкции и эксплуатации он аналогичен с машиной МРМ-15.
Правила эксплуатации
Перед началом работы с мясорыхлителем, снимают крышку и проверяют правильность установки каретки с ее рабочими органами. Закрывают крышку и проверяют машину на холостом ходу. Если машина исправна, подставляют под разгрузочное окно тару, приступают к работе. Подготовленные кусочки мяса опускают в загрузочную воронку. Эти кусочки мяса можно повторно пропускать для разрыхления их в поперечном направлении.
В процессе эксплуатации запрещается работать без крышки, поправлять куски мяса руками или оставлять машину без присмотра. Нужно постоянно следить за состоянием фрез и периодически затачивать их.
После выполнения работы, машину выключают, разбирают, промывают рабочие органы горячей водой, просушивают и смазывают пищевым несоленым жиром.
Машина МРО-1М состоит из корпуса, в котором расположен электродвигатель, гибкого вала и рукоятки со скребком. Рукоятка скребка выполнена из электроизоляционного материала - пластмассы. Внутри рукоятки расположен валик, на конце которого устанавливается скребок, приводимый во вращение при помощи гибкого вала и электродвигателя.
Скребок представляет собой металлическую фрезу со спиральными зубьями, заканчивающиеся конусной шероховатой поверхностью с мелкой насечкой, для очистки труднодоступных мест рыбы. Сверху скребка имеется предохранительный кожух, который защищает руку работника от травмы и исключает разбрасывание чешуи.
Гибкий вал состоит из резинового шланга, внутри которого находится стальной трос, а в местах соединения его с электродвигателем и рукояткой находятся пружины, которые исключают резкий перегиб вала.


Рис. Рыбоочистительная машина МРО – 1М
1 – скребок; 2 – гибкий вал; 3 – рукоятка; 4 – электродвигатель; 5 – кронштейн; 6 – вилка.
Электродвигатель однофазного тока крепится к крышке стола при
помощи кронштейна и может поворачиваться в любую сторону.
Правила эксплуатации. Работа с рыбоочистителями сводится к следующему: перед началом работы закрепляют корпус машины с помощью кронштейна на производственном столе для обработки рыбы, затем закрепляют скребок на гибком валу. Выполняют условия техники безопасности и безопасности труда при работе с рыбоочистителем и только после проверки приступают к очистке рыбы.
Рыбу укладывают на разделочную доску и придерживают ее левой рукой за хвостовую часть, а правой проводят скребком от хвоста до головы.
После работы скребок промывают, для этого опускают в горячую воду при включенном электродвигателе. Затем электродвигатель выключают, а скребок разбирают, вытирают, смазывают растительным маслом.
Задание №1
Выпишите основные части, и детали мясорыхлительной машины МРМ – 15.
Задание №2
Заполните таблицу « Основные части и детали мясорыхлительной машины МРМ - 15».
|
Основные части и детали машины |
Назначение основных частей и деталей |
|
Рабочая камера |
В рабочей камере происходит разрыхление продукта рабочими органами |
|
|
|
|
|
|
|
|
|
|
|
|
Задание №3
Раскройте схему принципа работы мясорыхлительной машины МРМ - 15
|
Загрузка порционных кусков |
|
Разрыхление |
|
Выгрузка порционных кусков |
Задание №4
Пользуясь правилами эксплуатации мясорыхлительной машины МРМ - 15, составьте план подготовки машины к работе.
Задание №5
Пользуясь правилами эксплуатации мясорыхлительной машины МРМ - 15, перечисли действия, выполняемые по окончанию работы.
Задание №6
Выпишите основные части, и детали рыбоочистительной машины МРО -1М.
Задание №7
Заполните таблицу « Основные части и детали рыбоочистительной машины МРО -1М».
|
Основные части и детали машины |
Назначение основных частей и деталей |
|
|
|
|
|
|
|
|
|
Задание №8
Раскройте схему принципа работы скребка рыбоочистительной машины МРО -1М.
Задание №9
Пользуясь правилами эксплуатации рыбоочистительной машины МРО -1М., составьте план подготовки машины к работе.
Задание №10
Пользуясь правилами эксплуатации рыбоочистительной машины МРО -1М., перечисли действия, выполняемые по окончанию работы.
Сделать вывод о проделанной работе
Контрольные вопросы.
1. Какие требования предъявляются к расположению заготовочных цехов?
2. Какие требования должны соблюдаться при размещении оборудования?
3. Какие основные типы оборудования применяются в мясном цехе средней мощности?
4. Какие виды инвентаря применяются в мясо-рыбном цехе?
5. Опишите организацию рабочего места повара в мясном цехе.
6. Как организуется технологический процесс обработки мяса?
7. Какое механическое оборудование применяется при обработке мяса?
8. Что означает обозначение «МВ», «МС», «РС» на инвентаре?
КОС 5
Тема 1.5.Оборудование для нарезки хлеба, гастрономических товаров
Устный опрос
1. Какие машины применяют на предприятиях общественного питания для нарезки гастрономии?
2. Что является рабочим органом слайсера?
3. Какие специализированные слайсеры используют на ПОП?
4. Поясните, в чем состоит особенность слайсера для нарезки сыра?
5. Поясните особенность нарезки хлеба на хлеборезательной машине?
Практическое занятие № 3
Тема: Изучение правил безопасной эксплуатации оборудования для нарезки хлеба, гастрономических товаров
Цель: Сформировать знания об особенностях устройства и принципа действия машин для нарезки хлеба, с подготовкой машины к работе, регулированием толщины среза, освоение правил техники безопасности
Оборудование: хлеборезка, схемы машин по нарезке хлеба, паспорта и инструкции по безопасной эксплуатации
Ход занятия
Задание 1. Ознакомиться с теоретическими сведеньями и схемой хлеборезательной машины.
На предприятиях общественного питания для нарезки хлеба, колбас, сыров, масла и других продуктов применяются как ручные ножи и приспособления, так и машины. Использование резательных машин (для нарезки гастрономических продуктов и сливочного масла) повышает качество обработки продуктов, снижает количество отходов и способствует повышению производительности труда.
Хлеборезательные машины предназначены для нарезки хлеба ломтиками заданной толщины.
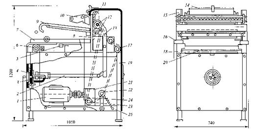
Хлеборезателъная машина МРХ-200 (1)
Устройство:
1) В круглом корпусе машины (рабочая камера) размещен дисковый нож, снабженный противовесом. В нижней части корпуса с обеих сторон расположены два окна, одно для подачи хлеба к ножу, другое — для выхода нарезанных ломтей хлеба.

Рис. 1. Хлеборезательная машина МРХ-200
1- кнопочный выключатель, 2 - корпус, 3 - загрузочный лоток,
4 - корпус резания, 5 - приемный лоток, 6 - механизм заточки.
2) Привод машины: электродвигатель, клиноременная и 2 цепные передачи. Он обеспечивает планетарное движение ножа и подачу хлеба в зону его вращения.
3) Механизм подачи: ходовой вала и каретка с игольчатыми захватами для хлеба.
4) Механизм толщины среза- диск с делениями, толщины нареза.
5) Точильное приспособление размещено в верхней наружной части хлеборезательной машины. Там же расположены две кнопки, соединенные с двумя скребками, которые помещены внутри корпуса машины. При нажатии на кнопки скребки прижимаются с двух сторон к ножевому диску и очищают его от налипшего хлеба.
6) Тормозное устройство - гасит инерционный момент дискового ножа после выключения машины.
7) Установленная электроблокировка отключает машину после окончания нарезки хлеба и открытой защитной решетки и в случае, если приемный лоток находится не в правом крайнем положении. Для включения и остановки машины установлен кнопочный выключатель с кнопками "Пуск" и "Стоп".
При включении машины вращение от электродвигателя через клиноременную и цепную передачу передается главному валу, а от него ходовому валу и дисковому ножу. При нарезке хлеба ножевой диск совершает планетарное движение. Ходовой вал передает прерывисто-поступательное движение каретке, в которой при помощи игольчатого захвата хлеб подается к ножу. Таким образом, хлеб подается к ножу в тот момент, когда он находится в верхнем положении.
Во время резания хлеб неподвижен. Нарезанные кусочки собираются в разгрузочном лотке и потом поступают в подготовленную тару.
Таблица №1 - Техническая характеристика машины МРХ-200
|
Производительность резы/мин |
200 |
|
Пределы регулирования толщины нареза хлеба, мм |
5-20 |
|
Размеры, мм длина ширина высота |
1200 600 730 |
|
Масса, кг |
65 |
В процессе эксплуатации машины необходимо строго соблюдать правила эксплуатации. Хлеборезательную машину устанавливают на рабочем столе без дополнительного крепления и подключают к электросети при помощи штепсельного разъема. Перед началом работы машину осматривают, проверяют ее состояние и растормаживают вал двигателя поворотом рукоятки тормоза против часовой стрелки до упора. Затем проверяют машину на холостом ходу и устанавливают толщину нарезки хлеба. Для чего ослабляют фасонную гайку и поворачивают диск с делениями до нужного размера нареза хлеба. После этого затягивают фасонную гайку. Как правило, для хлеба используют толщину нарезки 15-16. Затем открыв защитную решетку и отведя каретку в правое положение, закрепляют на ней хлеб, опускают защитную решетку, нажимают на кнопку "Пуск". После включения машины происходит нарезка хлеба и, как только каретка с хлебом займет крайнее левое положение, ограничитель хода каретки нажмет на кнопку "Стоп", двигатель машины отключится, и одновременно включится электротормоз. После остановки машины поднимают ограждающую решетку, передвигают каретку вправо по лотку, закладывают хлеб, закрывают решетку и продолжают нарезку хлеба. В процессе работы на машине необходимо соблюдать технику безопасности, не проталкивать хлеб рукой в окно и не ускорять разгрузку хлеба, т.к. можно травмировать руки обслуживающего персонала.
Качество нарезки хлеба зависит от состояния ножевого диска. Затупление его или прилипание к нему кусочков хлеба ухудшают качество нарезки и увеличивают потерю продукции. Вот поэтому дисковый нож ежедневно затачивают или зачищают от остатков хлеба. Для заточки дисковый нож устанавливают в верхнее положение, закрепляют противовес стопорным винтом и поворачивают на 180° точильное устройство так, чтобы его точильные круги расположились по обе стороны ножа.
Затем освобождают от корпуса машины рукоятку ручного управления ножом, вращая ее по стрелке указанной на корпусе машины, производим заточку дискового ножа. Для периодической зачистки ножа от хлеба нужно при вращении рукояткой дискового ножа нажать на две кнопки скребков. Скребки, прижимаясь с двух сторон к вращающемуся ножевому диску, будут зачищать его от налипшего хлеба.
После окончания работы на машине, ее выключают и отключают от электросети. Потом очищают от хлебных крошек специальным приспособлением и протирают сухой тканью.
В процессе эксплуатации хлеборезательной машины могут возникнуть неисправности, которые можно устранить самостоятельно, зная причину возникновения. Если при нажатии на кнопку ≪Пуск≫ электродвигатель
машины не включается, то это может быть вызвано тем, что не установлены правильно защитные решетки. Для того что бы устранить неполадку, необходимо правильно установить защитные решетки. Если при включении двигателя он не работает, а издает гудение, то возможно, противовес дискового ножа закреплен стопором. Что бы устранить неполадку- необходимо выключить машину и вывернуть стопор противовеса. Если ухудшилось качество нарезанного хлеба, то причиной могло стать затупление ножа или к нему налип хлеб. Для устранения неисправности достаточно заточить нож или очистить дисковый нож.
Задание 2. Зарисовать схему Хлеборезательной машины с обозначением основных частей и деталей.
Задание 3. Описать принцип работы хлеборезательной машины.
Задание 4. Сформулировать правила эксплуатации хлеборезательной машины:
1.Перед началом работы
2.В Процессе работы
3.По окончанию работы
Задание 5. Заполнить таблицу.
Таблица 1.Неисправности хлеборезательной машины и способы их устранения
|
Неисправности |
Возможные причины |
Способы устранения |
|
|
|
|
|
|
|
|
|
|
|
|
Сделать вывод о проделанной работе
Задание на дом.
1. Сделать схему машины в тетрадь с описанием технических характеристик из паспорта (сделать таблицу)
Таблица 1 - Техническая характеристика машин для нарезки хлеба
|
Тип оборудования |
Техническая характеристика |
|
Хлеборезка МРХ- 200 |
|
|
Хлеборезка АХМ- 300Т |
|
2. Сделать выводы о принципах подбора оборудования для предприятий различной мощности
3 . Составить рекомендации по подбору оборудования для столовой техникума.
4. Составить таблицу возможных неисправностей машины и особенности их устранения Таблица 2 -Возможные неисправности в работе машин
|
Неисправности |
Возможные причины |
Способы устранения |
|
Хлеборезка МРХ- 200 |
|
|
|
Хлеборезка АХМ- 300Т |
|
|
КОС 6
Тема 1.6. Оборудование для процессов вакуумирования и упаковки. Оборудование для тонкого измельчения продуктов в замороженном виде.
Устный опрос
1. На какие типы подразделяют вакуумные машины?
2. В чем состоит преимущество вакуумирования продуктов?
3. Для какой современной технологии приготовления блюд необходим вакууматор?
4. В чем состоит технологический процесс вакуумирования?
Практическое занятие № 4
Тема: Изучение правил безопасной эксплуатации оборудования для вакуумирования и упаковки
Цель: формирование знаний и навыков по устройству, принципу работы, правил безопасной эксплуатации машины для вакуумирования
Ход работы
Задание 1. Ознакомиться с теоретическими сведеньями. Краткий конспект.
Теоретические сведенья
Характеристика машины.
Вакуум упаковочная машина серии DZ обладает следующими преимуществами: более совершенные функции, лёгкость в управлении, удобство в техническом обслуживании, широкое применение и др. Машина может быть использована для упаковки мягкими материалами как, например, многослойной плёнкой, алюминиево-пластиковой многослойной плёнкой и т.д. С помощью машины можно упаковывать зерно, пищу, фрукты, семена, медицинские товары, химические продукты, электронику, прецизионные и другие измерительные приборы, редкие дорогие твёрдые металлы и т.д. в форме жидкости, порошка или пасты. Упаковка защищает продукты от окисления кислородом воздуха, образования плесени, от моли, гниения и сырости. Таким образом, гарантируются качество и свежесть пищевых продуктов, что продлевает их срок хранения.
- Машина обладает функцией устранения масляного тумана, для этого должна быть подсоединена выводная трубка.
- Машина легка в управлении. Весь процесс, включая опущение вакуумной крышки из синтетического стекла, вакуумирование, газозаполнение (если есть), термосклеивание, маркировка, охлаждение, приток воздуха и поднятие вакуумной крышки, завершается автоматически.
- Для упаковки емкостей с различными материалами и плотностью может применяться широкий спектр температур склеивающего отверстия.
- На панели управления имеется переключатель аварийного останова. При любых неполадках процедура упаковки может быть приостановлена кнопкой СТОП и машина возвращена в дежурный режим.
Пакет помещается в вакуумную камеру и накрывается вакуумной крышкой. Запустить машину, вакуумный насос заработает и создаст вакуумное пространство между вакуумной крышкой и вакуумной камерой. После вакуумирования, наполнить вакуумную камеру газом, если это необходимо. Затем с помощью воздушной подушки или цилиндра поднимется нагревающий блок, который прижмёт пакет за счёт разницы в давлении внутри вакуумной камеры и внешней среды. Нагревательная проволока в термопластине накалится и запечатает пакет, когда появится низковольтное питание. После охлаждения наполнить вакуумную камеру воздухом. Процесс вакуумной упаковки завершен.

Схема 1. Двухкамерная вакуум упаковочная машина серии DZ(Q)-510/2SC (стандартная)
|
№ |
Детали |
Примечания |
|
1 |
Ручка |
|
|
2 |
Вакуумная камера |
Изогнутая крышка/ультра-тонкая крышка |
|
3 |
Соединительная штанга |
|
|
4 |
Нижний блок запечатывания |
|
|
5 |
Вакуумная камера |
Неглубокая/плоаская камера |
|
6 |
Каркас |
|
|
7 |
Панель управления |
Компьютерная панель/реле |
|
8 |
колёсико |
|
Стандартная процедура эксплуатации
- Включите машину для запуска. Экран покажет «_ _».
- Использовать пакеты, предназначенные для вакуумной упаковки. Перед упаковкой пищевых продуктов пакеты следует стерилизовать.
- Поместить продукты в пакеты. Для продуктов выбирать соответствующие пакеты. Не использовать пакеты слишком больших размеров. Обеспечить чистоту окружающей среды во время эксплуатации машины. Рекомендуется, чтобы упаковочный материал и руки были сухими.
- Поместить пакет в вакуумную камеру или на опорную плиту (если имеется). Начало пакета поместить на термоблок или силиконовую подкладку. Если пакет находится ниже термоблока или силиконовой подкладки, необходимо вставить опорную плиту (если имеется), встроенную в машину, что упростить эксплуатацию или сократить время цикла.
- Что касается системы газонаполнения, начало пакета надеть на газонаполнительный разъём.
- По мере того, как термоблок или силиконовая подкладка длиннее пакетов, на них можно надевать одновременно несколько пакетов. Пакеты нельзя надевать один на другой. Если у машины имеется силиконовых подкладок больше одной, эти подкладки можно использовать одновременно.
- Для функции вакуумирования и запечатывания установить правильные параметры. Смотреть раздел о панели управления.
- Закрыть вакуумную крышку и машина завершить весь цикл программы, включая вакуумирование, газозаполнение (если имеется), запечатывание и охлаждение. Вакуумная крышка откроется автоматически, когда завершится последний выпуск воздуха.
- После завершения цикла снять пакеты.
- При необходимости нажать аварийный выключатель для останова машины, машина немедленно остановится и прервёт выпуск воздуха. Вакуумная крышка откроется автоматически.
- Повторить цикл.
Неисправности и их устранение
1.1. Неисправности корпуса оборудования и их устранение
|
Неисправность |
Причина |
Устранение |
|
Машина не работает и панель управления не отображает информацию. |
Отсутствует электропитание. |
Вставить вилку в розетку. |
|
Сгорел предохранитель главной цепи. |
Заменить предохранитель (с эквивалентными характеристиками). |
|
|
Отсутствует контакт выключателя сети. |
Проверить, зафиксировать, отремонтировать или заменить. |
|
|
Панель управления запущена, но машина не работает. |
Микро выключатель вакуумной крышки в неправильном положении или повреждён. |
Отрегулировать или заменить микро выключатель. |
|
Параметры устанавливаются. |
Завершить установку параметров. |
|
|
Внутренний отказ машины. |
Связаться с поставщиком. |
|
|
Вакуумная крышка не открывается автоматически. |
Пневматическая пружина или пружина натяжения не работает. |
Проверить, отремонтировать или заменить. |
|
Невозможно обеспечить хорошее вакуумизирование. Скорость вакуумизирования низкая. |
Неправильное направление поворота насоса. |
Исправить направление поворота (трёхфазное питание). |
|
Сокращение времени вакуумизации. |
Увеличить время вакуумизации. |
|
|
Недостаточно масло или грязное масло. |
Проверить уровень масла или заменить масло. (Следить за типом используемого масла и объёмом). |
|
|
Пропускает трубка. |
Заменить. |
|
|
Ослаблено крепление трубки. |
Проверить и укрепить. |
|
|
Пропускает воздушная подушка или цилиндр. |
Проверить и укрепить. |
|
|
Пропускание воздуха или истирание уплотнительного кольца. |
Заменить уплотнительное кольцо. |
|
|
Фильтр масляного тумана наполнен. |
Заменить фильтр масляного тумана. |
|
|
Отсутствие запечатывания или плохое запечатывание. |
Пакеты неправильно укладываются на термопластины. |
Укладывать пакеты на термопластину по очереди. |
|
Слишком долгое/непродолжительное время запечатывания. |
Сократить/увеличить время запечатывания. |
|
|
Неподходящая температура нагревания. |
Выбрать подходящую температуру на панели управления. |
|
|
Силиконовая подкладка повреждена или засорена. |
Очистить или заменить силиконовую резину. |
|
|
Тефлоновое полотно повреждено или засорено. |
Очистить или заменить тефлоновое полотно. |
|
|
Внутренняя сторона начала пакета нечистая. |
Очистить начало пакета. |
|
|
Отсутствие газозаполнения или плохое газозаполнение (если имеется). |
Слишком долгое/непродолжительное время газозаполнения. |
Сократить/увеличить время газозаполнения. |
|
Воздушный баллон пустой или практически пустой. |
Заменить воздушный баллон. |
|
|
Воздушный баллон закрыт. |
Открыть клапан. |
|
|
Неправильная установка параметров давления газозаполнения. |
Проверить, установлен ли манометр на 1 атмосферное давление (1 – АТМ). |
|
|
Уровень вакуума нормальный, но в пакете остаётся газ. |
Плохая репозиция термопластины. Расстояние между термопластиной и силиконовой подкладки слишком большое/маленькое. |
Отремонтируйте термопластину и обеспечьте хорошую репозицию и гибкость/подвижность. Отрегулировать расстояние. |
1.2. Неисправности вакуум-насоса и их устранение
|
Неисправность |
Причина |
Устранение |
|
Плохой запуск или шумная работа. |
Переполнение насоса маслом или неправильный тип используемого масла. |
Проверить уровень и тип масла. |
|
Чрезмерная вязкость при низкой температуре. |
Заменить масло для вакуум-насоса на соответсвующее. |
|
|
Засорен выхлопной фильтр. |
Очистить или заменить фильтр. |
|
|
Перегрев насоса во время работы. |
Переполнение маслом / недостаточно масла. |
Проверить и отрегулировать уровень масла. |
|
Плохое рассеивание тепла. |
Очистить лопасть излучающего насоса и двигатель, чтобы улучшить вентиляцию. |
|
|
Странный шум во время работы. |
Детали запуска изнашиваются или ослабляются. |
Найти и заменить поломанные детали. |
|
Неправильное направление поворота. |
Исправить направление (трёхфазное питание). |
|
|
Утечка масла. Насос коптит. |
Переполнение насоса маслом. |
Спустить лишнее масло. |
|
Выхлопной фильтр установлен в неправильном положении или материал повреждается. |
Переустановить или заменить выхлопной фильтр. |
|
|
Засорен выхлопной фильтр. |
Очистить или заменить фильтр. |
1.3. Неисправности клапана и их устранение
|
Неисправность |
Причина |
Устранение |
|
Плохое уплотнение |
В область уплотнения попали частицы/пыль. |
Очистить |
|
Уплотнительная сторона повреждена. |
Отремонтировать или заменить. |
|
|
Резиновое уплотнение повреждено. |
Заменить. |
|
|
Клапан не открывается и не закрывается. |
Сгорел предохранитель управления. |
Заменить. |
|
Плохой контакт проводов. |
Отремонтировать. |
|
|
Пробой диода кремниевого вентиля. |
Заменить. |
|
|
Перегорела обмотка. |
Заменить. |
|
|
В подъёмной части железного каркаса имеются загрязнения. |
Заменить. |
|
|
|
Блокировка пружины в следствии ржавчины или поломки. |
Заменить. |
|
Слишком низкое напряжение. |
Проверить напряжение сети. |
1.4. Неисправности запечатывающего устройства и их устранение
|
Неисправность |
Причина |
Устранение |
|
Машина не запечатывает. |
Не выбрана температура нагрева. |
Выбрать соответствующую температуру нагрева. |
|
Слишком долгое/непродолжительное время запечатывания. |
Сократить/увеличить время запечатывания. |
|
|
Запечатывание до того, как достигнут уровень вакуума. |
Проверить, чтобы уровень вакуума не превышал 0,6 МПа. |
|
|
Повреждена плоская нить накала. |
Заменить. |
|
|
Трансформатор нагрева повреждён. |
Заменить. |
|
|
Отсутствует контакт запечатывания. |
Отремонтировать или заменить. |
|
|
Не работает клапан термосклеивания. |
Отремонтировать или заменить. |
|
|
Лента термосклеивания блокируется. |
Отремонтировать. |
|
|
Плохое запечатывание. |
Повреждена силиконовая подкладка или в подкладку попал инородный предмет. |
Очистить или заменить силиконовую резину. |
|
Тефлоновое полотно повреждено. |
Очистить или заменить тефлоновое полотно. |
|
|
Внутренняя сторона начала пакета нечистая. |
Очистить начало пакета. |
|
|
Плоская нить накала ослаблена. |
Закрепить. |
|
|
Время охлаждения сокращено. |
Отрегулировать. |
|
|
Неподходящая температура. |
Выбрать подходящую температуру. |
Задание 2. Описать назначение и применение машины серии DZ(Q)-510/2SC
Задание 3. Зарисовать схему машина серии DZ(Q)-510/2SC (стандартная) и обозначить основные части
Задание 4. Описать принцип работы машины DZ(Q)-510/2SC
Задание 5. Определить правила эксплуатации: перед работой, в процессе работы, по окончанию работы
Задание 6. Заполнить таблицу 1.
Таблица 1. Неисправности машины DZ(Q)-510/2SC
|
№ п/п |
Неисправность |
Возможная причина возникновения |
Способ устранения |
|
1 |
Машина не работает и панель управления не отображает информацию. |
|
|
|
2 |
Отсутствие запечатывания или плохое запечатывание. |
|
|
|
3 |
Уровень вакуума нормальный, но в пакете остаётся газ. |
|
|
|
4 |
Странный шум во время работы. |
|
|
|
5 |
Клапан не открывается и не закрывается. |
|
|
Сделать вывод о проделанной работе
КОС 7
Тема 1.7.
Оборудование для подготовки кондитерского сырья.
Устный опрос
1. Назовите оборудование, применяемое для подготовки кондитерского сырья к производству.
2. Для сего предназначена просейвательная машина?
3. Поясните, в чем заключается процесс темперирования?
4. Поясните цель просеивания муки?
5. Каково назначение магнитоулавливателей в мукопросеивательных машинах?
7. Как правильно произвести замес теста в тестомесильной машине?
8. В чем состоит принцип действия взбивальных машин?
9. Что являеться рабочей камерой у взбивальной машине?
10. Принцип работы тестораскаточной машине?
Практическое занятие №5
11. Тема: Изучение правил безопасной эксплуатации для подготовки кондитерского сырья
12. Цель: Изучить устройство, принцип работы, правила безопасной эксплуатации оборудования для подготовки кондитерского сырья
13. Материальное оснащение: индивидуальные задания, средства аудиовизуализации, учебная литература.
14. Теоретические сведенья
15. В кондитерских цехах предприятий общественного питания для приготовления кондитерских и хлебобулочных изделий применяются просеиватели муки, тестомесительные, тестораскаточные, взбивальные, размолочные машины и специальные приводы с комплектом механизмов. Просеивательные машины предназначены для удаления из муки посторонних примесей, а также для рыхления и обогащения кислородом воздуха. Готовые изделия из такого теста получаются более пышные и вкусные. Широкое применение на предприятиях получили просеиватели МПМ-800 и МС24-300 к универсальному приводу ПГ-0,6 и малогабаритныйпросеиватель МПМВ-300. Тестомесительные машины предназначены для замеса теста из пшеничной и ржаной муки. Используются тестомесительные машины ТММ-1 с индивидуальным приводом. Тестораскаточные машины предназначены для раската крутого дрожжевого, песочного и слоеного теста. На предприятиях общественного питания для приготовления пельменей, пирожков, лапши и др. изделий широко применяются тестораскаточная машина МРТ-60М. Взбивальные машины предназначены для замеса теста, а также взбивания кремов, яичного белка и сливок. На предприятиях общественного питания применяются взбивальные машины МВ-35М, МВ-60 и многоцелевой механизм МС 4-7-8-20. На предприятиях общественного питания в кондитерских цехах используют и другие машины и сменные механизмы. Они аналогичны, но разница в том, что за счет модернизации повышена производительность выпускаемой продукции, улучшены экономические показатели, а также повышена продолжительность и безотказность работы машины.
16. Тестомесильные машины по принципу действия подразделяют на машины периодического и непрерывного действия, по конструктивным признакам - на лопастные, пропеллерные, турбинные и роторные.
17. Рабочий орган тестомесильных машин периодического действия имеет горизонтальное, вертикальное или сложное движение.
18. На рис. приведен образец тестомесильной машины, в которой рабочий орган осуществляет сложное движение.
19. 
20. Рис.1 Тестомесильная машина со сложным движением месильного вала:
21. 1 - каретка; 2 - чан; 3 - щит дежи; 4 - месильный орган; 5 - рукоятка месильного устройства; 6 - рукоятка механизма платформы; 7 - корпус; 8 - фундаментная плита; 9 - платформа
22. Рабочий орган машины снабжен фигурной лопастью, которая описывает сложную пространственную фигуру. Дежа при замесе вращается на специальной платформе.
23. Тестомесильная машина состоит из фундаментной плиты, станины, месильного органа, щитка дежи, платформы и электродвигателя.
24. На фундаментной плите укреплены корпус машины и платформа вращения дежи. Одновременно плита служит для установки и закрепления на ней дежи при замесе. В корпусе размещены электродвигатель и червячный редуктор месильного устройства, который конструктивно связан с диском червячного колеса. Редуктор месильного устройства включается в работу с помощью рукоятки.
25. Платформа для вращения дежи приводится в действие от электродвигателя и второго червячного редуктора. Механизм вращения платформы включается муфтой также с помощью рукоятки.
26. Дежа состоит из чана и каретки с двумя ходовыми колесами и одним рулевым колесом. Чан дежи вращается вокруг своей оси с помощью вала. В нижней части вала укреплен фигурный выступ, благодаря чему во время работы машины деже передается вращательное движение.
27. Рабочими органами машины являются два горизонтальных валка, расположенных один над другим. Валки вращаются, захватывают куски теста, обжимают их и выдают в виде тестовой ленты, толщина которой соответствует зазору между валками. Нижний валок вращается в подшипниках, неподвижно закрепленных на станине, верхний валок - в подшипниках, которые могут двигаться в вертикальных направляющих станины при помощи штурвала и механизма перемешивания. При изменении высоты верхнего валка соответственно изменяется зазор между валками и, следовательно, толщина тестовой ленты. По обе стороны раскатывающих валков расположены столы с ленточными транспортерами, один из которых подает тесто в валки, а другой принимает его.
28. Машину снабжают реверсивным приводом для изменения направления движения всех рабочих органов машины.
29. Кусок теста (15 ... 20 кг) укладывают вначале на один транспортер, например налевый, подающий тесто в валки, а правый соответственно будет принимать тесто из валков. Полученную толстую ленту складывают в несколько слоев и многослойный кусок теста поворачивают на транспортере под углом 90 После этого опускают верхний валок, уменьшая зазор между валками. Дают машине обратный реверсивный ход. Правый транспортер подает тесто к валкам, а левый - принимает прокатную тестовую ленту. Эта операция повторяется несколько раз с последовательным уменьшением толщины тестовой ленты. В конце процесса получается тонкая лента слоистой структуры.
30. Для предупреждения травматизма машина снабжена ограждением валков, которое сблокировано с электродвигателем. При открытом ограждении машина не включается.
31. На рис. приведена машина для раскатки теста МРТ-60М производительностью 60 кг/ч с номинальной мощностью 0,55 кВт.
32. 
33. Рис.5 Тестораскаточная машина МРТ-60М: 1 - электродвигатель; 2 - тяги; 3 - винт; 4 - маховик; 5 - кнопочное управление; 6 - валок левой транспортерной ленты; 7- лоток левой ленты; 8 - шарикоподшипник на правой стойке для нижнего раскатывающего валика; 9 - стол; 10 - ограждение; 11 - указатель зазора между валками; 12 - валки; 13 - качающиеся кронштейны; 14 - мукосей; 15 - шарикоподшипник нижнего раскатывающего валика на левой стойке; 16 - лоток правой ленты; 17- валок правой транспортерной ленты; 18- противень; 19- каркас; 20- левая транспортерная лента; 21 - червячный редуктор; 22 - правая транспортерная лента; 23 - шарикоподшипники валков транспортерных лент; 24 - муфты, соединяющие валы электродвигателя и редуктора; 25 - рама каркаса
34. Для раскатки круглого теста, используемого для приготовления чебуреков, пельменей, вареников, используют тестораскаточную машину МТР-32.
35. Диапазон регулирования толщины теста составляет 0,8 ... 6,0 мм. Потребляемая мощность 0,55 кВт.
36. Для интенсификации технологического процесса получения полуфабриката для различного вида мучных кондитерских изделий применяют взбивальные машины. На пищевых предприятиях используют машины различных марок как отечественного, так и зарубежного производства.
37. Для приготовления бисквитного теста применяют машину РЗ-ХВА, в которой замес осуществляют под давлением, что значительно снижает продолжительность сбивания.
38. Сжатый воздух подается в рабочую емкость от компрессорного агрегата типа ХКС-2М со встроенным ресивером через трубопровод, на котором смонтирован манометр, контролирующий давление.
39. Мука из расположенного над машиной автомукомера и темперированная смесь из сахара и меланжа поступают в емкость через загрузочный люк. После загрузки люк герметично закрывается крышкой. Для равномерного смешивания загруженного сырья включается привод вала и в емкость впускается воздух. Внутри емкости на горизонтальном валу смонтирована крестообразная мешалка, приводимая в движение от электродвигателя через ременную передачу. Продолжительность замеса порции бисквитного те
40. Крышка люка сблокирована с электродвигателем через конечный выключатель.
41. Взбивальная машина МВ-60 (рис.) предназначена для приготовления кремов, майонезов, муссов, замесов жидких видов теста и других смесей в кондитерских цехах предприятий общественного питания.
42. 
43. Рис.6 Взбивальная машина МВ-60: 1 - станина; 2 - электродвигатель; 3 - коробка скоростей; 4 - коническое колесо; 5 - вертикальный вал; б - корпус вала отбора мощности; 7- вал отбора мощности; 8- нижняя крышка; 9- сателлит; 10- рабочий валик; 11 - штифт; 12- подставка; 13- фиксатор; 14- кольцо бачка; 15- сбиватель; 16- бачок; 17-тележка; 18- плита
44. Машина состоит из следующих узлов: плиты, станины, коробки скоростей, тележки, бачка с тремя сбивателями. В станине размещены механизм подъема бачка и электрооборудование. Вместе со станиной отлиты направляющие, по которым перемещается кронштейн, несущий на себе бачок. Бачок крепится на кронштейне с помощью штырей и упора.
45. Для регулирования зазора между бачком и взбивателем на кронштейне вверху имеется винтовой упор. Подъем и опускание кронштейна с бачком осуществляются при вращении рукоятки. Закрепляют бачок в рабочем положении фиксирующим устройством.
46. Коробка скоростей служит для передачи вращения от электродвигателя к взбивателю и для изменения частоты его вращения. Она состоит из чугунного корпуса, верхнего вала, шестерни и нижнего шлицевого вала с насаженным на него блоком шестерен. К фланцу чугунного корпуса крепится электродвигатель. На его вал насажена шестерня, передающая вращение через коническое колесо на вертикальный вал, от которого через планетарную передачу получает сложное планетарное движение взбиватель. Взбиватель крепят в приливе нижней крышки бачка. Последняя, получая вращение от конического колеса, вращает рабочий валик и шестерню, которая обкатывается вокруг солнечного колеса. Таким образом взбиватель получает сложное вращение вокруг собственной оси и оси бачка.
47. Тележка служит для транспортирования бачка с готовым полуфабрикатом к месту его дальнейшей обработки.
48. Ход работы
49. Задание 1. Перечислите виды оборудования используемое для подготовки кондитерского сырья
50.
51. Задание 2. Заполнить таблицу 1, в которой укажите наименование машины, назначение, основные части и узлы, принцип действия машины.
|
№ п/п |
наименование машины |
назначение |
основные части и узлы |
принцип действия машины |
|
1 |
|
|
|
|
|
2 |
|
|
|
|
|
3 |
|
|
|
|
|
4 |
|
|
|
|
|
5 |
|
|
|
|
52.
53. Задание 5. Сформулировать правила техники безопасности и безопасности труда на машинах в кондитерском цехе
54. Задание 6. Ознакомиться с теоретическими сведеньями, изучить схемы оборудования.
55. Сделать вывод о проделанной работе
Раздел 2. Тепловое оборудование
КОС 8
Тема 2.1. Классификация теплового оборудования
Устный опрос
КОС 9
Тема 2.2.Варочное оборудование
Устный опрос
1. Классификация варочного оборудование?
1. Как классифицируются пищеварочные котлы по способу установки варочного сосуда:
а) непрерывные и периодические б) модельные и немодульные в) неопрокидывающиеся, опрокидывающиеся, съемные
2. Что используется в качестве теплоносителя в пароводяной рубашке пищевар. котла КЭП – 100:
а) минеральное масло б) дистиллированная вода в) все вышеперечисленное
3. Как закреплен корпус котла КЭП-60 опрокидывающийся на чугунной вилкообразной станине:
а) при помощи цапф б) при помощи поворотных болтов в) корпус не вращается
4. Герметично закрывающийся варочный сосуд, в котором приготовление пищи осуществляется под давлением, превышающим атмосферное, называется:
а) устройство электрическое варочное б) автоклав в) варочный котел
5. Что является рабочим органом в котле КПГ-160:
а) газовая горелка б) пароводяная рубашка в) тэны
6.Для чего предназначена клапан-турбинка, установленная на верхней части крышки котла:
а) для предупреждения образования избыточного давления в варочном сосуде
б) для контроля давления в пароводяной рубашке в) все вышеперечисленное
7.Для чего предназначен АПЭСМ – 4:
а) для варки основным способом б) для жарки продуктов в) для варки на пару
8.Что обозначает цифра 7 в кофеварке КВЭ – 7:
а) производительность б) вместимость в) мощность
9.Какое оборудование используется для варки сосисок:
а) СНЭ-15 б) КПЭСМ-160 в) МОК-250
10.Для чего предназначен манометр:
а) для контроля уровня воды б) для контроля температуры пара в рубашке котла в) для контроля давления пара в рубашке котла
Ключ: 1в 2б 3а 4б 5а 6а 7в 8б 9а 10в
Практическая работа№6.
Тема: Изучение правил безопасной эксплуатации варочного оборудования
Цель: Изучить устройство, принцип работы, правила безопасной эксплуатации варочного оборудования
Ход работы
Задание 1. Ознакомиться с теоретическими сведеньями, изучить схемы варочного оборудования.
Варка пищевых продуктов осуществляется в технологических жидкостях (вода, молоко), являющихся компонентами кулинарной продукции. Широкое распространение получает также прогрессивный процесс, варка продуктов в атмосфере влажного насыщенного пара (острый пар) при его непосредственном воздействии на продукты во время варки. Устройство и конструкция пищеварочных котлов должна соответствовать технологическим требованиям конкретного процесса варки пищевого продукта.
В настоящее время на предприятиях общественного питания эксплуатируются пищеварочные котлы различных типов, отличающихся способом обогрева, вместимостью варочного сосуда и видом энергоносителей.
По способу установки пищеварочные котлы классифицируются на неопрокидывающие, опрокидывающие и со съемным варочным сосудом. В настоящее время промышленность выпускает неопрокидывающие пищеварочные котлы, вместимостью варочного сосуда более 100 дм 3 , а опрокидывающие пищеварочные котлы менее 100 дм 3 . Пищеварочные котлы со съемочным варочным сосудом имеют вместимость менее 60 дм 3 .
В зависимости от способа обогрева различают пищеварочные котлы с косвенным и непосредственным подогревом. Так котлы с непосредственным обогревом могут работать на твердом топливе, газе и электрическом обогреве.
По устройству и эксплуатации они очень просты, но имеют существенные недостатки: низкий КПД, очень сложно регулировать тепловой режим, возможность пригорания продуктов к дну варочного сосуда. Пищеварочные котлы с косвенным обогревом работают при помощи пароводяной рубашки, где в качестве промежуточного теплоносителя используется дистиллированная вода.
В зависимости от давления в варочном сосуде все котлы классифицируются на пищеварочные котлы, которые работают при атмосферном давлении, и автоклавы, работающие при повышенном давлении.
По геометрическим размерам варочного сосуда пищеварочные котлы классифицируются на смодулированные, секционные модулированные и котлы под функциональные емкости. Смодулированные пищеварочные котлы имеют цилиндрическую форму варочного сосуда. Секционные модулированные котлы и котлы под функциональные емкости имеют варочный сосуд в виде прямоугольного параллелепипеда.
По классификации все пищеварочные котлы имеют буквенно-цифровую индексацию. У немодулированных котлов буквы обозначают группу, вид котла и вид энергоносителя. Цифры показывают вместимость варочного сосуда в дм 3 . Например, индекс котла КПЭ-100 расшифровывается таким образом: К- котел, П - пищеварочный, Э - электрический, 100 - вместимость в дм 3 . У секционных модулированных котлов к буквенному индексу добавляются буквы СМ, что означает - секционный модулированный. Например, индекс котла КПЭСМ-60 расшифровывается так: котел пищеварочный электрический секционный модулированный вместимостью 60 дм 3 . Пищеварочные котлы под функциональные емкости индекс включает буквы: К — котел, Э — электрический, число показывает вместимость варочного сосуда в дм 3 . Например, котел КЭ-100.
Индекс устройств со съемным варочным сосудом (например, УЭВ-40) расшифровывается — устройство электрическое вместимостью 40 дм 3 . Пищеварочные котлы, работающие на повышенном давлении в варочном сосуде, имеют индекс, например, АЭ-60 расшифровывается так, автоклав электрический, вместимость варочного сосуда 60 дм 3 . В настоящее время промышленность выпускает варочные котлы твердотопливные, с электрическим, газовым и паровым обогревом. По конструкции они бывают неопрокидывающие (стационарные), опрокидывающие, секционные модулированные, с повышенным давлением (автоклав), с функциональной емкостью, а также устройства электрические со съемным варочным сосудом.
На предприятиях общественного питания используют паровые пищеварочные котлы КПП-100, КПП-160 и КПП-250. Они имеют одинаковую конструкцию и различаются только размерами рабочего сосуда.
Широкое применение на предприятиях общественного питания имеют электрические пищеварочные котлы неопрокидывающиеся КПЭ-100, КПЭ-250, КЭ-100, КЭ-160, КЭ-250 и опрокидывающиеся КПЭ-40, КПЭ-60, КПЭСМ-60, а также устройства со съемным варочным сосудом УЭВ-40, УЭВ-60.
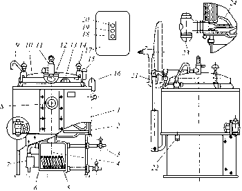
Конструктивная схема пищеварочного котла КПЭ-100 показана на рис.

Рис. Котел пищеварочный электрический КПЭ-100:I - облицовка; 2 - тепловая изоляция; 3 - пробноспускной кран; 4 - датчик; 5 - тэны; б - парогенератор; 7 - реле давления; 8 - манометр; 9 - поворотный кран; 10 - крышка; 11 - клапан-турбинка; 12 - отражатель клапана-турбинки; 13 - прокладка; 14 - накладные рычаги; 15 -воронка; 16- двойной предохранительный клапан; / 7-станция управления; 18 - ручка; 19 - лампа «Включено»; 20 - лампа «Нет воды»; 21 - противовес; 22 - трубопровод холодной воды; 23 - сливной кран; 24 - фильтр
Котел стационарно крепится на постаменте. В парогенераторе, размещенном под днищем корпуса котла, смонтированы шесть тэнов. Котел герметически закрывается двухстенной крышкой, уравновешенной противовесом, который позволяет фиксировать ее в любом положении.
Котел снабжен автоматическим управлением теплового режима, электроконтактным манометром, двойным предохранительным клапаном, клапаном-турбинкой, световой сигнализацией и станцией управления. Кроме того, предусмотрена защита тэнов от «сухого» хода, которая предохраняет котел от включения, когда тэны не полностью покрыты водой, а также отключает котел от электрической сети при понижении уровня воды в пароводяной рубашке ниже допустимого. В обоих случаях срабатывает световая сигнализация.
Котел работает в двух режимах. Первый режим обеспечивает автоматическое отключение пяти тэнов от сети при максимально допустимом давлении и включение цх после снижения давления до нижнего предела; второй режим осуществляет автоматическое отключение всех тэнов от сети после установления в паровой рубашке заданного давления.
Котел пищеварочный электрический секционный модулированный КПЭСМ-60М представляет собой опрокидывающийся варочный сосуд с пароводяной рубашкой.
Для подачи воды в варочный сосуд к внутренней стороне правой тумбы прикреплен водопровод со смесителем в нижней части и наливной трубкой - в верхней. Для контроля за режимом работы котла служат сигнальные лампы: для режима «Сильно» - зеленая; «Слабо» - желтая; «Нет воды» - красная. Уровень воды в пароводяной рубашке проверяют с помощью спускного крана. Предохранительные клапаны служат для регулирования давления в пароводяной рубашке.
Работа котла происходит следующим образом. Тэны разогревают воду в пароводяной рубашке до кипения, образующийся пар заполняет пространство пароводяной рубашки и вытесняет из нее воздух, который выходит через воздушный клапан. После закрытия воздушного клапана давление в пароводяной рубашке начинает расти до верхнего заданного предела. Если давление будет выше 0,05 МПа (0,5 атм), электроконтактный манометр (ЭКМ) отключит тэны от питающей сети или переведет схему на слабый нагрев. В случае неисправности ЭКМ срабатывает предохранительный клапан.
На рис. приведена принципиальная схема конструкции сферического вакуум-аппарата периодического действия.

Рис. Сферический вакуум-аппарат: 1 - медная чаша; 2- паровая рубашка; 3-кран для продувки воздуха; 4 -зубчатая передача; 5- штуцер всасывания смеси; б- медный колпак; 7- термометр; 8- накидная гайка; 9 - трубопровод; 10- патрубок; 11 - вакууметр; 12 - кран для взятия проб; 13- манометр; 14- предохранительный клапан; 15 - электродвигатель; 16 - паровой вентиль; 17 - мешалка; 18 - затвор; 19 - вентиль для конденсата; 20 - воздушный кран; 21 - смотровое окно; 22 - редуктор
Разрежение в рабочей зоне (чаше) способствует снижению температуры уваривания продукта.
Вакуум-аппарат представляет собой неопрокидывающийся двухстенный варочный котел, внутри которого смонтирована мешалка. Чаша помещена в стальную паровую рубашку, на которой с правой стороны находится паропроводящий патрубок с вентилем, манометром и предохранительным клапаном. С левой стороны паровой рубашки предусмотрены воздушный кран для продувки парового пространства и вентиль для присоединения конденсатоотводчика.
Чаша котла закрыта колпаком, на котором смонтированы термометр, вакууметр и воздушный кран с воронкой. Колпак заканчивается патрубком для присоединения трубопровода. Внутри колпака имеется отбойник для предотвращения уноса продукта в вакуум-линию.
Трубопровод соединяет вакуум-аппарат с конденсатором мокровоздушного поршневого вакуум-насоса для создания и поддержания разрежения в вакуум-аппарате.
Вакуум-аппарат загружают продуктом через штуцер, который засасывается с помощью вакуум-насоса и гибкого шланга в рабочую зону. Для выгрузки служит нижний спускной штуцер с затвором. Для взятия проб установлен специальный кран. За процессом загрузки и уваривания продукта наблюдают через смотровые окна.
Мешалка приводится во вращение от электродвигателя через червячный редуктор и пару зубчатых колес. Вал мешалки имеет сальниковое уплотнение.
Для варки заправочных супов, вторых и третьих блюд, гарниров, тушения овощей, а также транспортирования готовых блюд на линию раздачи и сохранения их в горячем состоянии используют устройства электрические варочные УЭВ-60 и УЭВ-40.
Варочное устройство представляет собой передвижной котел с парогенератором.
На парогенераторе установлены три тэна, датчик защиты от «сухого хода», наполнительная воронка, манометр, предохранительный клапан, ручка переключателя режимов работы варочного устройства.
К парогенератору приварены направляющие, по которым производится перемещение котла для стыковки его с парогенератором с помощью рычажного парозапорного устройства.
Приготовление лечебного, детского и диетического питания, когда требуется максимально сохранить пищевую ценность сырья, осуществляют на «остром» пару. При этом способе термической обработки насыщенный пар, непосредственно соприкасаясь с продуктами, конденсируется и отдает им теплоту парообразования.
Для варки на пару мяса, рыбы, овощей, а также для разогрева различных кулинарных изделий применяют пароварочные аппараты отечественного производства АПЭСМ-1, АПЭСМ-2, АПЭ-023А, АПЭ-023А-01.
На рис приведена конструктивная схема пароварочного аппарата АПЭСМ-2.

Рис. Пароварочный аппарат АПЭСМ-2: 1 - вентиль на сливном трубопроводе; 2-тэны; 3- парогенератор; 4 - ножки; 5-дверца камеры; 6 - вентиль на парогенераторе; 7 - замок; 8 - основание; 9 - пульт управления; 10 - болт заземления; 11 - кожух клеммника тэнов; 12 - питательный бачок; 13 - датчик системы автоматики защиты от «сухого хода»; 14 - паропровод; 15 - сотейник перфорированный; 16 - съемный угольник для установки посуды; 17 - варочная камера; 18 - сотейник неперфорированный; 19 - колпак (верхняя крышка); 20 - трубопровод для отвода конденсата в канализацию; 21 - лампы сигнальные; 22 - выключатель; 23 - переключатель
Принцип работы аппарата основан на прямом обогреве содержимого варочных камер паром при атмосферном давлении, который образуется при нагреве воды в парогенераторе трубчатыми электронагревателями.
Если давление в водопроводной сети нормальное, включаются катушки магнитных пускателей. При замыкании контактов магнитные пускатели становятся на самопитание. При этом тэны подключаются к сети и включается световая сигнализация «Нагрев». Пароварочный аппарат выходит на стационарный режим работы через 20 мин.
Защита тэнов парогенератора от «сухого хода» осуществляется с помощью датчика, который срабатывает, когда давление воды в водопроводной сети становится ниже 0,05 МПа (0,5 атм).
Автоклавы не имеют широкого распространения на предприятиях общественного питания, так как требуют длительной тепловой обработки пищевого сырья. Используют их для выварки мясокостного сырья для получения отдельных видов кулинарной продукции (бульонов, холодцов и др.).
Автоклав представляет собой варочный сосуд, заключенный в стальной теплоизолированный корпус. В нижней части паровой рубашки расположен парогенератор с тремя тэнами общей мощностью 10,8 кВт, обеспечивающими нагрев воды до температуры кипения и превращение ее в пар.
Автоклав комплектуют контрольно-измерительными приборами и предохранительной арматурой, трубопроводами горячего и холодного водоснабжения, автоматикой регулирования теплового режима и защиты тэнов от «сухого хода».
В процессе тепловой обработки пищевых продуктов в варочном сосуде создается давление до 320 кПа (3,2 атм). Для выпуска воздуха в начале варки и пара повышенного давления в конце ее на крышке автоклава предусмотрен кран продувки.
К варочному оборудованию относят кофеварки. В кофеварках периодического действия напиток получают в результате многократной циркуляции кипящей воды при атмосферном давлении через сито, заполненное молотым кофе. В экспресс-кофеварках используют фильтрационный способ, при котором через слой кофе при повышенном давлении пропускается кипящая вода. При этом происходит экстрагирование ароматических экстрактивных веществ.
Сила, под действием которой вода проходит через слой кофе, создается либо давлением пара, образующимся в котле, либо поршнем, приводимым в движение вручную или гидравлическим приводом.
На рис. показана схема экспресс-кофеварки с гидравлическим усилием.

Рис. Принципиальная схема экспресс-кофеварки:
1 - блок-край; 2 - шкала термометра; 3 - чувствительный элемент термометра; 4,10,16- вентили; 5- водогрейный котел; б - предохранительный клапан; 7- манометр; 8 - змеевик; 9 - водомерное стекло; 11 коллектор; 12 - паровое сопло; 13 - чаша-держатель; 14 - умягчитель воды; 15 - линия подачи холодной воды; 17 - тэн; 18 - гильза для отбора горячей воды; 19 - линия отвода конденсата
Вода, используемая для приготовления напитка, поступает в змеевик, размещенный в водогрейном котле, соединенном с водопроводной сетью поплавковым клапаном, нагревается там и через распределительный коллектор подается в блок-краны с кнопочным управлением и гидравлическим усилителем.
Водогрейный котел снабжен предохранительным клапаном и терморегулятором.
Блок-кран открывает проход для воды из змеевика и за счет давления, под которым вода находится в змеевике, она проходит через слой молотого кофе. Готовый напиток наливается в чашку, поставленную под рожок головки блок-крана.
Для поддержания необходимого давления воды (не менее 250 кПа) она подается насосом через гидравлический усилитель от питательного блока для воды. Насос нагнетает воду в бак до тех пор, пока давление в нем и связанном с ним змеевике не поднимется до требуемого значения.
На предприятиях общественного питания используют экспресс-кофеварки разнообразных типов отечественного и импортного производства, отличающиеся главным образом дизайном и системой управления, но работающие по описанному принципу.
Задание 2. Классификация варочного оборудования
Задание 3. Заполнить таблицу 1, в которой укажите, назначение, основные части и узлы, принцип варочного оборудования.
|
№ п/п |
наименование варочного оборудования |
назначение варочного оборудования |
основные части и узлы варочного оборудования |
принцип действия варочного оборудования |
|
1 |
Котел пищеварочный электрический КПЭ-100 |
|
|
|
|
2 |
Сферический вакуум-аппарат |
|
|
|
|
3 |
Пароварочный аппарат АПЭСМ-2 |
|
|
|
|
4 |
экспресс-кофеварка |
|
|
|
Задание 4. Сформулировать правила безопасной эксплуатации варочного оборудования
Задание 5. Ответить на вопросы:
1. Какие функции выполняет двойной предохранительный клапан?
3. Какие функции выполняет клапан-турбинка?
4. Какие имеются автоматические режимы котла?
Сделать вывод о проделанной работе
КОС 10
Тема 2.3. Жарочное оборудование
Устный опрос
1. Назовите аппараты, прмиеняемые на предприятиях общественного питания для жаренья и выпекания продуктов питания.
2. Расшифруйте символ обозначения оборудования ШПЭСМ-3 и назовите основные правила эксплуатации.
3. Назовите устройство и правила эксплуатации электрических сковород.
4. Назовите принцип работы и устройство электросковороды СКЭ-0,3.
5. Как регулируется температура марочных шкафов?
6. Назначение устройства и принцип работы КЭП-400.
Практическое занятие №7
Тема: Изучение правил безопасной эксплуатации жарочного оборудования
Цель: изучить устройство и принцип действия теплового оборудования.
Материальное оснащение: индивидуальные задания, средства аудиовизуализации, учебная литература.
Теоретические сведенья
Технологическая сущность процессов выпечки и жарки продуктов заключается в доведении их до состояния готовности путем воздействия на них промежуточной среды (воздух, соусы, бульоны) нагретых на жарочных поверхностях или в рабочих объемах аппаратов до температуры 150-350°С. К особой группе технологических процессов относится жарка и выпечка в поле СВЧ-токов и ИК-излучений, т.к. эти процессы отличаются физическими особенностями взаимодействия СВЧ-поля иИК-излучения с продуктами. На предприятиях общественного питания для жарения продуктов применяются сковороды, фритюрницы и жарочные конвейерные машины, а для выпечки кондитерских изделий - шкафы кондитерские, пекарские и электрические печи.
Сковороды. В сковородах тепловая обработка продуктов производится непосредственно на жарочной поверхности преимущественно основным способом. По способу обогрева жарочной поверхности и виду энергоносителей различают сковороды с непосредственным и косвенным обогревом, электрические и газовые. В связи со спецификой процессов жарки продуктов основным способом сковороды должны соответствовать следующим технологическим требованиям: — жарочная поверхности сковороды должна быть хорошо отшлифована и иметь горизонтальную поверхность; — температура всей жарочной поверхности сковороды должны быть равномерной; — на сковородах разрешается осуществлять только жарку продуктов основным или косвенным способами и запрещается использовать для фритюрной жарки продуктов. В настоящее время на предприятиях общественного питания широко используются электрические сковороды только с непосредственным обогревом — это сковороды секционно-модулированные СЭСМ-0,2 и СЭСМ-0,5. Кроме этого в эксплуатации имеются сковороды СКЭ-0,3; СЭ-1 и СЭ-2, а также сковороды новой конструкции СЭ-0,45 и СЭ-0,22, которые предназначены для работы с функциональными емкостями.
Сковорода электрическая секционная модулированная СЭСМ-0,2. (рис.2) предназначена для жарения продуктов основным способом и во фритюре, пассерования овощей, тушения, а также припускания 134 1 2 3 1 Рис. 11-1.
Сковорода имеет прямоугольную чугунную чашу, облицованную стальными листами; покрытую белой эмалью и установленную на двух тумбах. Ее откидная крышка может удерживаться в любом положении с помощью двух пружин, размещенных внутри тумб. Между чугунной чашей и облицовкой проложен слой асбеста и фольги, служащий тепловой изоляцией. Нагрев чаши сковороды осуществляется электрическими спиралями, расположенными в специальных канавках под ее днищем и изолированные фарфоровыми бусами. На задней стороне чаши установлен терморегулятор ТР-4К, который предназначен для автоматического поддержания заданной температуры на рабочей поверхности. Сковорода крепится с правой и левой стороны при помощи цапф и кронштейнов, которые смонтированы внутри тумб. Тумбы облицованы белыми листами, образуя вспомогательные столы. Внутри правой тумбы смонтирован механизм опрокидывания, который удерживает сковороду в любом положении от 0 до 90°С. 135 На передней облицовке левой тумбы смонтированы кнопки управления и две сигнальные лампочки, а внутри ее панель с электроаппаратурой. Сковорода СЭСМ-0,5 по конструкции, принципу действия аналогична сковороде СЭСМ-0,2 и отличается от нее только большими размерами и потребляемой мощностью.

Рис. 2. Сковорода электрическая секционная модулированная
СЭСМ-0.2
1 - чаша, 2 - спирали
электрические, 3 - тумба, 4 - пружины растяжные, 5 - кронштейн,6 - механизм
опрокидывания, 7 - цапфа, 8 - рама, 9 - панель с электроаппаратурой.
На передней облицовке левой тумбы смонтированы кнопки управления и две сигнальные лампочки, а внутри ее панель с электроаппаратурой.
Фритюрница электрическая секционно-модулированная ФЭСМ-20(рис. 3).
Основанием фритюрницы служит стол с ванной на регулируемой ножках, изготовленных из нержавеющей стали. Жарочная ванна имеет прямоугольную форму с переходом в нижней части в усеченную пирамиду, к которой приварен маслоотстойник с фильтром и краном для слива жира в бачок. Нагрев жира осуществляется тенами, погруженными непосредственно в его объем. Тены установлены на специальном держателе, что позволяет вынимать их из ванн для санитарного и технического осмотра.

Рис.
3 Фритюрница электрическая секционно-модулированная ФЭСМ-20:
1-рама; 2-облицовка; 3-жарочная
ванна; 4-тэны; 5-сетчатая корзина; 6-тэнодержатель; 7-сгол;
8-термобаллон терморегулятора; 9-маслоотстойник; 10-фильтр; 11-кран; 12-ножки;
13-сливной бачок.
Регулирование температуры нагрева жира происходит автоматически с помощью терморегулятора ТР-200. На передней верхней части фритюрницы расположены сигнальные лампы и пакетный переключатель. Зеленая лампа показывает включение в работу тенов, а желтая — по достижении заданной рабочей температуры жира.
Жаренье продуктов производится в сетчатой корзине из нержавеющей стали, погружаемой в жарочную ванну с горячим маслом. Корзина имеет ручки и крючок с помощью которого она подвешивается на скобу для стекания масла
Шкаф пекарский электрический секционно -модулированный ШПЭСМ-3(рис. 11-11).
Может устанавливаться на предприятиях общественного питания или в составе технологических линий. Шкаф предназначен для выпечки только кондитерских и мелких хлебобу-лочных изделий. Он имеет сварную подставку на которой установлены одна над другой три секции (камеры). С задней и боковых сторон и сверху шкаф облицован стальными эмалированными листами. Пространство между секциями и облицовкой заполнено теплоизоляционным материалом.
Дверцы шкафа закреплены шарнирами и теплоизолированы, они имеют задвижку для удаления из секции испарений, Образующихся при выпечке кондитерских изделий.
В правой части шкафа находится отсек с тремя блоками управления (для каждой секции отдельно). На лицевой панели блока сконструированы сигнальные лампы, показывающие наличие переключателей, с помощью которых регулируют интенсивность нагрева и лимб терморегулятора, автоматически поддерживающего в рабочей камере заданную температуру.
Шкаф пекарный ЭШ-ЗМ имеет аналогичную конструкцию, но изготовлен не в модулированном исполнении.

Рис. 4. Шкаф пекарный ШПЭСМ-З:
1-панель управления; 2-ручка;
3-дверца; 4-задвижка; 5,7-облицовки; 6-подставка; 8-теплоизоляция;
9-термобаллон датчика-реле температуры; 10-верхние тэны; 11-рабочая камера;
12-кондитерский лист; 13-подовый лист; 14-нижние тэны; 15-датчик-реле
температуры
Ход работы
Задание 1. Ознакомиться с теоретическими сведеньями, изучить схемы оборудования
Задание 2. Классификация теплового оборудования
Задание 3. Заполнить таблицу 1, в которой укажите наименование машины, назначение, основные части и узлы, принцип действия машины.
|
№ п/п |
наименование оборудования |
назначение |
основные части и узлы |
принцип действия оборудования |
|
1 |
|
|
|
|
|
2 |
|
|
|
|
|
3 |
|
|
|
|
|
4 |
|
|
|
|
|
5 |
|
|
|
|
Задание 4. Сформулировать правила безопасной эксплуатации теплового оборудования.
Сделать вывод о проделанной работе
КОС 11
Тема 2.4.Многофункциональное оборудование СВЧ-аппараты
Устный опрос.
1. Для чего предназначен пароконвектомат?
2. Назовите положительные и отрицательные стороны разных систем?
3. Сформулируйте правила безопасной эксплуатации пароконвектомата?
Сформулируйте правила безопасной эксплуатации термомикса?
4. Назначение микроволновых печей?
Практическое занятие № 8
Тема: Изучение правил безопасной эксплуатации пароконвектомата, термомиксов. Цель: Изучить устройство, принцип работы, правила безопасной эксплуатации пароконвектомата, термомиксов и водогрейного оборудования
Часть I. Ход работы
Задание 1. Ознакомиться с теоретическими сведеньями, изучить конструкцию пароконвектомата.
Пароконвектомат - это тепловое, технологическое оборудование нового поколения, предназначенное для предприятий питания: ресторанов, кафе, столовых. Он используется для обработки продуктов с помощью конвекции и воздействия паром. Пароконвектомат способен успешно заменить целый ряд кухонного оборудования: духовой шкаф, плиту, сковороду, пищевой котёл и пароварку.
С его применением можно жарить, варить, запекать, бланшировать и выполнять другие основные и вспомогательные способы тепловой обработки продуктов. И всё производится в одной рабочей камере со значительной экономией времени приготовления блюд, производственных площадей, количества обслуживающего персонала и потребления электроэнергии. Блюда, приготовленные с применением пароконветомата, отличаются высокими вкусовыми качествами и необычайной пользой для организма, так как в них сохраняется максимальное количество полезных питательных веществ. Кроме этого, значительно снижаются потери продуктов в процессе тепловой обработки.
Первый пароконвектомат был выпущен в 1976 году немецкой компанией Rational, которая совместила в одном устройстве функции пароварки и конвекционной печи. Такое новшество значительно упростило технологию термической обработки продуктов и сразу же пришлось по душе ведущим шеф-поварам, которые с его помощью получили возможность воплощать в жизнь свои смелые кулинарные фантазии.
В пароконвектомате предусмотрено два основных режима работы: конвекция и воздействие паром. Возможно также использование комбинированного метода работы, а именно: применение и конвекции, и пара одновременно.
Конвекция - это циркуляция горячего воздуха, нагретого ТЭНами по всему объёму рабочей камеры. Воздух, имеющий температуру 270", с помощью вентилятора подаётся от нагревательных элементов, а затем снова направляется к ТЭНам. С использованием данного режима можно готовить практически все блюда, для традиционного приготовления которых используется духовой шкаф: бисквитное тесто, выпечка, хлеб, пицца, мясные и рыбные блюда. Под воздействием потока горячго воздуха образуется румяная, хрустящая корочка, которая предотвращает потери сока в крупных кусках мяса и рыбы, а выпечке придаёт особую пышность и привлекательный внешний вид.
Для образования пара в пароконвектомате может быть установлена бойлерная или инжекторная системы образования пара. Бойлерная система предусматривает установку в рабочей камере бойлера, выполненного в виде колбы с водой, внутри которой находится нагревательный элемент. После быстрого нагрева и закипания горячий пар через специальный клапан поступает в рабочую камеру, где и воздействует на продукты. В инжекторной системе парообразования установлена специальная турбина, в центр которой через набольшую трубочку подаётся вода. Вихревой поток турбины диспергирует воду на мельчайшие частицы, которые направляются к ТЭНам, испаряются и наполняют паром рабочую камеру. Режим пара позволяет приготовить разнообразные блюда: отварные макароны, овощи, мясо и рыбу на пару и многие другие.
Комбинированный приём с применением конвекции и пара позволяют осуществлять процесс приготовления пищи в широком диапазоне температур, который может колебаться от 35" до 270". Сам процесс приготовления присходит значительно быстрее и проще. Необходимо только осуществить закладку продуктов, установить необходимый режим, и через определённое время блюдо будет приготовлено. Пароконвектомат позволяет размораживать продукты в оптимальном режиме и производить разогрев блюд без ухудшения органолептических показателей.

Пароконвектоматы являются универсальным видом теплового оборудования. Они позволяют обрабатывать пищевые продукты в следующих режимах: •
варка на пару; варка в щадящем режиме; варка в режиме перегретого пара; конвекционная жарка; комбинированный паро-конвекционный режим (комби - режим).
Кроме этого пароконвектомат используют для вспомогательных способов тепловой обработки: бланширования; размораживания, разогрева (регенерации) блюд.
Анализ литературных данных и рекомендаций производителей показал, что использование пароконвектомата в некоторой степени меняет технологию, режимы приготовления и рецептурный состав кулинарной продукции. Для эффективного управления технологическим процессом приготовления продукции с использованием пароконвектомата необходимо накапливать информацию по оптимальным параметрам технологического процесса обработки различных видов сырья и полуфабрикатов.
Для приготовления в пароконвектомате используют сплошные (маркировка GN), перфорированные или сетчатые (маркировка GNP) гастроемкости различной высоты (типоразмера GN1\1, GN 2\3 и др.), решетки и другие приспособления, от правильного выбора которых часто зависит качество готовой продукции, например, в противне с высокими бортами (65 мм) изделия из теста пропекаются неравномерно.
В режиме «варка на пару» готовят овощи, грибы, мясо, рыбу, яйца вкрутую, а также варят каши, кнели и т.п. Этот режим можно использовать для бланширования и размораживания продуктов. Для варки используют перфорированные или сплошные гастроемкости. Продукты раскладывают тонким слоем, а порционные полуфабрикаты на небольшом расстоянии друг от друга. При варке круп в гастроемкость добавляют воду, молоко или бульон. Производители, как правило, дают советы по приготовлению рассыпчатых каш, риса для суши и т.п. Рекомендации по приготовлению и сведения о соотношении жидкости и крупы для вязких каш, характерных для русской кухни, отсутствуют.
Продукты с нежной структурой, требующие более «деликатного» приготовления, рекомендуется варить на пару при пониженной температуре 60- 90"С. Например, яйца всмятку при температуре 65 "С, рыбу при температуре 70° С, куриное филе при температуре 80° С. Наоборот, для продуктов с более плотной консистенцией (картофеля, моркови, кольраби) в некоторых моделях пароконвектоматов предусмотрен режим варки при повышенной до 110-130° С температуре, что по данным производителей позволяет сократить сроки тепловой обработки.
Режим «конвекционная жарка» используется для приготовления порционных полуфабрикатов из мяса, птицы, рыбы. Этот режим используют также для запекания блюд и выпечки изделий из теста. Производители рекомендуют устанавливать температуру в рабочей камере на 25-300 С ниже, чем в обычном жарочном шкафу, использовать сплошные гастроемкости с невысокими бортами.
Гастроемкости смазывают жиром с помощью кисточки, раскладывают полуфабрикаты на некотором расстоянии друг от друга и также смазывают их сверху жиром. Известно, что в этом случае расход жира для жарки снижается, но нормы жира точно не определены и требуют уточнения. В процессе жарки изделия не переворачивают.
Отличительной особенностью пароконвектоматов является комбинированный паро-конвекционный режим. Он подходит для приготовления крупных кусков мяса, птицы целиком, изделий из дрожжевого теста и т.п. Для более точного контроля над процессом жарки используют датчик температуры. Горячий и влажный воздух в рабочей камере обеспечивает более равномерный нагрев продуктов, предотвращает их подсыхание. Режим «разогрев» используют для одновременного разогревания большого количества блюд непосредственно в тарелках. Рекомендуемая тем-пература 120-140° С, влажность 40-60%. Продолжительность разогрева 5-8 мин.. Соус к блюду подливают после разогрева.
В пароконвектомате возможно одновременное приготовление разных продуктов, если режим их тепловой обработки совпадает, при этом практически не происходит переноса запаха. Например, в режиме «варка на пару» можно одновременно готовить овощи, яйца, рыбу, куриное филе, разместив их на разных уровнях. Время тепловой обработки у каждого продукта будет свое.
При эксплуатации пароконвекционной печи необходимо соблюдать следующие правила и технологические приемы:
1. Предварительный прогрев оборудования перед началом работы.
Предварительный прогрев рабочей камеры пароконвектомата осуществляется путем включения печи на 10-15 минут при температуре, которая на 30-40°С превышает той, которая необходима для приготовления блюда. Выполнение данного технологического приема позволит существенно сократить время приготовления продукта, а также улучшить его вкусовые качества (если игнорировать предварительный прогрев, края продукта могут получиться пересушенными).
Технику предварительного прогрева также можно применять в течении рабочего дня кухни, например, при максимальной загрузке аппарата. Следует напомнить, что выемку гастрономических емкостей из рабочей камеры печи необходимо осуществлять только при зафиксированной дверке (дверка фиксируется при открытии на 135 и больше градусов). Открытие дверцы приостанавливает работу нагревательных элементов пароконвектомата, но отсчет времени приготовления продукта при этом не останавливается (таймер продолжает работать).
2. Соблюдение правил загрузки и выгрузки пароконвектомата.
При расчете количества приготавливаемых блюд в пароконвектомате необходимо придерживаться правила золотой середины:
при плотной загрузке рабочей камеры возрастает общее время приготовления продуктов, а качество блюд при этом может не соответствовать желаемому.
при недостаточной загрузке становится очевидна нерациональность расхода электроэнергии.
Существуют определенные правила загрузки гастрономических емкостей в рабочую камеру пароконвектомата. Например, при одновременном приготовлении нескольких блюд, размещать противни необходимо от центра к бокам (поочередно на нижние и верхние ярусы). Загрузку пароконвектомата следует осуществлять оперативно, так как при открытой дверце существенно меняется температура и влажность в рабочей камере аппарата. После загрузки рабочей камеры проследите за тем, чтобы дверца аппарата закрылась правильно - не плотное прилегание может стать причиной нарушения теплового режима и технологии приготовления блюда.
Помните, что даже по окончании работы пароконвектомата температура внутри камеры продолжает оставаться достаточно высокой, поэтому дверца неэксплуатируемого оборудования должна быть обязательно закрыта.
3. Регулярная мойка рабочей камеры оборудования.
При интенсивной эксплуатации пароконвектомата его очистку и мойку следует производить ежедневно по окончанию работы оборудования. Некоторые модели пароконвектоматов оснащены режимом автоматической мойки, однако большинство пользователей отмечают нецелесообразность данной функции. Во-первых, это связано с большими расходами на приобретение специальных моющих средств для пароконвектоматов. Во-вторых, качество автоматической очистки оставляет желть лучшего – рабочую камеру все равно приходится домывать вручную.
Наиболее экономичным и практичным решением для мойки пароконвектомата является встроенный душ и жидкие моющие средства. Процедура очистки рабочей камеры пароконвектомата выглядит следующим образом:
для того, чтобы размягчить жировые отложения внутри рабочей камеры, включите аппарат в режиме «парообразования» на 10-15 минут;
обработайте стенки духовки специальным моющим средством, оставьте на 10 минут;
для смыва моющего раствора используете режим «парообразование».
если после такой процедуры остались загрязненные места, их следует очистить при помощи специальных щеток
просушка печи после мойки осуществляется с помощью режима «конвекции».
К очистке внешних поверхностей пароконвектомата следует приступать только после того, как аппарат будет отключен от сети электричества. Стоит отметить, что для этих целей запрещено использовать водяную струю.
Пароконвектоматы бойлерного типа также нуждаются в регулярной (один раз в месяц) очистке парогенератора от накипи и отложений, которая осуществляется путем промывки бойлера (наполнение и слив воды производится в несколько этапов).
Задание 2. Дайте определение термину конвекция
Задание 3. Назначение пароконвектомата и его преимущества
Задание 4. Заполнить таблицу 1. Подбор режимов тепловой обработки в пароконвектомате
|
Вид обработки |
Режим параконвектомата |
Температура ºС |
Особые примечания |
|
Выпекание изделий из дрожжевого теста |
|
|
|
|
Жарка порционных полуфабрикатов из мяса |
|
|
|
|
Жарка птицы в целом виде |
|
|
|
|
Варка на пару блюд из рыбы |
|
|
|
|
Варка на пару яиц всмятку |
|
|
|
|
Варка на пару картофеля |
|
|
|
|
Гриль |
|
|
|
|
Тушение овощей |
|
|
|
|
Разогрев вторых блюд |
|
|
|
Задание 6. Заполните таблицу 2. Правила эксплуатации пароконвектомата
|
Правила эксплуатации в начале работы |
Правила эксплуатации в процессе работы |
Правила эксплуатации по окончанию работы |
|
|
|
|
|
|
|
|
|
|
|
|
Практическая работа№9.
Тема: Изучение правил безопасной эксплуатации СВЧ-аппаратов
Цель работы: Освоить правила безопасной эксплуатации СВЧ-аппаратов.
Теоретические сведения
Микроволно́вая печь (также СВЧ) печь; устар. микрово́лновая[1]; разг. микроволно́вка) — электроприбор, позволяющий совершать разогрев водосодержащих веществ благодаря электромагнитному излучению дециметрового диапазона (обычно с частотой 2,450 ГГц) и предназначенный для быстрого приготовления, подогрева или размораживания пищи.
В отличие от классических печей (например, духовки или русской печи), разогрев пищи в СВЧ-печи происходит не только с поверхности разогреваемого тела, но и по его объёму, содержащему полярные молекулы (например, воды), так как радиоволны данной частоты проникают и поглощаются пищевыми продуктами примерно на 1,5 — 2,5 см по глубине от поверхности. Это сокращает время разогрева пищи; средняя скорость нагрева в СВЧ-печах составляет 0,3—0,5 °С в секунду.
Самые распространенные неисправности микроволновок:
Микроволновая печь при включении не греет. Неисправен высоковольтный конденсатор, диодный столбик, силовой трансформатор, термопредохранитель магнетрона, предохранитель в цепи высоковольтной обмотки трансформатора, конечные выключатели дверцы микроволновой печи.
Микроволновая печь греет, но быстро отключается. Неисправен термопредохранитель. Возможно он отключается при температуре более низкой, чем должен. Лечится заменой. Не работает вентилятор охлаждения магнетрона. Проверить цепи питания и при необходимости его заменить.
Микроволновая печь при включении не подает «признаков жизни». Проверьте предохранитель на плате фильтра питания, а также сам фильтр на наличие видимых повреждений
Правила эксплуатации микроволновой печи
Установка печи
Микроволновую печь можно устанавливать только на плоскую, ровную поверхность без наклонов. Надо учитывать, что поверхность должна будет выдерживать на протяжении всего времени эксплуатации не только вес печи, но и посуды и продуктов, которые будут находиться внутри.
Категорически не рекомендуется располагать аппарат вблизи источников тепла, в местах повышенной влажности и рядом с легковоспламеняющимися предметами.
Камера микроволновой печи должна иметь хорошую и постоянную вентиляцию. Это требуется для того, чтобы аппарат надежно работал. Поэтому нужно выбирать место с тем учетом, чтобы сверху оставалось около 20 см свободного пространства, сзади – примерно 10 см, а по бокам – не менее 5 см для доступа воздуха. Также для обеспечения беспрепятственного доступа воздуха ни в коем случае нельзя закрывать вентиляционные отверстия микроволновой печи какими-либо предметами.
Начинать работу микроволновой печи нельзя до тех пор, пока не будет известно, что вращающиеся ось, столик и основание установлены в соответствии с требованиями, сообщенными в инструкции.
Сетевой шнур аппарата не должен иметь повреждений, а также не должен соприкасаться с острыми или горячими поверхностями и попадать под печь.
Для того чтобы при возникновении неполадок в микроволновой печи аппарат можно было бы быстро обесточить, электрическая розетка должна располагаться в непосредственной близости от места установки печи.
Следует также помнить о том, что микроволновая печь не предназначена для использования на открытом воздухе.
Меры техники безопасности
- Нельзя включать пустую печь.
-Пepeд тeм, кaк включить CBЧ-пeчь oбязaтeльнo пpoвepьтe нaдeжнocть зaкpытия двepцы и paбoты зaщитнoй блoкиpoвки.
- Bceгдa oчищaйтe yплoтнeниe двepцы и cлeдитe зa oтcyтcтвиeм пoвpeждeний eё и нapyжнoгo кopпyca пeчи.
-Пpи oбнapyжeнии любoгo пoвpeждeния пeчи нaдo пpeкpaтить eё иcпoльзoвaниe и oтдaть cpoчнo в peмoнт. –
- He peкoмeндyeтcя cтoять pядoм c paбoтaющeй CBЧ-пeчью людям c ycтaнoвлeнными кapдиocтимyлятopaми, ecли нeт yвepeннocти в тoм, чтo пeчь иcпpaвнa и нeт yтeчки излyчeния.
- Heльзя paзpeшaть мaлeньким дeтям включaть пeчь.
- Heльзя включaть пycтyю CBЧ-пeчь, тaк кaк CBЧ-кoлeбaния мoгyт пoвpeдить внyтpeннюю кaмepy.
- Cлeдyeт в пeчи пocтoяннo ocтaвлять жapoycтoйчивyю пocyдy c вoдoй, нa cлyчaй нeпpeдвидeннoгo включeния.
- Bнимaтeльнo пpoвepяйтe, кaк плoтнo зaкpылacь двepцa, a кaждый paз пocлe paбoты пeчи нe зaбывaйтe oчищaть eё внyтpeннюю пoвepxнocть.
- He cлeдyeт пpиближaть лицo к включeннoй пeчи.
- Taк кaк CBЧ-излyчeниe нe пpoникaeт чepeз мeтaлл, тo нe иcпoльзyйтe мeтaлличecкyю пocyдy для гoтoвки пищи в микpoвoлнoвoй пeчи.
- Иcпoльзyйтe жapoпpoчнyю cтeкляннyю и кepaмичecкyю пocyдy. He peкoмeндyeтcя тaкжe пpимeнять пocyдy c зoлoтиcтoй и cepeбpиcтoй oтдeлкoй.
- Дocтaвaть из CBЧ-пeчи пocyдy cлeдyeт пpиxвaткaми или в cпeциaльныx pyкaвицax.
- Соблюдать осторожность при извлечении жидких продуктов (напитков), так как при разогреве они могут вскипеть.
- Исключить возможность разогрева жидкости или других продуктов, находящихся в герметичной упаковке, чтобы избежать взрыва.
- Следует ограничить приготовление продуктов в большом количестве масла, так как при закипании масло может разбрызгаться и повредить стенки камеры и посуду.
- Если у овощей или фруктов толстая кожура, ее следует предварительно проколоть ножом или вилкой.
- Не следует готовить в микроволновой печи яйца, так как они могут взорваться и повредить стенки камеры.
- После окончания работы при открывании дверцы следует находиться на расстоянии вытянутой руки от печи.
Техника безопасной эксплуатации:
Контрольные вопросы:
1. Назначение микроволновых печей
2. Их разновидности
3. Какие неисправности микроволновок вам известны?
4. Техника безопасной эксплуатации
КОС12
Тема 2.5.Универсальное и водогрейное оборудование
Устный опрос.
1. Расскажите по схеме принцип действия электрического кипятильника.
2. Какого типа бывают водонагреватели
3. Что такое водогрейное оборудование и какие его основные функции?
4. Какие виды водогрейных котлов существуют, и чем они отличаются?
5. Какие материалы используются для изготовления водогрейных котлов?
6. Какие факторы влияют на выбор мощности водогрейного котла?
7. Каковы особенности эксплуатации водогрейного оборудования в зависимости от климатических условий?
8. Какие требования предъявляются к обслуживанию и ремонту водогрейных котлов и как это связано с использованием универсального оборудования?
1. ·
КОС13
Тема 2.7.Оборудование для раздачи пищи
Устный опрос.
1.Что понимается под оборудованием для раздачи пищи?
2.Какие виды оборудования для раздачи пищи наиболее распространены в общественном питании?
3. Какие функции выполняет оборудование для раздачи пищи на кухне или в столовой?
5. Какое оборудование используется для поддержания температуры пищи при раздаче?
6.В чем заключается роль раздаточных линий и столов для подачи пищи?
7. Какие требования предъявляются к чистоте и санитарии при использовании оборудования для раздачи пищи?
8.Какое оборудование может помочь в поддержании необходимой температуры пищи на всех этапах раздачи?
Практическая работа№10.
Тема: Изучение правил безопасной эксплуатации оборудования для раздачи пищи
Цель: Изучить принцип действия и правила безопасной эксплуатации оборудования для раздачи пищи
Теоретические сведения
Оборудование для раздачи пищи на предприятиях общественного питания предназначено для кратковременного хранения и демонстрации продукции, хранении столовой посуды, комплектации обедов и их отпуска потребителям.
С целью улучшения обслуживания потребителей, повышения производительности труда и экономии производственных процессов, оборудование группируется, образуя линии комплектации и раздачи обедов.
Раздаточные линии комплектуются из различных видов оборудования: вспомогательного теплового, немеханического и транспортирующего.
К вспомогательному тепловому оборудованию относятся мармиты, тепловые шкафы, тепловые стойки и термостаты.
Главное их назначение - поддержание готовой продукции в горячем состоянии и ее кратковременное хранение.
К немеханическому оборудованию относятся столы для установки на них посуды, термостатов и контрольно-кассовых аппаратов.
К транспортирующему оборудованию линий раздачи относятся передвижные тележки для посуды и приборов.
В настоящее время выпускаются промышленностью или находятся в эксплуатации стационарные электрические мармиты следующих типов:
1. МСЭСМ-3, МСЭ-ЗК предназначены для кратковременного хранения первых блюд.
2. МСЭСМ-50, МСЭСМ-50К, МСЭСМ-55, МСЭСМ-60, МСЭСМ-80, МСЭСМ-110 предназначены для кратковременного хранения вторых блюд, гарниров, соусов и др. кулинарных изделий.
3. МСЭ-55, МСЭ55К, МС-80, МСЭ-80К, МСЭ-110, МСЭ-ПОК предназначены для кратковременного хранения вторых блюд в мармитницах и противней с несоусными блюдами в тепловом шкафу.
4. МСЭ-84 предназначен для кратковременного хранения в горячем состоянии супов, соусов, соусных блюд и гарниров
5. МНЭ-22, МНЭ-45 предназначены для кратковременного хранения первых и вторых блюд.
Устройство:
1.Сварная рамы, к которой крепятся каркас и два стола. Верхний стол имеет раздаточную полку, а нижний стол — три круглые электрические конфорки.
2. Четырехпозиционный переключатель – включает мармиты и регулирует мощность конфорок (установлен на панели управления).
3. Регулируемые ножки
4. Полка, жестко укрепленная на верхнем столе.
5. Розетка для подключения тепловых аппаратов (установлена на передней панели)
1. Перед работой с мармитом необходимо ознакомиться с элементами его управления, а также с инструкцией по эксплуатации.
2. Для разогрева конфорок до рабочей температуры необходимо установить ручки переключателей в положение 3 (сильный нагрев).
3. После разогрева конфорок ручки переключателей следует установить в положение 2 (средний нагрев) или 1 (слабый нагрев) согласно требованиям технологического режима.
4. Выключать конфорки следует за несколько минут до окончания работы.
Техника безопасности:
1. Обслуживающий персонал должен пройти специальное обучение и инструктаж по технике безопасности.
2. В процессе эксплуатации необходимо выполнять следующие требования:
· следить за исправностью заземляющего устройства;
· контролировать санитарно-техническое состояние мармита и при замеченных неисправностях отключать его от сети и вновь включать только после устранения всех неисправностей;
· категорически запрещается включать мармит в электрическую сеть без заземления и оставлять его без присмотра;
· не оставлять на длительное время конфорки, не загруженные продуктами;
· при проведении санитарной обработки или ремонта мармита нужно обязательно сначала отключить его от электросети.
3. Нужно следить за тем, чтобы на нагретые конфорки не попадала жидкость, так как при этом они могут потрескаться. Кроме того, жидкость может нарушить электроизоляцию конфорки.
Мармиты служат для поддержания в горячем состоянии (в пределах 55--80°С) непорционированных блюд и могут быть как раздельными для первых и вторых блюд, так и универсальными (т.е. для первых и вторых блюд одновременно), а также неподвижными или передвижными.
Мармиты обогреваются воздушными тэнами, которые при помощи электропроводов и штепсельного трехполюсного разъема подключаются к электрической сети.
Перед включением исправность защитного заземления проверяют путем определения надежности соединения заземляющего контура (провода) с болтом "Земля" на корпусе аппарата. Затем включают конфорки аппарата для подогрева наплитных котлов с первыми блюдами на максимальную мощность, устанавливая переключатель в положение "Сильный". После того как конфорка разогрелась, ее переключают на средний или слабый нагрев.
При работе продолжительное время на максимальной мощности срок службы конфорок снижается. Кроме того, при работе на максимальной мощности содержимое наплитных котлов будет перегреваться и даже кипеть, что ухудшает качество блюд. Незагруженные конфорки не следует оставлять включенными. Отключают конфорки за 15-- 20 мин до окончания порционирования блюд. Оба эти мероприятия не только приводят к экономии электроэнергии, но и снижают тепловыделение в окружающую среду.
Мармиты делятся на стационарные и передвижные. К стационарным относятся мармиты МСЭСМ, МСГСМ, МСЭ, а к передвижным -- МЭП, МП.
Мармиты стационарные электрические МСЭ-84М, МСЭ-84М-01 (см. ПРИЛОЖЕНИЕ рис. 2) используются для поддержания заданной температуры горячих первых, вторых блюд, соусов и гарниров, а также для их раздачи на предприятиях общественного питания.
Мармит МСЭ-84М устанавливается на металлоконструкцию технологической или раздаточной линии, мармит МСЭ-84М-01 -- на индивидуальную подставку, поставляемую совместно с мармитом.
Мармит представляет собой паровой поддон с парогенератором, вода в котором нагревается электронагревателем.
Емкости с горячей пищей устанавливаются в гнезда стола. Снаружи мармит закрыт облицовками.
Заданная температура в паровом поддоне поддерживается автоматически с помощью датчика-реле температуры, термобаллон которого установлен на стенке поддона.
Защита электронагревателя от работы при "сухом ходе" осуществляется с помощью другого датчика-реле температуры, термобаллон которого установлен на оболочке электронагревателя.
На панели управления имеются три лампы: первая сигнализирует о включении электронагревателя, вторая загорается при "сухом ходе", третья сигнализирует о готовности мармита к работе.
Правила эксплуатации мармитов
Перед началом работы проверяют техническое и санитарное состояние мармитов. Затем осматривают регулирующие устройства, приборы автоматики и проверяют исправность заземления. После этого ванны мармитов с водяным обогревом заполняют горячей водой и включают тэны в ванне и тепловом шкафу на сильный нагрев. При включении тэнов должна загореться сигнальная лампа. После достижения требуемой температуры мармит загружают и переводят работу тэнов на слабый нагрев.
По окончании работы мармиты отключают, затем сливают воду из ванны и конденсат из поддона. Ванну, поддон, наружные части мармита промывают теплой водой с мылом и протирают сухой тканью. Мармитницы промывают горячей водой и ошпаривают кипятком. Полки шкафа вынимают и протирают.
Ход работы
Задание 1. Ознакомиться с теоретическими сведеньями в учебной литературе
Задание 2.Заполните таблицу: Оборудование для раздачи пищи
|
вспомогательное |
тепловое |
немеханическое |
транспортирующие
|
|
|
|
|
|
|
|
|
|
|
|
|
|
|
|
|
|
|
|
|
Задание 3. Назначение мармитов
Задание 4. Опишите принцип работы мармитов.
Задание 5. Правила эксплуатации мармитов
Раздел 3 Холодильное оборудование
КОС 14
Тема 3. 1 Классификация холодильного оборудования
Устный опрос
КОС 15
Тема 3.2 Холодильные шкафы, холодильные камеры, холодильные прилавки и витрины
Устный опрос
Холодильные шкафы:
Холодильные камеры:
Холодильные прилавки:
Холодильные витрины:
Практическое занятие № 11
Тема: Изучение правил безопасной эксплуатации холодильного оборудования.
Цель: Изучить устройство, принцип работы, правила безопасной эксплуатации холодильного оборудования
Материальное оснащение: индивидуальные задания, учебная литература.
Теоретическая часть
Холодильные шкафы ШХ-0,4М, ШХ-0,6, ШХ-1,2, Т2-125Мпредназначены для хранения продуктов, полуфабрикатов и готовых блюд.
Холодильный шкаф состоит из охлаждаемой камеры и машинного отделения, которое расположено в нижней части. Корпус шкафа облицован снаружи покрашенной листовой сталью, а изнутри листовым алюминием. Между облицовками проложен слой теплоизоляции.
Холодильный шкаф имеет дверь с уплотнителем и запором. Внутри шкафа установлены полки для продуктов. Испаритель установлен в верхней части камеры, а холодильный герметичный агрегат внизу, в машинном отделении. Датчик-реле температуры регулирует автоматическую работу холодильной машины в пределах 1...3 °С.
На предприятиях общественного питания используют холодильные шкафы типа ШХ различных модификаций, которые отличаются друг от друга количеством дверей, вместимостью холодильных камер и некоторыми другими параметрами.


Холодильные шкафы типов: а - ШХ-0,4М,
б - ШХ-0,6, в - ШХ-1,2,
г - Т2-125М.
Техническая характеристика шкафов
|
Показатели |
Тип шкафа |
||||
|
Т-60М |
Т2-125М |
ШХ-0.4М |
ШХ- 0.6 |
ШХ- 1.12 |
|
|
Полезный объем, м3 |
0.6 |
1.25 |
0.4 |
0.6 |
1.2 |
|
Максимальная загрузка продуктами, кг. |
125 |
250 |
80 |
125 |
250 |
|
Стандартная хладопроизводительность холодильной машины, ккал/ч |
700 |
700 |
450 |
450 |
700 |
|
Размеры, мм |
|
|
|||
|
длина |
1210 |
1740 |
750 |
1200 |
2000 |
|
ширина |
855 |
855 |
755 |
800 |
800 |
|
высота |
1870 |
2160 |
1625 |
1900 |
1900 |
|
Масса, кг |
350 |
450 |
180 |
250 |
400 |
На небольших предприятиях общественного питания и в буфетах используют бытовые (домашние) холодильники, которые между собой по принципу работы аналогичны и различаются только по объему рабочих камер и габаритным размерам.
Правила эксплуатации холодильного о6орудоваиия.Холодильное о6орудование закрепляется за определенным работником, который следит за его правильной эксплуатацией и техническим состоянием. Не рекомендуется допускать перегрузки охлаждаемого объема продуктами, так как это ухудшает условия хранения.
В камеру охлаждения следует помещать продукты, температура которых не превышает температуры окружающей среды. Горячие продукты увеличивают влажность воздуха, что приводит к образованию на испарителе инея или льда. .
Категорически запрещается очищать испаритель инея ножом или скребком, так как это может нарушить герметичность системы.
Для создания надлежащего температурного режима хранения необходимо как можно реже открывать загрузочные двери, что - бы не допускать притока теплого воздуха. Холодильная камера должна быть заземлена, а токонесущие части холодильных машин закрыты защитным кожухом.
Необходимо периодически проводить санитарную обработку и текущий ремонт холодильного оборудования.
Техническое обслуживание холодильных агрегатов осуществляется механиком, в обязанности которого входят проверка системы охлаждения, регулировка приборов автоматики, проверка температурного режима, проведение мелкого текущего ремонта.
Компрессорные холодильные машинысостоят из следующих основных частей: испарителя, конденсатора, компрессора и регулирующего вентиля.

Схема компрессионной холодильной машины:
1 — испаритель; 2 — охлаждаемый объем; 3 — регулирующий вентиль; 4 —конденсатор; 5 — компрессор
Ход работы
Задание 1. Ознакомиться с теоретическими сведеньями, изучить схемы оборудования
Задание 2. Выпишите основные части и детали холодильных шкафов
Задание 3. Заполните таблицу «Основные части и детали компрессорной холодильной машины».
Таблица 1.
|
№ |
Основные части и детали |
Назначение |
|
1 |
|
|
|
4 |
|
|
|
3 |
|
|
|
4 |
|
|
Задание 4. Пользуясь правилами эксплуатации машины холодильного шкафа, составьте план подготовки машины к работе.
Задание 5. Пользуясь правилами эксплуатации холодильного шкафа, перечислите действия, выполняемые по окончанию работы.
Задание 6. Сравните холодильный шкаф ШХ-0,4М и ШХ-0,6, отличия запишите в тетрадь.
КОС 16
Тема 3.3Шкафы интенсивного охлаждения (шоковой заморозки) Льдогенераторы Тест
Вопрос 1. Что такое шкафы интенсивного охлаждения (шоковой заморозки)?
a) Оборудование для замораживания пищи при низкой
температуре в короткие сроки
b) Оборудование для охлаждения напитков до комнатной температуры
c) Оборудование для хранения замороженных продуктов
d) Оборудование для приготовления льда
Вопрос 2. Какую роль играет принцип шоковой заморозки в сохранении продуктов?
a) Ускоряет процесс охлаждения, улучшая текстуру и
сохранность продуктов
b) Замедляет процесс охлаждения для более равномерного замораживания
c) Охлаждает продукты до комнатной температуры
d) Увлажняет продукты, увеличивая срок их хранения
Вопрос 3. Каковы основные преимущества использования шкафов для шоковой заморозки?
a) Сохранение свежести и витаминов, улучшение вкусовых
качеств
b) Быстрое замораживание без потери массы и текстуры
c) Возможность заморозки только определенных продуктов
d) Уменьшение потерь при хранении замороженных продуктов
Вопрос 4. Какова основная задача льдогенератора?
a) Производить лед для использования в напитках или в
холодильных установках
b) Производить холодный воздух для охлаждения продуктов
c) Производить горячую воду для обработки продуктов
d) Использовать лед для хранения продуктов
Вопрос 5. Какие типы льдогенераторов существуют?
a) Кубиковый и пластинчатый
b) Трубчатый и блоковый
c) Поршневой и компрессионный
d) Воздушный и водяной
Вопрос 6. Какой тип льда производит кубиковый льдогенератор?
a) Кристаллические блоки льда
b) Лед в виде мелких кристаллов
c) Кубики льда стандартного размера
d) Лед в виде порошка
Вопрос 7. Что происходит при неправильной настройке температуры в шкафах интенсивного охлаждения?
a) Продукты могут терять свою текстуру, вкус и питательные
вещества
b) Продукты замораживаются слишком медленно
c) Продукты перегреваются и начинают портиться
d) Температура в камере остается стабильной
Вопрос 8. Какое преимущество имеют современные льдогенераторы по сравнению с устаревшими моделями?
a) Они могут производить лед за более короткое время и в
больших объемах
b) Они требуют меньше электроэнергии
c) Они имеют меньшие размеры и легче устанавливаются
d) Все вышеперечисленное
Вопрос 9. Какие продукты чаще всего подвергаются шоковой заморозке?
a) Молочные продукты
b) Фрукты, овощи, мясо и рыба
c) Замороженные пиццы
d) Хлеб и кондитерские изделия
Вопрос 10. Какова роль вентиляции в шкафах шоковой заморозки?
a) Помогает поддерживать стабильную температуру внутри шкафа
b) Ускоряет процесс замораживания
c) Охлаждает продукты быстрее
d) Все вышеупомянутое
Вопрос 11. Какую температуру обычно поддерживает шкаф для шоковой заморозки?
a) +5°C
b) 0°C
c) -18°C и ниже
d) +10°C
Вопрос 12. Какую роль играет тип хладагента в процессе работы льдогенератора?
a) Влияние на скорость образования льда и его качество
b) Он не имеет значения, так как используется только для охлаждения
c) Он влияет на вкус и запах льда
d) Хладагент регулирует форму льда
Вопрос 13. Какие из характеристик льдогенератора влияют на его производительность?
a) Размер и форма используемого хладагента
b) Температура окружающей среды
c) Объем производимого льда за единицу времени
d) Мощность охлаждающего компрессора
Вопрос 14. Для каких целей используется шоковая заморозка в промышленности?
a) Для ускоренного охлаждения напитков
b) Для замораживания продуктов на длительное хранение с минимальными потерями
качества
c) Для хранения мясных продуктов в морозильных камерах
d) Для очистки продуктов от влаги
Вопрос 15. Какой из факторов не влияет на эффективность работы льдогенератора?
a) Качество воды, используемой для производства льда
b) Количество холодильного газа в системе
c) Возраст и износ оборудования
d) Влажность воздуха в помещении
Ответы:
Практическое занятие № 12
Тема: Изучение правил безопасной эксплуатации шкафов шоковой заморозки
Цель: Изучить устройство, принцип работы, правила безопасной эксплуатации шкафов шоковой заморозки
Материальное оснащение: индивидуальные задания, учебная литература.
Теоретические сведенья
Шкаф шоковой заморозки ШОК-20-1/1 (далее - ШОК) предназначен длябыстрого охлаждения и замораживания различных пищевыхпродуктов-полуфабрикатов для дальнейшего их хранения.Главное отличие технологии шоковой заморозки от существующих методовохлаждения и заморозки продуктов - это высокая скорость охлаждения,позволяющая избежать размножения бактерий, и постоянный контрольтемпературы. При этом значительно снижаются потери массы продукта, образующиеся в результате испарения жидкости (усушки продукта), характерные для стандартных методов охлаждения. Сохраняются витамины и питательные вещества, пищевая ценность и вкусовые качества.
Эксплуатация аппарата допускается при температуре окружающего воздуха до плюс 42°С, относительной влажности от 40 до 70%.

Устройство и принцип работы изделия
Шкаф шоковой заморозки коробчатой формы. Между внутренней и наружной стенкой залита полиуретановая пена высокой плотности. Холодильный агрегат расположен сверху.
Для обеспечения теплоизоляции холодильного шкафа дверь снабжена уплотнителем с магнитной вставкой.
Внутри шкафа расположен воздухоохладитель с двумя вентиляторами, что обеспечивает равномерное распределение температуры внутри полезного объема.
В полезном объеме предусмотрены направляющие-решетки для укладки гастроемкостей GN 1/1 - 40 или противней 600х400 или 600х800 с продуктами
Шнур с вилкой, для подключения к сети, расположен в верхней части шкафа. Холодильный агрегат представляет собой заполненную хладагентом R 404А (R125-44%, R134а-4%, R143а-52%) замкнутую герметичную систему, состоящую из холодильного агрегата, испарителя и двух терморегулируемых вентилей.
Для постоянного измерения температуры в камере служит термочувствительный датчик, который закреплен на решетке вентилятора воздухоохладителя.
Работой холодильного агрегата управляет контроллер. Контроллер предназначен для поддержания заданной температуры в охлаждаемом объеме. При достижении заданной температуры в камере или по щупу (в зависимости от выбранного режима) контроллер отключает электродвигатель компрессора, при повышении температуры выше установленной - включает его. Контроллером предусмотренаоттайка испарителя, либо принудительная оттайка испарителя
Оттайка осуществляется горячим газом компрессора. Для удаления талой воды из испарителя предусмотрен дренажный шланг, который выводится через заднюю стенку шкафа в емкость для сбора и выпаривания воды. Порядок настройки контроллера указан в руководстве по эксплуатации цифровой панели управления.
Указание мер безопасности
По способу защиты человека от поражения электрическим током аппарат относится к 1 классу по ГОСТ МЭК 60335-1-2008.
К обслуживанию шкафа шоковой заморозки допускаются лица, прошедшие технический минимум по эксплуатации и технике безопасности при работах с холодильными установками и изучившими настоящее руководство по эксплуатации.
«ВНИМАНИЕ! Изделие не предназначено для использования лицами (включая детей) с пониженными физическими, психическими или умственными способностями, или при отсутствии у них опыта или знаний, если они не находятся под контролем или не проинструктированы об использовании изделия лицом, ответственным за их безопасность
При работе со шкафом шоковой заморозки необходимо соблюдать следующие правила техники безопасности:
- не включать аппарат без заземления (розетка должна иметь клемму заземления, подключенную к контуру заземления);
- санитарную обработку производить только при обесточенном холодильном шкафе, вынув вилку шнура питания из розетки;
- периодически проверять исправность электропроводки и заземляющего устройства;
- при обнаружении неисправностей вызывать электрослесаря;
- при повреждении шнура питания и замене светодиодного светильника (при его повреждении или перегораний), во избежание опасности, его должен заменить изготовитель или его агент, или аналогичное квалифицированное лицо;
- номинальное поперечное сечение шнура питания должно быть не менее марок ПВС-ВП 3х1,5-250-81-10-1,7;
- электропитание подключать через автоматический выключатель с комбинированной защитой типа ВАК 2-16 А/10 мА.
- если появятся какие-либо признаки ненормальной работы шкафа или обнаружатся неисправности в электрической части (нарушение изоляции проводов, обрыв заземляющего провода и др.), эксплуатирующему персоналу следует немедленно отключить шкаф от сети и вызвать механика.
- при обнаружении значительной утечки хладагента немедленно отключить шкаф шоковой заморозки, включить вентиляцию или открыть окна и двери для проветривания помещения, при этом запрещается курить и пользоваться открытым пламенем;
КАТЕГОРИЧЕСКИ ЗАПРЕЩАЕТСЯ ПЕРСОНАЛУ, ЭКСПЛУАТИРУЮЩЕМУ ШКАФ, ПРОИЗВОДИТЬ РЕМОНТ И РЕГУЛИРОВКУ ХОЛОДИЛЬНОЙ МАШИНЫ.
- включать шкаф шоковой заморозки только после устранения неисправностей;
«ВНИМАНИЕ! Все проводимые замены производить только после отключения шкафа от сети питания, вынув вилку шнура питания шкафа из розетки».
Если при включении выключателя «Сеть», не включается контроллер то возможно отсутствует напряжения в сети, неисправна вилка, либо питающий шнур неисправен контроллер,для устранения необходимопроверить напряжение в сети,проверить шнур с вилкой, при необходимости заменить или заменить контроллер.
Если электродвигатель агрегата не включается, контроллер работает, сигнальная лампа горит,то вероятно, неисправен агрегат. В этом случаенеобходимо заменить агрегат.
Еслиагрегат работает без останова, причиной может стать неисправеный контроллер или датчик температуры. Следуетпроверить контроллер и датчик температуры, при необходимости заменить.
В камере отсутствует оттайка.Нарушение в работе возникает при неисправном соленоидном клапанеоттайки. Для устранения неполадки следуетзаменить соленои
Задание 7. Назначение шкафа шоковой заморозки, преимущества в использовании.
Задание 8. Определите основные части и детали шкафаШОК-20-1/1 .
Задание 9. Определите правила эксплуатации шкафаШОК-20-1/1
Задание 10. Заполнить таблицу «Возможные неисправности, причины возникновения и способы их устранения»
Таблица 1. Возможные неисправности, причины возникновения и способы их устранения
|
№ |
Возможные неисправности |
причины возникновения |
способы их устранения |
|
1 |
|
|
|
|
2 |
|
|
|
|
3 |
|
|
|
|
4 |
|
|
|
Сделать вывод о проделанной работе
Раздел 4. Техническое оснащение процессов кулинарного и кондитерского производства
КОС 17
Тема 4.1. Организация и техническое оснащение процессов кулинарного и кондитерского производства и реализации готовой продукции в организациях питания
Тест
Вопрос 1. Что является основным фактором, определяющим организацию кулинарного производства в ресторане или кафе?
a) Количество сотрудников в кухне
b) Объем заказов и тип меню
c) Оборудование, используемое для приготовления пищи
d) Местоположение ресторана
Вопрос 2. Какую роль играют технологические карты в кулинарном производстве?
a) Обеспечивают стандартизацию рецептов и технологий
приготовления
b) Используются только для учета продуктов на складе
c) Определяют время работы персонала
d) Применяются для оформления меню
Вопрос 3. Что такое «кульнарное оборудование»?
a) Оборудование для хранения продуктов
b) Оборудование для упаковки готовой продукции
c) Оборудование, используемое для приготовления и обработки продуктов
d) Оборудование для оформления блюда
Вопрос 4. Какие основные типы оборудования используются в кулинарном производстве?
a) Печь, фритюрница, блендер
b) Печи, жарочные шкафы, холодильники
c) Холодильники, морозильники, стойки для сервировки
d) Миксеры, мясорубки, холодильники
Вопрос 5. Каковы особенности организации кондитерского производства в ресторане или кондитерской?
a) Отсутствие строгих санитарных норм
b) Требования к температурному режиму для работы с ингредиентами
c) Использование универсального оборудования для всех видов десертов
d) Необходимость в больших пространствах для хранения готовых изделий
Вопрос 6. Какие ключевые аспекты следует учитывать при проектировании кухни для кулинарного производства?
a) Размещение рабочих зон с учетом логики технологического
процесса
b) Использование только ручного труда для повышения качества продукции
c) Преобладание термической обработки продуктов
d) Создание привлекательного внешнего вида кухни для гостей
Вопрос 7. Какое оборудование используется для разделки мяса на кухне?
a) Блендеры и миксеры
b) Мясорубки и ножи для разделки
c) Оборудование для обжарки мяса
d) Секаторы и терки
Вопрос 8. Что такое "технологический процесс" в кулинарном производстве?
a) Учет всех расходов на продукты
b) Совокупность операций, используемых для приготовления блюд
c) Порядок оформления блюда для подачи гостям
d) Метод упаковки готовой продукции
Вопрос 9. Какие факторы необходимо учитывать при организации работы кондитерской в ресторане?
a) Освещенность и интерьер кондитерского отдела
b) Своевременность поставок свежих продуктов
c) Химическую безопасность ингредиентов
d) Все вышеперечисленное
Вопрос 10. Как правильно организовать реализацию готовой продукции в организации питания?
a) Все блюда должны подаваться сразу по мере готовности,
независимо от очередности
b) Блюда подаются только после завершения технологического процесса
c) Необходимо использовать специализированные контейнеры и упаковку для раздачи
d) Продукция должна подаваться только в холодном виде
Вопрос 11. Что такое "полуфабрикаты" на кухне ресторана или кафе?
a) Готовые блюда, подаваемые гостям
b) Продукты, которые прошли начальную обработку и требуют дополнительной
термической обработки
c) Ингредиенты для изготовления напитков
d) Пищевые добавки и специи
Вопрос 12. Какую роль в организации производства играет соблюдение санитарных норм?
a) Это не влияет на процесс, так как пища все равно
готовится
b) Соблюдение санитарных норм критически важно для обеспечения безопасности и
качества пищи
c) Санитарные нормы важны только для хранения продуктов
d) Соблюдение норм необходимо только для хранения готовых блюд
Вопрос 13. Какое оборудование используется в кондитерском производстве для замеса теста?
a) Миксеры и тестомесильные машины
b) Мельницы для муки
c) Печи для выпечки
d) Устройства для нарезки теста
Вопрос 14. Какой температурный режим необходим для хранения кондитерских изделий с кремом?
a) От -18°C до -22°C
b) От +5°C до +8°C
c) От +18°C до +20°C
d) От +3°C до +5°C
Вопрос 15. Какие методы упаковки применяются для готовой продукции в ресторане или кафе?
a) Открытая упаковка для удобства подачи
b) Индивидуальная упаковка для каждого блюда
c) Пластиковые контейнеры для замороженных продуктов
d) Упаковка зависит от типа блюда и способов его хранения (тепло или холод)
Ответы:
Практическое занятие №13
Тема: Решение ситуационных задач по техническому оснащению зон кухни, рабочих мест повара для различных технологических процессов
Цель работы: осуществлять подбор технологического оборудования и инвентаря, организовывать рабочее место повара для различных технологических процессов
Объем времени, отведенный на выполнение практической работы: 2часа.
Материально-техническое оснащение: индивидуальные задания.
ТЕОРЕТИЧЕСКИЙ МАТЕРИАЛ ПО ТЕМЕ ПРАКТИЧЕСКОЙ РАБОТЫ
На рабочем месте для приготовления салатов и винегретов используют ванны или стол со встроенной моечной ванной для промывки свежих овощей, зелени. Нарезают сырые и вареные овощи на разных разделочных досках с маркировкой «ОС» или «ОВ», применяя ножи поварской тройки. Для механизации нарезки овощей устанавливают универсальный привод со сменными механизмами. Рациональная организация рабочего места состоит из двух производственных столов: на одном столе нарезают овощи, смешивают компоненты и заправляют салаты и винегреты (это может быть обычный производственный стол), на другом столе порционируют и оформляют салаты и винегреты перед отпуском в торговый зал, для этой операции применяют секционные модулированные столы с охлаждаемым шкафом и горкой. На столе стоят настольные весы ВНЦ-2, справа ставят посуду с готовым салатом и мерный инвентарь для ее порционирования (ложки, лопатки, салатные приборы), слева - столовую посуду (салатники, закусочные тарелки). Здесь же производят оформление блюд. Перед оформлением салатов подготавливают продукты, используемые в качестве украшений (делают украшения из овощей, нарезают отварные яйца, помидоры, зелень петрушки, карбонат, лимоны и т. д.). Нарезка производится специальными инструментами и приспособлениями. Подготовленные продукты хранят в секциях охлаждаемой горки.
На рабочем месте для приготовления закусок из гастрономических продуктов нарезают, порционируют и оформляют блюда из мясных и рыбных продуктов (ассорти рыбное, мясное; колбасы, ветчина, балыки, сыр и др.). На рабочем месте ставят столы для малой механизации (слайсер для нарезки гастрономических продуктов). Для нарезки продуктов вручную используют гастрономические ножи. Для контроля за массой порций гастрономических продуктов используют весы ВНЦ-2.
На рабочем месте для обработки яиц устанавливается стол производственный с овоскопом для проверки качества яиц, 4 ванны для их санитарной обработки, подтоварник. Из инвентаря используются решѐтчатые металлические корзины, волосяные щѐтки.
В крупных цехах может выделяться помещение для боя яиц, где устанавливается устройство для отделения желтка от белка.
Просеивание муки осуществляется в отдельном помещении или кладовой суточного запаса сырья по соседству с отделением замеса теста. На этом рабочем месте в зависимости от мощности цеха устанавливают малогабаритное вибросито машину просеивательную или сменный механизм, работающий от универсального привода.
Для сбора просеянной муки используют полиэтиленовые бачки или передвижные дежи. Для мешков с мукой устанавливают подтоварник.
Рабочее место для подготовки других видов сырья оборудуется подтоварниками и стеллажами для хранения сырья, производственными столами, ванной с подачей горячей и холодной воды, холодильным шкафом.
Разнообразный характер выполняемых на данном месте работ требует укомплектования инвентарѐм и инструментами: грохот металлический М-1, дуршлаг, цедилки, шумовка, сита с ячейками различных размеров орехомолки, мельницы, весы, мерная посуда и т. д.
Рабочие места для приготовления дрожжевого, слоѐного, песочного теста могут быть совмещены, устанавливают тестомесительные машины, производственную раковину, производственный стол (в том случае, если нет помещения для подготовки продуктов). После замеса дрожжевого теста обеспечивают его созревание: дежи передвигают ближе к пекарским шкафам или оборудуют помещение для расстойки теста (Т= 30° - 35°С, влажность 85-90%).
Особенности приготовления бисквитного и заварного теста обуславливают тепловую обработку смесей и взбивание различных по составу масс. Поэтому на рабочем месте для приготовления этих видов теста устанавливают плиту электрическую, взбивальные машины.
Для приготовления заварного теста целесообразно применять машину кондитерскую универсальную МКУ –40, где тесто заваривается в пищеварочном котле, затем выливается в ѐмкости машины для охлаждения до температуры 65°–70°С и в той же ѐмкости после добавления яиц перемешивается крючкообразным сбивателем.
Рабочее место для разделки дрожжевого и песочного теста оборудуется производственными столами с деревянным покрытием и выдвижными ящиками для инвентаря; передвижными стеллажами; весами настольными. Для ускорения порционирования дрожжевого теста используют ручные тестоделители.
Изделия из песочного теста формуют при помощи фигурных выемок.
На рабочем месте по разделке и формовке изделий из слоѐного теста устанавливают производственные столы с деревянным покрытием, тестораскаточные машины, шкаф холодильный, передвижные стеллажи.
Вместо кондитерского стола может использоваться стол с охлаждением.
На рабочем месте по разделке и формовке бисквитного и заварного теста устанавливают кондитерские столы, передвижные стеллажи. Для отсадки пирожных типа «Буше» используют отсадочную машину «ХОВ», для отсадки заголовок из заварного теста используют машину МТО.
На участке выпечки изделий из различных видов теста устанавливают, пекарские шкафы, стеллажи для расстойки заготовок и охлаждения готовых изделий, стол производственный, на который укладывают листы с изделиями для смазывания их льезоном.
На участке приготовления отделочных полуфабрикатов устанавливают привод универсальный, стол производственный, плиту электрическую, ванну моечную и стеллаж для приготовления сиропов и помадки может использоваться машина кондитерская универсальная МКУ-40.
Для приготовления кремов обычно выделяется отдельное помещение, где устанавливаются взбивальные машины, холодильные шкафы, столы производственные и стеллажи.
Участок для отделки изделий оборудуется кондитерскими столами, передвижными стеллажами, охлаждаемыми шкафами (или столами с охлаждением).
В моечном отделении кондитерского цеха устанавливают ванну моечную с 2-3 отделениями и стеллажи.
Для стерилизации кондитерских мешков устанавливают стерилизатор.
АЛГОРИТМ ПО ВЫПОЛНЕНИЮ ПРАКТИЧЕСКОГО ЗАДАНИЯ
Методика выполнения задания:
Проанализирует описание рабочего места в соответствии с вариантом
|
Вариант |
Задание |
|
1 |
- Приготовление салатов, винегретов |
|
2 |
- Приготовления закусок из гастрономических продуктов |
|
3 |
- Рабочее место для обработки яиц |
Порядок оформления работы
Для составления отчета необходимо подобрать соответствующее оборудование и инвентарь, согласно рабочим зонам. Заполните таблицу 1.
Таблица1 - Подбор инвентаря и оборудования
|
Зона кухни |
Оборудование |
Инвентарь |
После окончания работы обучающиеся защищают работу, отвечая на контрольные вопросы.
КОНТРОЛЬНЫЕ ВОПРОСЫ
1.Как зависит скорость приготовления продукции поваром от рациональной организации рабочего места?
2.Для каких технологических операций обязательно должны быть предусмотрены отдельные помещения?
3.Почему для построения технологических линий используют секционно- модулированное оборудование?
4.Что означает обозначение «ОС» на инвентаре?
Контрольно-оценочные средства промежуточной аттестации
1. Промежуточная аттестация в форме дифференцированного зачета
Министерство просвещения ПМР
ГОУ СПО «Каменский политехнический техникум им. И.С. Солтыса»
|
Рассмотрено на заседании ЦМК профессионального цикла пищевого и технического профиля Протокол №____ от «____»________20___ г. Председатель ЦМК ___________В.Н. Нигдорий |
Утверждаю Зам. директора УР
_______ Е.К. Ватаман «_____»________20__г |
Материалы
дифференцированного зачёта
Дисциплина: ОП.03 «Техническое оснащение организаций питания»
Зачет проводится в __ группе
Специальность: 43.02.15 «Поварское и кондитерское дело»
Аудитория: ____
Преподаватель профессионального цикла Д.А. Евстратий
Согласовано
Методист
________Е.В. Вылко
«___»________20__г.
Каменка,20__г
ОП.03 «Техническое оснащение организаций питания»
Специальность: 43.02.15 «Поварское и кондитерское дело»
для обучающихся II курса.
Инструкция: Внимательно прочитайте вопросы по дисциплине «Техническое оснащение организаций питания», отвечайте только после того, как вы поняли вопрос и проанализировали его, выполняйте задания в том порядке, в котором они даны, если какое- то задание вызывает у вас затруднение - пропустите его и постарайтесь выполнить те, в ответах на которые вы уверены.
Ф.И.О._________________________________________________________________
Вариант 1.
1.Классифицируйте технологические операции машин по степени автоматизации.__________________________________________________________________________________________________________________________________2.Перечислите виды машин для обработки овощей и картофеля.______________________________________________________________________________________________________________________________________________________________________________________________________________
3.Расшифруйте маркировку машины: МРО- 200. М -; Р -; О - ;200 -________________________________________________________________________________________________________________________________________________
4.Какую поверхность имеет рабочая поверхность картофелеочистительной машины?
а) покрытую съемными абразивными сегментами;
б) гладкую;
в) покрытую несъемными сегментами.
5.Назовите рабочие органы мясорубки.
а) рабочий вал с лопастями;
б) шнек;
в) абразив.
6.Расшифруйте маркировку аппарата ШЖЭСМ 2К. ________________________________________________________________________________________________________________________________________________
7.Классификация теплового оборудования____________________________________________________________________________________________________________________________________________________________________________________________________________
8.Перечислите механическое оборудование в холодном отделении._______________________________________________________________________________________________________________________________________________________________________________________________________________
9.Принцип действия мясорыхлительной машины МРМ-15 ________________________________________________________________________________________________________________________________________________________________________________________________________________________
10. Перечислите машины для обработки мяса. ________________________________________________________________________________________________________________________________________________
11. Опишите правила эксплуатации и безопасности при работе картофелеочистительной машины ________________________________________________________________________________________________________________________________________________________________________________________________________________________________________________________________________________________________
12. Что такое хладагент? Характеристика хладоагентов? ________________________________________________________________________________________________________________________________________________________________________________________________________________________
13.Что является нагревательными элементами в пищеварочном котле:
а) тены;
б) пароводяная рубашка;
в) манометр.
14. Расшифруй те маркировку технологического оборудования МСЭСМ – 3 ________________________________________________________________________________________________________________________________________________15.Расшифруйте маркировку машины МОК – 800. ________________________________________________________________________________________________________________________________________________
16. Ассортимент выпускаемой продукции специализируемых предприятий.
а) разнообразные блюда,
б) различные полуфабрикаты;
в) продукция из определенного вида сырья
17. Перечислите способы охлаждения ________________________________________________________________________
18. Перечислить основные части и детали машин ________________________________________________________________________________________________________________________________________________
19. Дайте определение .Что такое машина ? ________________________________________________________________________________________________________________________________________________
20. Какова температура в низкотемпературных холодильных шкафах?
а) +4…+6 ОС
б) -13 ОС
в) -36 ОС
ОП.03 «Техническое оснащение организаций питания»
Специальность: 43.02.15 «Поварское и кондитерское дело»
для обучающихся II курса.
Инструкция: Внимательно прочитайте вопросы по дисциплине «Техническое оснащение организаций питания», отвечайте только после того, как вы поняли вопрос и проанализировали его, выполняйте задания в том порядке, в котором они даны, если какое- то задание вызывает у вас затруднение - пропустите его и постарайтесь выполнить те, в ответах на которые вы уверены.
Ф.И.О._________________________________________________________________
Вариант 2.
1.Дать определение понятию «Рабочие органы машины». ________________________________________________________________________________________________________________________________________________
2.Перечислить машины для подготовки кондитерского сырья . ________________________________________________________________________________________________________________________________________________________________________________________________________________________
3 Правила эксплуатации электрических плит. ________________________________________________________________________________________________________________________________________________________________________________________________________________________________________________________________________________________________________________________________________________________________________
4.Что является нагревательными элементами в пищеварочном котле.
а) тены;
б) пароводяная рубашка;
в) манометр.
5. Рабочие органы в тестомесильной машине. а) дежа;
б) рычаг месильный;
в) электродвигатель.
6.Расшифруйте маркировку аппарата СЭСМ – 0,2. ________________________________________________________________________________________________________________________________________________
7. Дать определение понятию «Универсальные приводы ». Преимущество универсальных приводов. ________________________________________________________________________________________________________________________________________________________________________________________________________________________
8.Перечислить виды аппаратов для жарки и выпечки. ________________________________________________________________________________________________________________________________________________
9. Правила эксплуатации фритюрницы ФЭСМ-______________________________________________________________________________________________________________________________________________________________________________________________________________________________________________________________________________________________________________________________________________________________________________________________________________________________________________________
10.Перечислить виды холодильного оборудования. __________________________________________________________________________________________________________________________________________________11. Что является рабочим органом в машине РО-1М
а) скребок
б) шнек
в) фрезы
12. Указать, какая техническая документация выдаётся на каждую машину:
а) Эксплуатационная документация
б) Ремонтная документация.
в) Паспорт
13.Что является рабочей камерой в взбивальной машине:
а) бачок;
б) сменные взбиватели;
в) электродвигатель.
14.Расшифруйте маркировку машины ШЖЭСМ-2К . ________________________________________________________________________________________________________________________________________________
15.Перечислить машины для обработки теста и полуфабрикатов. ________________________________________________________________________________________________________________________________________________________________________________________________________________________
16. Дайте объяснение калибровки картофеля для очистительной машины:
а) для большей загрузки в рабочую камеру;
б) для равномерной очистки;
в) для быстрой загрузки.
17.Правила эксплуатации холодильного оборудования.__________________________________________________________________________________________________________________________________________________________________________________________________________________________________________________________________________________________________________________________________________________________
18. Принцип действия теплового аппарата КПЭ – 60. ________________________________________________________________________________________________________________________________________________________________________________________________________________________________________________________________________________________________
19. Дайте расшифровку машине КВЭ-7 _______________________________________________________________________
20. Дайте расшифровку машине КНЭ-_______________________________________________________________________
Ответы 1 вариант
1.Неавтоматические, полуавтоматические, автоматические.
2.Очистительные, сортировочные, моечные, резательные, протирочные.
3.М – машина; Р – резательная; О – овощей; 200 – кг в час.
4.а).
5.в)
6.Ш – шкаф; Ж – жарочный; Э –электрический; С – секционный М -модулированный; 2К – 2 камеры.
7. Тепловое оборудование для обработки продуктов классифицируется по следующим основным признакам: способу обогрева, технологическому назначению, источникам тепла.
По способу обогрева оборудование делится на оборудование с непосредственным и косвенным обогревом.
По технологическому назначению тепло-вое оборудование делится на универсальное (эл.плита) и специализированные (кофеварка, пекарский шкаф).
По источникам тепла тепловое оборудование делится на электрическое, газовое, огневое и паровое.
Тепловые аппараты можно еще классифицировать по принципу действия — непрерывного и периодического действия.
По степени автоматизации тепловые аппараты подразделяются на не-автоматизированные и автоматизированные.
8.Универсальные приводы, хлеборезки, слейдер гастрономических изделий, ручной маслоделитель; холодильное оборудование.
9. После включения машины, куски мяса, нарезанные на порции, опускаются в загрузочную воронку и захватываются вращающимися навстречу друг другу валиками с фрезами. Проходя между фрезами, кусок мяса надрезается с двух сторон их зубьями, при этом происходит разрушение волокон и увеличение поверхности.
10.Мясорубки, фаршемешалки, мясорыхлители, котлетоформовочные машины, универсальные приводы.
11. Проверка санитарного и технического состояния машины, открыть кран подачи воды в загрузочную камеру, проверка работы машины на « холостом ходу», загрузка машины картофелем, контролировать работу машины, по окончанию работы отключить машину, произвести санитарную обработку.
12. Хладоагент представляет собой химическое вещество, предназначенное для отвода тепла от охлаждаемой среды. В настоящее время широко применяются холодильные агенты аммиак и фреон-22.
13.а)
14.М- мармит; С- стационарный; Э- электрический; С- секционный; М –модульный; 3- конфорки.
15. М – машина; О – очистительная; К – картофеля; 800 – кг в час
16.в).
17.Леденое, льдосоленое , охлаждение сухим льдом.
18. Станина, корпус машины, рабочая камера, рабочие органы, передаточный механизм.
19. Машина – это совокупность механизмов , выполняющих определённую работу или преобразующих один вид энергии в другой.
20. б).
Ответы 2 вариант
1.Рабочие органы машины - это узлы и детали, непосредственно воздействующие на продукты питания в процессе их переработки.
2. Изюмомоечная машина, машины для обработки яиц, кофемолки, протирочная машина, ореходробилка ,темперирующая машина, молотковая дробилка.
3. Проверка технического и санитарного состояния плиты.
Включить плиту и установить переключатели в положение «3» (сильный нагрев), после нагрева переключают на нужную температуру.
Систематически контролировать ведение тепловой обработки продукции.
По окончанию работы выключить все конфорки и шкаф, отключить плиту.
После остывания произвести санитарную обработку плиты.
4. а)
5. б)
6. С – сковорода; Э – электрическая; С – секционная; М – модулированная; 0,2 – площадь пода чаши.
7. Универсальным приводом называется устройство состоящее из электродвигателя с редуктором и имеющее приспособление для переменного подсоединения различных сменных механизмов. Он состоит из электродвигателя с редуктором, на котором могут закрепляться и попеременно работать различные по назначению съемные механизмы: мясорубка, взбивалка, овощерезка, мясорыхлитель и другие сменные механизмы. Отсюда привод получил свое название - "универсальный".
8. Электрические сковороды, фритюрницы, жарочные и пекарные шкафы, жарочные шкафы, жаровня вращающаяся, кондитерская электрическая печь.
9. Перед началом работы проверяют санитарное и техническое состояние фритюрниц. После осмотра закрывают сливной кран и заливают ванную жиром до отметки на стенке ванны. После включения фритюрницы и загорания желтой сигнальной лампочки полуфабрикаты заложенные в корзину осторожно опускают в ванную для жаренья. Потом корзину с готовыми продуктами вынимают из ванны и вешают на скобу для стекания излишков жира в ванну. После окончания работы фритюрницу отключают, а остывший жир сливают через сливной кран в бачок и проводят санитарную обработку. 10.Холодильные шкафы, холодильные прилавки и витрины, сборно – разборные камеры, средне - и низкотемпературные холодильные камеры, льдогенераторы.
11.а).
12. а)
13.а).
14. Ш- шкаф; Ж-жарочный; Э- электрический; С- секционно;
М –модулированный ; 2- камерный.
15. Тестомесильная машина, просейватель, тестороскаточная машина, взбивальная машина , тесто делитель.
16.б)
17.Не допускать перегрузки холодильного оборудования. Не ставить горячую продукцию. Периодически производить санитарную обработку оборудования. Не очищать испаритель механически, только размораживание.
18. Варка происходит при атмосферном давлении в двух режимах за счет нагревания содержимого котла электрическими тэнами.
19. Кофеварка электрическая 7л/ч
20. Кипятильник непрерывного действия электрический 25 л/ч
Критерии оценки тестовых знаний:
Оценивание заданий происходит из расчёта за каждый правильный ответ – 1 балл.
Максимальная оценка заданий – 20 баллов.
Оценка «5»(отлично) ставится за 20 б – 16 б выполненных заданий (90%-100%)
Оценка «4» (хорошо) ставится за 15б – 11 б выполненных заданий (80%-89%)
Оценка «3» (удовлетворительно) ставится за 10 б - 8 б выполненных заданий (70%-79%)
Оценка «2» (неудовлетворительно) ставится за менее 7 б выполненных заданий (менее 70%)
Скачано с www.znanio.ru
Материалы на данной страницы взяты из открытых источников либо размещены пользователем в соответствии с договором-офертой сайта. Вы можете сообщить о нарушении.