Министерство образования, науки и молодежной политики Краснодарского края
Государственное бюджетное профессиональное образовательное учреждение
Краснодарского края
«Армавирский механико – технологический техникум»
Методическое пособие
для проведения
практического занятия №2
на тему:
«РЕЖИМЫ ДВИЖЕНИЯ ЖИДКОСТИ. РЕШЕНИЕ ЗАДАЧ НА УРАВНЕНИЕ БЕРНУЛЛИ»
по дисциплине: «Основы гидравлики, теплотехники и аэродинамики»
для студентов 3 курса
спец. 08.02.07 очного отделения
Разработал преподаватель: Е.В. Игнатова
|
|
|
2021
1 ЦЕЛЬ РАБОТЫ:
- уяснение физического смысла уравнения Бернулли;
- построение пьезометрической и напорной линий для трубопровода переменного сечения.
2 ДЛЯ ЗАЧЕТА РАБОТЫ НЕОБХОДИМО:
1. Повторить теоретические положения по теме практической работы.
2. Начертить схему лабораторной установки.
3. Записать основные формулы для расчета.
4. Оформить итоговую таблицу с результатами опытов и вычислений.
5. Ответить на контрольные вопросы.
3 КРАТКОЕ ИЗЛОЖЕНИЕ ТЕОРЕТИЧЕСКОГО МАТЕРИАЛА
Уравнение Бернулли является основным в механике жидкости и газа. Оно широко используется при исследовании различных теоретических вопросов и решении практических задач, связанных с движением жидкости и газа.
Уравнение Бернулли устанавливает зависимость между скоростью и давлением в различных сечениях элементарной струйки или потока жидкости. Обычно уравнение Бернулли записывается для двух сечений струйки или потока и при установившемся движении жидкости имеет следующий вид:
а) для элементарной струйки идеальной жидкости
(1)
б) для элементарной струйки реальной жидкости
(2)
в) для потока реальной жидкости
(3)
где z – высота положения или геометрический напор, м;
p/g или
– пьезометрическая высота или пьезометрический напор,
отвечающий давлению p в данной точке, м;
– скоростная высота или скоростной напор, м;
u – местная скорость элементарной струйки, м/c;
– средняя скорость потока, м/с;
a–коэффициент Кориолиса или коэффициент кинетической энергии, учитывающий неравномерность распределения скоростей по живому сечению потока (для ламинарного режима течения в круглой трубе a = 2, для турбулентного – a = 1,045–1,1);
суммарная потеря напора при движении жидкости на всем
рассматриваемом участке, м.
Пьезометрический напор
или
представляет собой высоту столба жидкости в пьезометре,
подключенном к рассматриваемому живому сечению струйки или потока.
Скоростной
напор
представляет собой высоту, с которой в пустоте должно
свободно (без начальной скорости) упасть тело, чтобы в конце пути падения
приобрести скорость v.
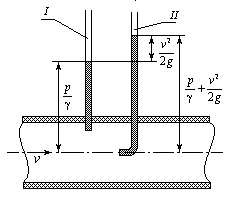
Для определения скоростного напора часто используется трубка Пито-Прандтля. Этот прибор состоит из двух трубок (рис.1). Одна из них является обычным пьезометром I, другая II изогнута под прямым углом и открыта с обоих концов.

Рисунок 1 Трубка Пито-Прандтля
Изогнутая трубка устанавливается нижним концом навстречу
течению жидкости. Уровень жидкости в вертикальной части изогнутой трубки будет
выше уровня в пьезометре на величину скоростного напора
.
Геометрический смысл уравнения легко уяснить при изучении
движения жидкости в трубе, изображенной на схеме (рис.2). На ней выделены
участки потока сечениями 1-1 и 2-2; 2-2 и 3-3. Центры тяжести сечений
расположены от плоскости сравнения 0-0 на расстоянии, соответственно
равном z1, z2 и z3.
Отложим вертикально от центра тяжести сечения 1-1 пьезометрическую высоту
и скоростную высоту
, то же самое выполним для сечений 2-2,
3-3.
Кривая, соединяющая верхние концы суммы трех указанных вертикальных отрезков, называется напорной линией, а сумма трех высот – полным (гидродинамическим) напором.
(4)
Для идеальной жидкости H=const. Следовательно,
напорная линия H-H будет параллельна плоскости сравнения 0-0.
При движении же реальной жидкости гидродинамический напор вдоль потока
уменьшается, так как часть напора
затрачивается на преодоление сопротивлений движению.
Таким образом, кривая H-H1 является
нисходящей линией. Кривая P-P1, соединяющая вершины сумм
двух вертикальных отрезков
есть пьезометрическая линия.

Рисунок 2 Построение пьезометрической и напорной линий
Пьезометрическая линия может быть как восходящей, так и нисходящей.
Каждый из членов уравнения Бернулли имеет определенный физический смысл:
z – удельная потенциальная энергия положения;
или
– удельная потенциальная энергия давления;
– удельная потенциальная энергия;
– удельная кинетическая энергия.
Удельной называется энергия, отнесенная к единице веса жидкости.
Сумма трех членов характеризует собой полную удельную энергию жидкости в рассматриваемом сечении потока:
(5)
Геометрический, пьезометрический, скоростной и полный напоры являются мерой соответствующих видов удельной энергии жидкости. Тогда для потери энергии на участке между сечениями 1-1 и 2-2 можно записать:
(6)
Из выражения (6) можно сделать вывод, что уменьшение полной удельной энергии потока жидкости на участке обусловливается наличием гидравлических сопротивлений. На преодоление этих сопротивлений затрачивается часть полной удельной энергии, которая переходит при этом в тепловую энергию.
Уравнение Бернулли есть частное выражение всеобщего закона сохранения и превращения энергии, из которого следует, что увеличение какой-либо составляющей полного напора (например, скоростного напора) приводит к уменьшению другой составляющей (например, пьезометрического напора) и наоборот. Полный напор по длине потока уменьшается вследствие перехода части механической энергии потока в теплоту.
4 ОПИСАНИЕ ОПЫТОЙ УСТАНОВКИ
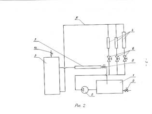
Гидравлическая схема стенда представлена на рис. 3. Вода из бака питания (1) с помощью насоса (2) закачивается в напорный бак (3) через параллельно соединенные ротаметры (4) и напорную магистраль (5).
Исследуемый модуль с одной стороны соединяется с напорным баком, а с другой стороны соединяется с краном (8), с помощью которого изменяется режим течения, кран (9) служит для слива и наполнения воды в бак питателя. Кран (10) служит для выпуска воздуха из напорного бака.
Модуль представляет собой круглую трубу (7) (рис. 4), состоящую из нескольких последовательно соединенных между собой участков постоянного и переменного сечения. В характерных сечениях трубопровода через штуцеры (ш.1, ш.2,…) установлены пьезометры. Все пьезометры выведены на щит. Расход жидкости определяется с помощью ротаметров 4 (рис. 3), каждый из которых предназначен на определенный диапазон расходов, указанный на приборах.

Рисунок 3

Рисунок 4
5 ПОРЯДОК ВЫПОЛНЕНИЯ РАБОТЫ
Для выполнения работы следует освободить зажим на воздуховыпускной трубке (10) (рис. 3) и, пустив насос включателем, выждать несколько минут пока наполнится напорный бак (3) (рис. 3), о чем будет свидетельствовать появление потока воды из трубки (10). Тогда следует зажать эту трубку зажимом и, чуть приоткрыв вентиль (8), установить расход с помощью ротаметра №3.
Наблюдая за столбиками воды в пьезометрах, убедиться, что достигнут установившийся режим течения и произвести измерения:
1. измерить расход с помощью ротаметра №3.
2. зафиксировать показания пьезометров (рис. 4) ш1, ш3, ш4, ш8, ш11 в протоколе.
3. изменить с помощью ротаметра №3 величину расхода и после достижения установившегося режима повторить измерения.
4. провести опыты для 3-х, 4-х расходов.
5. закончив измерения, закрыть вентиль №8 и вентиль ротаметра №3.
6 ОБРАБОТКА ОПЫТНЫХ ДАННЫХ
В эксперименте получены следующие значения измеряемых величин:
Расход Q=0,345·10-3 м3/c
Длина участков: L1= 305 мм, L2= 500 мм.
Пьезометрические напоры в выбранных сечениях: 21,6м для диаметров 20мм, 18,3м для диаметра 9мм, 19,3м для диаметра 19мм
Ход работы
1. Площадь сечения трубопровода диаметрами 9мм, 19мм, 20мм
![]()
2. Вычислить среднюю скорость в каждом сечении трубы, м/с
![]()
3.
Скоростные напоры
(принять α = 1).
=
=
=
4. По показаниям пьезометров и значениям скоростных напоров подсчитывается полная удельная энергия в сечениях как сумма (т.к. труба горизонтальна, то плоскость сравнения примем совпадающей с осью трубы, тогда z = 0)
,
где
– удельная механическая энергия в сечениях потока.
5. По разности полных удельных энергий в сечениях определяются потери энергии (напора) между ними. Все данные вычислений заносятся в таблицу
|
Наименование величины |
сеч. ш1 d= 20мм |
сеч. ш3 d= 20мм |
сеч. ш4 d = 9мм |
сеч. ш8 d = 19мм |
сеч. ш11 d = 20мм |
|
Расход Q, м3/c |
|||||
|
Пьезометрический
напор |
|||||
|
Площадь
сечения |
|||||
|
Ср. скорость u, м/c |
|||||
|
Скоростной
напор |
|||||
|
Полная удельная энергия Е |
|||||
|
Потери напора h, м |
6. По показаниям пьезометров, откладывая их значения от оси трубы, построить пьезометрическую линию.
7. Суммируя скоростные напоры с ординатами пьезометрической линии в соответствующих сечениях, провести линию энергии.
8. Провести напорную плоскость (горизонтальную прямую) на уровне ординаты линии энергии первого пьезометра и обозначить потери напора (энергии) между этим сечением и любым, расположенном ниже по течению.
9. Объяснить получившуюся конфигурацию энергетических графиков.
5 КОНТРОЛЬНЫЕ ВОПРОСЫ
1. В чем заключается физический смысл уравнения Бернулли?
2. Как измеряется скоростной напор?
3. Как определяется средняя скорость течения жидкости?
4. Как изменяются скорость и давление потока в трубе переменного сечения?
ЛИТЕРАТУРА
1. А.В. Лепешкин, А.А. Михайлин Гидравлические и пневматичексие системы. – М.: Издательский центр «Академия», 2014.
2. О.Н.Брюханов, В.А.Жила Основы гидравлики, теплотехники и аэродинамики. - М.: Инфра-М, 2010.
3. Калицун В. И. Гидравлика, водоснабжение и канализация – М.: Стройиздат, 2000
4.
Материалы на данной страницы взяты из открытых источников либо размещены пользователем в соответствии с договором-офертой сайта. Вы можете сообщить о нарушении.